LEMON Manuals: Even more car manuals for everyone: 1960-2025
Home >> Lexus >> 2007 >> SC 430 >> Repair and Diagnosis >> Engine Mechanical >> Lubrication System >> Lubrication >> Oil Pump >> Components
April 5, 2026: LEMON Manuals is launched! Read the announcement.

Oil Pump: Components

Fig 1: Oil Pump Replacement Components With Torque Specifications (1 Of 5)
G05289381Courtesy of © TOYOTA, LICENSE AGREEMENT TMS1002
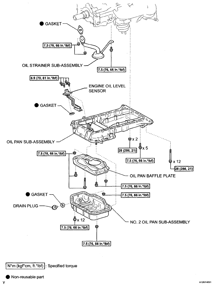
Fig 2: Oil Pump Replacement Components With Torque Specifications (2 Of 5)
G05289382Courtesy of © TOYOTA, LICENSE AGREEMENT TMS1002
Fig 3: Oil Pump Replacement Components With Torque Specifications (3 Of 5)
G05289383Courtesy of © TOYOTA, LICENSE AGREEMENT TMS1002
Fig 4: Oil Pump Replacement Components With Torque Specifications (4 Of 5)
G05289384Courtesy of © TOYOTA, LICENSE AGREEMENT TMS1002
Fig 5: Oil Pump Replacement Components With Torque Specifications (5 Of 5)
G05289385Courtesy of © TOYOTA, LICENSE AGREEMENT TMS1002