LEMON Manuals: Even more car manuals for everyone: 1960-2025
Home >> Lexus >> 2007 >> SC 430 >> Repair and Diagnosis >> Engine Performance >> Engine Control System >> Fuel Pump Relay >> On-Vehicle Inspection
April 5, 2026: LEMON Manuals is launched! Read the announcement.

On-Vehicle Inspection

  1. DISCONNECT CABLE FROM NEGATIVE BATTERY TERMINAL 
    CAUTION: Wait at least 90 seconds after disconnecting the cable from the negative (-) battery terminal to prevent airbag and seat belt pretensioner activation.
  2. INSPECT FUEL PUMP RELAY (Marking: F/PMP) 
    1. Remove the engine room No. 2 relay block cover.
    2. Remove the fuel pump from the engine room No. 2 junction block.
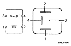
    3. Inspect the resistance of the fuel pump relay.

      Standard resistance 

      TERMINAL SPECIFIED CONDITION REFERENCE CHART

      Terminal No. Specified Condition
      1 - 2 63 to 91 Ω
      3 - 4 Below 10 kΩ or higher (when battery voltage is applied to terminals 1 and 2)
    4. Reinstall the fuel pump relay to the engine room No. 2 junction block.
    5. Reinstall the engine room No. 2 relay block cover.
      Fig 1: Inspecting Fuel Pump Relay
      G05291619Courtesy of © TOYOTA, LICENSE AGREEMENT TMS1002
  3. CONNECT CABLE TO NEGATIVE BATTERY TERMINAL 
  4. PERFORM INITIALIZATION 
    1. Perform initialization (see INITIALIZATION ).
      NOTE: Certain systems need to be initialized after disconnecting and reconnecting the cable from the negative (-) battery terminal.