LEMON Manuals: Even more car manuals for everyone: 1960-2025
Home >> Lexus >> 2007 >> SC 430 >> Repair and Diagnosis >> Engine Performance >> Engine Control System >> SFI System >> DTC P0230 Fuel Pump Primary Circuit >> Inspection Procedure
April 5, 2026: LEMON Manuals is launched! Read the announcement.

Inspection Procedure

HINT:

This troubleshooting procedure is based on the premise that the engine is started. If the engine is not started, proceed to the PROBLEM SYMPTOMS TABLE  .

  1. CHECK ECM (FPR VOLTAGE) 
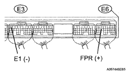
    1. Measure the voltage of the ECM connectors.
      Fig 1: Identifying E3 And E6 ECM Connector Terminals
      G05291390Courtesy of © TOYOTA, LICENSE AGREEMENT TMS1002

      Standard voltage 

      TESTER CONNECTION SPECIFIED CONDITION CHART

      Tester Connection Condition Specified Condition
      E6-15 (FPR) - E3-7 (E1) STA signal ON 9 to 14 V
      E6-15 (FPR) - E3-7 (E1) STA signal OFF 0 to 3 V

    NG: REPLACE ECM 

    OK: Go to next step 

  2. INSPECT FUEL PUMP RELAY (Marking: F/PMP) 
    Fig 2: Inspecting Fuel Pump Relay
    G05291391Courtesy of © TOYOTA, LICENSE AGREEMENT TMS1002
    1. Remove the fuel pump relay from the engine room No. 2 relay block.
    2. Measure the resistance of the fuel pump relay.

      Standard resistance 

      TESTER CONNECTION SPECIFIED CONDITION CHART

      Tester Connection Specified Condition
      3 - 4 Below 1 Ω
      3 - 4 10 kΩ or higher (when battery voltage is applied to terminals 1 and 2)

    NG: REPLACE FUEL PUMP RELAY 

    OK: Go to next step 

  3. CHECK WIRE HARNESS (FUEL PUMP RELAY (Marking: F/PMP) - ECM) 
    1. Remove the fuel pump relay from the engine room No. 2 relay block.
    2. Disconnect the E6 ECM connector.
      Fig 3: Disconnecting E6 ECM Connector Terminals
      G05291392Courtesy of © TOYOTA, LICENSE AGREEMENT TMS1002
    3. Measure the resistance of the wire harness side connectors.

      Standard resistance 

      TESTER CONNECTION SPECIFIED CONDITION CHART

      Tester Connection Specified Condition
      Relay block fuel pump relay terminal 1 - E6-15 (FPR) Below 1 Ω
      Relay block fuel pump relay terminal 1 or E6-15 (FPR) - Body Ground 10 kΩ or higher

    NG: REPAIR OR REPLACE HARNESS AND CONNECTOR 

    OK: REPLACE ECM