LEMON Manuals: Even more car manuals for everyone: 1960-2025
Home >> Lexus >> 2007 >> SC 430 >> Repair and Diagnosis >> Engine Performance >> Engine Control System >> SFI System >> ECM Power Source Circuit >> Inspection Procedure
April 5, 2026: LEMON Manuals is launched! Read the announcement.

Inspection Procedure

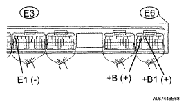
  1. CHECK ECM (+B, +B1 VOLTAGE) 
    1. Turn the ignition switch ON.
    2. Measure the voltage of the ECM connectors.
      Fig 1: Identifying E3 And E6 ECM Connector Terminals
      G05291534Courtesy of © TOYOTA, LICENSE AGREEMENT TMS1002

      Standard voltage 

      TESTER CONNECTION SPECIFIED CONDITION CHART

      Tester Connection Specified Condition
      E6-6 (+B) - E3-7 (E1) 9 to 14 V
      E6-5 (+B1) - E3-7 (E1) 9 to 14 V

    OK: PROCEED TO NEXT CIRCUIT INSPECTION SHOWN IN PROBLEM SYMPTOMS TABLE 

    NG: Go to next step 

  2. CHECK WIRE HARNESS (ECM - BODY GROUND) 
    1. Disconnect the E3 ECM connector.
      Fig 2: Disconnecting E3 ECM Connector Terminals
      G05291535Courtesy of © TOYOTA, LICENSE AGREEMENT TMS1002
    2. Measure the resistance of the wire harness side connector.

      Standard resistance 

      TESTER CONNECTION SPECIFIED CONDITION CHART

      Tester Connection Specified Condition
      E3-7 (E1) - Body ground Below 1 Ω

    NG: REPAIR OR REPLACE HARNESS AND CONNECTOR 

    OK: Go to next step 

  3. CHECK ECM (IGSW VOLTAGE) 
    1. Turn the ignition switch ON.
    2. Measure the voltage of the ECM connectors.
      Fig 3: Identifying E3 And E6 ECM Connector Terminals
      G05291536Courtesy of © TOYOTA, LICENSE AGREEMENT TMS1002

      Standard voltage 

      TESTER CONNECTION SPECIFIED CONDITION CHART

      Tester Connection Specified Condition
      E6-17 (IGSW) - E3-7 (E1) 9 to 14 V

    OK: Go to step  8

    NG: Go to next step 

  4. INSPECT FUSE (IGN) 
    Fig 4: Inspecting IGN Fuse
    G05291537Courtesy of © TOYOTA, LICENSE AGREEMENT TMS1002
    1. Remove the IGN fuse from the engine room No. 2 relay block.
    2. Measure the resistance of the IGN fuse.

      Standard resistance: 

      Below 1 Ω 

    NG: CHECK FOR SHORT IN ALL HARNESSES AND CONNECTORS CONNECTED TO FUSE AND REPLACE FUSE 

    OK: Go to next step 

  5. INSPECT RELAY (Marking: IG2) 
    Fig 5: Inspecting IG2 Relay
    G05291538Courtesy of © TOYOTA, LICENSE AGREEMENT TMS1002
    1. Remove the IG2 relay from the engine room No. 1 relay block.
    2. Measure the resistance of the IG2 relay.

      Standard resistance 

      TESTER CONNECTION SPECIFIED CONDITION CHART

      Tester Connection Specified Condition
      3 - 5 10 kΩ or higher
      3 - 5 Below 1 Ω (when battery voltage is applied to terminals 1 and 2)

    NG: REPLACE IG2 RELAY 

    OK: Go to next step 

  6. INSPECT IGNITION SWITCH 
    1. Disconnect the I18 ignition switch connector.
      Fig 6: Identifying Ignition Switch Connector Terminals
      G05291539Courtesy of © TOYOTA, LICENSE AGREEMENT TMS1002
    2. Measure the resistance of the ignition switch.

      Standard resistance 

      TESTER CONNECTION SPECIFIED CONDITION CHART

      Tester Connection Switch Condition Specified Condition
      6 (IG2) - 7 (AM2) LOCK 10 kΩ or higher
      6 (IG2) - 7 (AM2) ON Below 1 Ω

    NG: REPAIR OR REPLACE IGNITION SWITCH 

    OK: Go to next step 

  7. CHECK ECM (MREL VOLTAGE) 
    1. Turn the ignition switch ON.
    2. Measure the voltage of the ECM connectors.
      Fig 7: Identifying E3 And E6 ECM Connector Terminals
      G05291540Courtesy of © TOYOTA, LICENSE AGREEMENT TMS1002

      Standard voltage 

      TESTER CONNECTION SPECIFIED CONDITION CHART

      Tester Connection Specified Condition
      E6-13 (MREL) - E3-7 (E1) 9 to 14 V

    NG: REPLACE ECM 

    OK: Go to next step 

  8. INSPECT FUSE (EFI) 
    Fig 8: Inspecting EFI Fuse
    G05291541Courtesy of © TOYOTA, LICENSE AGREEMENT TMS1002
    1. Remove the EFI fuse from the engine room No. 1 relay block and junction block.
    2. Measure the resistance of the EFI fuse.

      Standard resistance: 

      Below 1 Ω 

    NG: REPLACE EFI RELAY 

    OK: Go to next step 

  9. INSPECT EFI RELAY (Marking: EFI) 
    Fig 9: Inspecting EFI Relay
    G05291542Courtesy of © TOYOTA, LICENSE AGREEMENT TMS1002
    1. Remove the EFI relay from the engine room No. 2 relay block.
    2. Measure the resistance of the EFI relay.

      Standard resistance 

      TESTER CONNECTION SPECIFIED CONDITION CHART

      Tester Connection Specified Condition
      3 - 5 10 kΩ or higher
      3 - 5 Below 1 Ω (when battery voltage is applied to terminals 1 and 2)

    NG: REPAIR OR REPLACE HARNESS AND CONNECTOR 

    OK: Go to next step 

  10. CHECK WIRE HARNESS (EFI RELAY (Marking: EFI) - ECM AND BODY GROUND) 
    1. Check the wire harness between the EFI relay and ECM.
      1. Remove the EFI relay from the engine room No. 2 relay block.
      2. Disconnect the E6 ECM connector.
        Fig 10: Disconnecting E6 ECM Connector Terminals
        G05291543Courtesy of © TOYOTA, LICENSE AGREEMENT TMS1002
      3. Measure the resistance of the wire harness side connectors.

        Standard resistance 

        TESTER CONNECTION SPECIFIED CONDITION CHART

        Tester Connection Specified Condition
        Relay block EFI relay terminal 2 - E6-13 (MREL) Below 1 Ω
        Relay block EFI relay terminal 2 or E6-13 (MREL) - Body ground 10 kΩ or higher
    2. Check the wire harness between the EFI relay and body ground.
      1. Remove the EFI relay from the engine room No. 2 relay block.
      2. Measure the resistance of the wire harness side connectors.

        Standard resistance 

        TESTER CONNECTION SPECIFIED CONDITION CHART

        Tester Connection Specified Condition
        Relay block EFI relay terminal 1 - Body ground Below 1 Ω

    NG: REPAIR OR REPLACE HARNESS AND CONNECTOR 

    OK: REPAIR OR REPLACE HARNESS AND CONNECTOR (TERMINAL +B OF ECM - POSITIVE (+) BATTERY TERMINAL)