Automatic Transmission Unit: Reassembly
- BEARING POSITION
Bearing Position
BEARING POSITION REFERENCE CHARTMark Front Race Diameter Inside/Outside Thrust Bearing Diameter Inside/Outside Rear Race Diameter Inside/Outside A 74.2 mm (2.921 in.) / 87.74 mm (3.454 in.) 71.9 mm (2.831 in.) / 85.6 mm (3.370 In.) - B 38.0 mm (1.496 in.) / 57.0 mm (2.244 in.) 43.4 mm (1.709 in.) / 58.3 mm (2.295 in.) - C - 55.7 mm (2.193 in.) / 76.4 mm (3.008 in.) - D - - 53.7 mm (2.114 in.) / 74.0 mm (2.913 in.) E 33.4 mm (1.315 in.) / 49.0 mm (1.929 in.) 32.1 mm (1.264 in.) / 49.35 mm (1.943 in.) 32.1 mm (1.264 in.)/49.0 mm (1.929 in.) F - 21.5 mm (0.847 in.) / 40.8 mm (1.606 in.) - G - 43.6 mm (1.717 in.) / 61.0 mm (2.402 in.) 47.1 mm (1.854 in.) / 67.1 mm (2.642 in.) H 37 mm (1.45 in.)/52.3 mm (2.059 in.) 34.6 mm (1.362 in.) / 52.0 mm (2.047 in.) - I 36.9 mm (1.453 in.) / 49.7 mm (1.957 in.) 36.1 mm (1.421 in.) / 52.5 mm (2.067 in.) 36.1 mm (1.421 in.)/51.0 mm (2.007 in.) - INSTALL NO. 4 BRAKE PISTON
- Coat 2 new O-rings with ATF, and install them to the brake reaction sleeve.
- Coat 2 new O-rings with ATF, and install them to the brake piston.
- Install the brake piston to the reaction sleeve.NOTE: Do not damage the O-rings.
- INSTALL BRAKE REACTION SLEEVE
- Coat a new O-ring with ATF, and install it to the reaction sleeve.
- Install the brake reaction sleeve and the No. 4 brake piston to the transmission case.
- INSTALL 1st AND REVERSE BRAKE PISTON
- Coat a new O-ring with ATF.
- Install the O-ring on the 1st and reverse brake piston.
- With the spring seat of the piston facing upwards (the front side), place the piston in the transmission case.NOTE: Do not damage the O-ring.
- Place the brake return spring onto the No. 4 brake piston.
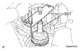
- INSTALL 1st AND REVERSE BRAKE RETURN SPRING SUB-ASSEMBLY
- Place SST on the brake return spring, and compress the return spring.
SST 09350-30020 (09350-07050)
- Using SST, install the snap ring.
SST 09350-30020 (09350-07070)
- Install the brake apply tube with its protruding part fitting into the groove of the transmission case as shown in the illustration.NOTE: Engage the 1st and reverse brake piston claw with the protrusion of the brake apply tube.
- Place SST on the brake return spring, and compress the return spring.
- INSTALL REAR PLANETARY GEAR ASSEMBLY
- Install the No. 9 thrust bearing race.
Standard race diameter
ITEM REFERENCE CHARTItem Inside Outside Thrust bearing race 47.1 mm (1.854 in.) 67.1 mm (2.642 in.) - Install the 2 thrust needle roller bearings.
Standard thrust needle roller bearing diameter
ITEM REFERENCE CHARTItem Inside Outside Bearing A 21.5 mm (0.847 in.) 40.8 mm (1.606 in.) Bearing B 43.6 mm (1.717 in.) 61.0 mm (2.402 in.) - Install the rear planetary gear assembly.
- Install the No. 9 thrust bearing race.
- INSPECT PACK CLEARANCE OF 1st AND REVERSE BRAKE PISTON (See INSPECTION )
- INSTALL NO. 4 BRAKE DISC
- Install the sleeve, 4 plates, 4 discs and flange.
Install in order: S-P-D-P-D-P-D-P-D-F
HINT:
S = Sleeve
P = Plate
D = Disc
F = Flange
- Install the sleeve, 4 plates, 4 discs and flange.
- INSTALL BRAKE PLATE STOPPER SPRING
- Install the brake plate stopper spring.
- INSTALL REAR PLANETARY RING GEAR FLANGE SUB-ASSEMBLY
- Install the No. 8 thrust bearing race, the thrust needle roller bearing, the No. 7 thrust bearing race and the planetary ring gear flange to the intermediate shaft.Fig 13: Identifying No. 8 Thrust Bearing Race, Thrust Needle Roller Bearing And No. 7 Thrust Bearing Race
Courtesy of © TOYOTA, LICENSE AGREEMENT TMS1002
Standard bearing and race diameter
ITEM REFERENCE CHARTItem Inside Outside No. 7 thrust bearing race 33.4 mm (1.315 in.) 49.0 mm (1.929 in.) Thrust needle roller bearing 32.1 mm (1.264 in.) 49.35 mm (1.943 in.) No. 8 thrust bearing race 32.1 mm (1.264 in.) 49.0 mm (1.929 in.)
- Install the No. 8 thrust bearing race, the thrust needle roller bearing, the No. 7 thrust bearing race and the planetary ring gear flange to the intermediate shaft.
- INSTALL NO. 3 1-WAY CLUTCH ASSEMBLY
- Install the 1-way clutch assembly and the 1-way clutch inner race to the intermediate shaft.
- INSTALL INTERMEDIATE SHAFT
- Install the intermediate shaft with the No. 3 1-way clutch assembly to the transmission case.
- Using SST, install the snap ring.
SST 09350-30020 (09350-07060)
- INSTALL CENTER PLANETARY GEAR ASSEMBLY
- INSTALL NO. 2 BRAKE PISTON
- Coat 2 new O-rings with ATF, and install them to the brake piston.
- Being careful not to damage the O-rings, press the brake piston into the brake cylinder.
- Install the brake piston to the transmission case.
HINT:
Install the brake cylinder so that the projection protrudes from the upper side of the transmission case.
- Check that the oil pressure apply hole of the brake cylinder aligns with the oil pressure apply hole of the transmission case.
- INSTALL NO. 2 BRAKE DISC
- Install the brake piston return spring, 2 flanges, 4 discs and 3 plates.
Install in order: F-D-P-D-P-D-P-D-F
HINT:
F = Flange
P = Plate
D = Disc
- Using SST and a press, compress the spring and install the No. 2 brake spring snap ring.
SST 09351 -40010 (09351 -04010, 09351 -04020, 09351-04040, 09351-04050)
- Install the brake piston return spring, 2 flanges, 4 discs and 3 plates.
- INSPECT NO. 2 PISTON STROKE OF BRAKE PISTON (See INSPECTION )
- INSTALL NO. 1 BRAKE PISTON
- Coat 2 new O-rings with ATF, and install them on the brake piston.
- Being careful not to damage the O-rings, press the brake piston into the brake cylinder.
- INSTALL BRAKE PISTON RETURN SPRING SUB-ASSEMBLY
- Install the brake piston return spring and the No. 1 brake piston with the No. 1 brake cylinder to the transmission case.
HINT:
Install the No. 1 brake cylinder so that the projection protrudes from the upper side of the transmission case.
- Check that the oil pressure apply hole of the No. 1 brake cylinder aligns with the oil pressure apply hole of the transmission case.
- Install the brake piston return spring and the No. 1 brake piston with the No. 1 brake cylinder to the transmission case.
- INSTALL BRAKE PISTON RETURN SPRING SNAP RING
- Using SST and a press, compress the spring and install the brake piston return spring snap ring.
Courtesy of © TOYOTA, LICENSE AGREEMENT TMS1002
SST 09351-40010 (09351-04010, 09351-04030, 09351-04040, 09351-04050)
- Using SST and a press, compress the spring and install the brake piston return spring snap ring.
- INSTALL CENTER PLANETARY RING GEAR
- Install the thrust needle roller bearing to the front planetary ring gear flange.
Standard thrust needle roller bearing diameter
ITEM REFERENCE CHARTItem Inside Outside Thrust needle roller bearing 55.7 mm (2.193 in.) 76.4 mm (3.008 in.) - Install the center planetary ring gear and front planetary ring gear flange on the front planetary ring gear.
- Using a screwdriver, install the snap ring.NOTE: Install the snap ring to the ring gear so that both ends of the snap ring come to the center of a protrusion on the ring gear.
- Install the thrust needle roller bearing to the front planetary ring gear flange.
- INSTALL FRONT PLANETARY RING GEAR
- Install the front planetary ring gear to the transmission case.
- INSTALL FRONT PLANETARY GEAR ASSEMBLY
- Install the thrust needle roller bearing and thrust washer.
- Coat the thrust bearing race with petroleum jelly, and install it onto the front planetary ring gear.
Standard thrust needle roller bearing and race diameter
ITEM REFERENCE CHARTItem Inside Outside Bearing 43.4 mm (1.709 in.) 58.3 mm (2.295 in.) Race 38.0 mm (1.496 in.) 57.0 mm (2.244 in.) - Install the front planetary gear assembly and the 1-way clutch inner race to the transmission case.
- INSPECT NO. 1 PISTON STROKE OF BRAKE PISTON (See INSPECTION )
- INSTALL NO. 1 BRAKE DISC
- Install the flange, 3 discs and 3 plates.
Install in order: F-D-P-D-P-D-P
HINT:
F = Flange
P = Plate
D = Disc
- Install the flange, 3 discs and 3 plates.
- INSTALL 2nd BRAKE PISTON
- Coat 2 new O-rings with ATF, and install them to the 2nd brake piston.
- Being careful not to damage the O-rings, press the 2nd brake piston into the 2nd brake cylinder.
- Using SST and a press, install the return spring with the snap ring.
SST 09351 -40010 (09351 -04060, 09351 -04070)
NOTE: Be sure that the end gap of the snap ring is not aligned with the spring retainer claw.
- INSTALL 2nd BRAKE CYLINDER
- Install the 2nd brake cylinder to the transmission case.
- Check that the oil pressure apply hole of the brake cylinder aligns with the oil pressure apply hole of the transmission case.
- INSTALL 1-WAY CLUTCH ASSEMBLY
- Install the 1-way clutch and thrust washer to the transmission case.
- INSTALL 2nd BRAKE PISTON HOLE SNAP RING
- Using SST, install the snap ring.
SST 09350-30020 (09350-07060)
- Using SST, install the snap ring.
- INSTALL 2nd BRAKE DISC SET
- Install the cushion plate, 4 plates, 4 discs and flange to the transmission case.
Install in order: C-P-D-P-D-P-D-P-D-F
HINT:
C = Cushion plate
P = Plate
D = Disc
F = Flange
- Install the cushion plate, 4 plates, 4 discs and flange to the transmission case.
- INSTALL NO. 3 BRAKE SNAP RING
- Using a screwdriver, install the snap ring.
- INSTALL NO. 2 1-WAY CLUTCH ASSEMBLY
- Install the 1-way clutch and washer to the clutch drum and input shaft.
- INSTALL CLUTCH DRUM AND INPUT SHAFT
- Install the thrust needle roller bearings and thrust washer.
- Coat the race with petroleum jelly and install it onto the clutch drum and input shaft.
Standard thrust needle roller bearing and race diameter
Courtesy of © TOYOTA, LICENSE AGREEMENT TMS1002
ITEM REFERENCE CHARTItem Inside Outside Thrust needle roller bearing A 71.9 mm (2.831 in.) 85.6 mm (3.370 in.) Thrust needle roller bearing B 34.6 mm (1.362 in.) 52.0 mm (2.047 in.) Bearing Race 37.0 mm (1.457 in.) 52.3 mm (2.059 in.) - Install the clutch drum and input shaft onto the transmission case.
- INSTALL OIL PUMP ASSEMBLY
- Install the No. 1 thrust bearing race to the front oil pump.
Standard thrust bearing race diameter
ITEM REFERENCE CHARTItem Inside Outside Race 74.2 mm (2.921 in.) 87.74 mm (3.454 in.) - Coat a new O-ring with ATF, and install it around the oil pump.
- Place the oil pump through the input shaft, and align the bolt holes of the oil pump with the transmission case.
- Hold the input shaft, and lightly press the oil pump body to slide the oil seal rings into the overdrive direct clutch drum.
- Install the 10 bolts.
Torque: 21 N*m (214 kgf*cm, 15 ft.*lbf)
- Install the No. 1 thrust bearing race to the front oil pump.
- INSTALL MANUAL VALVE LEVER SHAFT OIL SEAL
- Using SST and a hammer, tap in 2 new oil seals.
SST 09350-30020 (09350-07110)
- Coat the lip of the oil seals with MP grease.
- Using SST and a hammer, tap in 2 new oil seals.
- INSPECT INDIVIDUAL PISTON OPERATION (See INSPECTION )
- INSTALL MANUAL VALVE LEVER SUB-ASSEMBLY
- Install a new spacer to the manual valve lever.
- Install the manual valve lever shaft to the transmission case through the manual valve lever.
- Using a hammer, drive in a new spring pin.
- Align the manual valve lever indentation with the spacer hole, and stake them together with a punch.
- Make sure that the shaft rotates smoothly.
- INSTALL PARKING LOCK PAWL SHAFT
- Install the E-ring to the shaft.
- Install the parking lock pawl, shaft and spring.
- INSTALL PARKING LOCK ROD SUB-ASSEMBLY
- Connect the parking lock rod to the manual valve lever.
- INSTALL PARKING LOCK PAWL BRACKET
- Place the parking lock pawl bracket onto the transmission case and tighten the 3 bolts.
Torque: 7.4 N*m (75 kgf*cm, 65 in.*lbf)
- Shift the manual valve lever to the P position, and confirm that the planetary gear is correctly locked up by the lock pawl.
- Place the parking lock pawl bracket onto the transmission case and tighten the 3 bolts.
- INSTALL B-1 ACCUMULATOR VALVE
- Install the 2 springs and accumulator valve to the hole.
Standard B-1 accumulator spring
Inner spring:
SPRING REFERENCE CHARTFree Length Outer Diameter Color 44.98 mm (1.7709 in.) 11.30 mm (0.445 in.) Not colored Outer spring:
SPRING REFERENCE CHARTFree Length Outer Diameter Color 46.36 mm (1.8252 in.) 17.10 mm (0.6732 in.) Not colored
- Install the 2 springs and accumulator valve to the hole.
- INSTALL C-3 ACCUMULATOR PISTON
- Coat 2 new O-rings with ATF, and install them to the piston.
- Install the 2 springs and accumulator piston to the hole.
Standard C-3 accumulator spring
Inner spring:
SPRING REFERENCE CHARTFree Length Outer Diameter Color 44.0 mm (1.732 in.) 14.0 mm (0.551 in.) Yellow Outer spring:
SPRING REFERENCE CHARTFree Length Outer Diameter Color 76.65 mm (3.0178 in.) 20.10 mm (0.7913 in.) Not colored
- INSTALL B-3 ACCUMULATOR PISTON
- INSTALL C-2 ACCUMULATOR PISTON
- INSTALL CHECK BALL BODY
- Install the check ball body and spring.
- INSTALL BRAKE DRUM GASKET
- Install the 3 brake drum gaskets.
- INSTALL TRANSMISSION CASE GASKET
- Install the 3 transmission case gaskets.
- INSTALL TRANSMISSION VALVE BODY ASSEMBLY
- Align the groove of the manual valve lever with the pin of the manual valve and install the pin.
- Install the 20 bolts.
Torque: 11 N*m (110 kgf*cm, 8 ft.*lbf)
HINT:
Each bolt length is indicated below.
Bolt length:
25 mm (0.98 in.) for bolt A
36 mm (1.42 in.) for bolt B
45 mm (1.77 in.) for bolt C
50 mm (1.97 in.) for bolt D
- Install the detent spring and detent spring cover with the bolt.
Torque: 10 N*m (102 kgf*cm, 7 ft.*lbf)
- INSTALL TRANSMISSION WIRE
- Install a new O-ring to the transmission wire.
- Install the transmission wire with the bolt.
- Install the bolt.
Torque: 5.4 N*m (55 kgf*cm, 48 in.*lbf)
- Connect the 9 solenoid connectors to the solenoid valves.
- Install the 2 clamps with the 2 bolts.
Torque: 6.4 N*m (65 kgf*cm, 57 in.*lbf) for bolt A
10 N*m (102 kgf*cm, 7 ft.*lbf) for bolt B
- Install the ATF temperature sensor and lock plate with the bolt.
Torque: 10 N*m (102 kgf*cm, 7 ft.*lbf)
- INSTALL VALVE BODY OIL STRAINER ASSEMBLY
- Coat a new O-ring with ATF, and install it to the valve body oil strainer.
- Install the oil strainer with the 4 bolts.
Torque: 10 N*m (102 kgf*cm, 7 ft.*lbf)
- INSTALL TRANSMISSION OIL CLEANER MAGNET
- Install the 3 transmission oil cleaner magnets.
- INSTALL AUTOMATIC TRANSMISSION OIL PAN SUB-ASSEMBLY
- Install a new gasket on the oil pan.
- Install and tighten the 20 bolts.
Torque: 4.4 N*m (45 kgf*cm, 39 in.*lbf)
- Install a new gasket and the drain plug.
Torque: 20 N*m (204 kgf*cm, 15 ft.*lbf)
- Install a new gasket and the overflow plug.
Torque: 20 N*m (204 kgf*cm, 15 ft.*lbf)
- INSTALL AUTOMATIC TRANSMISSION EXTENSION HOUSING OIL SEAL
- Using SST and a hammer, tap in a new oil seal to the extension housing.
SST 09309-37010
Standard oil seal depth: 1.8 to 2.2 mm (0.07 to 0.09 in.)
- Using SST and a hammer, tap in a new oil seal to the extension housing.
- INSTALL TRANSMISSION CASE ADAPTOR RADIAL BALL BEARING
- INSTALL REAR COVER SLEEVE
- Install the 2 washers and rear cover sleeve to the output shaft.
- INSTALL EXTENSION HOUSING SUB-ASSEMBLY
- Install the thrust needle roller bearing and 2 bearing races.
- Using a snap ring expander, install a new snap ring.
- Using a feeler gauge, measure the clearance between the snap ring and race.
Standard clearance: 0.02 to 0.12 mm (0.0008 to 0.0047 in.)
If the clearance is not as specified, select another race that brings the clearance within the standard.
HINT:
There are 12 different thicknesses for the race.
Courtesy of © TOYOTA, LICENSE AGREEMENT TMS1002
Standard flange thickness
THICKNESS REFERENCE CHARTNo. Thickness No. Thickness 1 3.80 mm (0.1496 in.) 7 4.10 mm (0.1614 in.) 2 3.85 mm (0.1516 in.) 8 4.15 mm (0.1634 in.) 3 3.90 mm (0.1535 in.) 9 4.20 mm (0.1653 in.) 4 3.95 mm (0.1555 in.) 10 4.25 mm (0.1673 in.) 5 4.00 mm (0.1575 in.) 11 4.30 mm (0.1693 in.) 6 4.05 mm (0.1594 in.) 12 4.35 mm (0.1713 in.) - Clean the threads of the bolts and the case with non-residue solvent.
- Apply seal packing to the extension housing as shown in the illustration.
Seal packing: Toyota Genuine Seal Packing 1281, Three Bond 1281 or Equivalent
- Install the extension housing with the 6 bolts.
Torque: 34 N*m (347 kgf*cm, 25 ft.*lbf)
HINT:
Each bolt length is indicated below.
Bolt length:
45 mm (1.772 mm) for bolt A
35 mm (1.378 mm) for bolt B
- INSTALL AUTOMATIC TRANSMISSION FLANGE YOKE ASSEMBLY
- Using SST, install a new oil seal to the automatic transmission flange yoke.
SST 09517-36010
- Using SST and a 30 mm socket wrench, install and tighten a new nut.
SST 09330-00021, 09950-30012 (09955-03040)
Torque: 126 N*m (1,285 kgf*cm, 93 ft.*lbf)
- Using a chisel and hammer, securely stake the nut.
- Using SST, install a new oil seal to the automatic transmission flange yoke.
- INSTALL AUTOMATIC TRANSMISSION HOUSING
- Clean the threads of the bolts and the case with non-residue solvent.
- Install the transmission housing with the 10 bolts.
Torque: 34 N*m (347 kgf*cm, 25 ft.*lbf) for bolt A (14 mm head)
57 N*m (581 kgf*cm, 42 ft.*lbf) for bolt B (17 mm head)
- INSTALL AUTOMATIC TRANSMISSION BREATHER TUBE
- Install the breather tube with the 2 bolts.
Torque: 5.4 N*m (55 kgf*cm, 48 in.*lbf)
- Install the breather tube with the 2 bolts.
- INSTALL TRANSMISSION REVOLUTION SENSOR
- Coat 2 new O-rings with ATF, and install them to the transmission revolution sensors.
- Install the 2 transmission revolution sensors with the 2 bolts.
Torque: 5.4 N*m (55 kgf*cm, 48 in.*lbf)
- INSTALL OIL COOLER TUBE UNION
- Coat 2 new O-rings with ATF, and install them to the oil cooler tube unions.
- Install the oil cooler tube unions as shown in the illustration.
Torque: 29 N*m (296 kgf*cm, 21 ft.*lbf)
- INSTALL PARK/NEUTRAL POSITION SWITCH ASSEMBLY
- Install the park/neutral position switch onto the manual valve lever shaft, and temporarily install the bolt.
- Install a new lock washer with the nut.
Torque: 6.9 N*m (70 kgf*cm, 61 in.*lbf)
- Using the control shaft lever, move the manual lever shaft back all the way and then forward 2 notches. It is now in neutral.
- Align the neutral basic line with the switch groove as shown in the illustration, and tighten the bolt.
Torque: 13 N*m (130 kgf*cm, 9 ft.*lbf)
- Using a screwdriver, bend the tabs of the lock washer.
HINT:
Bend at least 2 washer tabs.
- INSTALL TRANSMISSION CONTROL SHAFT LEVER RH
- Install the control shaft lever RH, spring washer and nut.
Torque: 16 N*m (163 kgf*cm, 12 ft.*lbf)
- Install the control shaft lever RH, spring washer and nut.
- INSTALL TRANSMISSION CASE COVER UPPER
- Install the transmission case cover upper with the 2 bolts.
Torque: 5.4 N*m (55 kgf*cm, 48 in.*lbf)
- Install the transmission case cover upper with the 2 bolts.