LEMON Manuals: Even more car manuals for everyone: 1960-2025
Home >> Lexus >> 2007 >> SC 430 >> Repair and Diagnosis >> Transmission >> Automatic Trans >> Automatic Transaxle >> Floor Shift Assembly >> Disassembly
April 5, 2026: LEMON Manuals is launched! Read the announcement.

Floor Shift Assembly: Disassembly

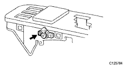
  1. REMOVE FLOOR SHIFT, SHIFT LEVER KNOB SUB-ASSEMBLY 
    1. Remove the floor shift lever knob from the shift lever.
      Fig 1: Identifying Floor Shift Lever Knob
      G05289750Courtesy of © TOYOTA, LICENSE AGREEMENT TMS1002
  2. REMOVE SHIFT POSITION INDICATOR 
    1. Using needle-nose pliers, detach the 2 claws and remove the shift position indicator knob, coin box lock and coin box lock compression ring.
      NOTE: Perform this procedure carefully as the coin box compression ring may fly off.
      Fig 2: Locating Shift Position Indicator
      G05289751Courtesy of © TOYOTA, LICENSE AGREEMENT TMS1002
    2. Detach the 8 claws, and remove the position indicator housing plate.
      Fig 3: Locating Position Indicator Housing Plate Claws
      G05289752Courtesy of © TOYOTA, LICENSE AGREEMENT TMS1002
    3. Detach the 6 claws with a screwdriver and remove the position indicator from the floor shift position indicator housing.
      Fig 4: Locating Floor Shift Position Indicator Housing Claws
      G05289753Courtesy of © TOYOTA, LICENSE AGREEMENT TMS1002
  3. REMOVE SHIFT LOCK RELEASE BUTTON 
    1. Remove the shift lock release button from the shift position indicator.
      Fig 5: Identifying Shift Lock Release Button
      G05289754Courtesy of © TOYOTA, LICENSE AGREEMENT TMS1002
  4. REMOVE TRACTION CONTROL SWITCH 
    1. Using a thin-bladed screwdriver, remove the traction control switch from the shift position indicator.
      Fig 6: Identifying Traction Control Switch
      G05289755Courtesy of © TOYOTA, LICENSE AGREEMENT TMS1002
  5. REMOVE NO. 1 PATTERN SELECT SWITCH ASSEMBLY 
    1. Using a thin-bladed screwdriver, remove the pattern select switch from the shift position indicator.
      Fig 7: Identifying Pattern Select Switch Assembly
      G05289756Courtesy of © TOYOTA, LICENSE AGREEMENT TMS1002
  6. REMOVE RETURN SPRING DAMPER 
    1. Remove the screw and return spring damper.
      Fig 8: Locating Return Spring Damper Screw
      G05289757Courtesy of © TOYOTA, LICENSE AGREEMENT TMS1002
  7. REMOVE NO. 1 COIN BOX PANEL 
    1. Using a thin-bladed screwdriver, remove the No. 1 shift lever gear.
      Fig 9: Removing No. 1 Shift Lever Gear
      G05289758Courtesy of © TOYOTA, LICENSE AGREEMENT TMS1002
    2. Using needle-nose pliers, pull out the left and right straight pins.
      NOTE: As the spring may fly out when pulling out the straight pins, hold down the panel and spring while pulling out the straight pins.
    3. Remove the No. 1 coin box panel and coin box panel torsion spring.
      Fig 10: Locating Coin Box Panel Straight Pin
      G05289759Courtesy of © TOYOTA, LICENSE AGREEMENT TMS1002
  8. REMOVE COIN BOX PANEL STRAIGHT PIN 
  9. REMOVE POSITION INDICATOR LIGHT BULB 
    1. Rotate the indicator light wire counterclockwise, align the key part and remove the wire.
    2. Remove the position indicator light bulb from the indicator light wire.
      Fig 11: Rotating Indicator Light Wire
      G05289760Courtesy of © TOYOTA, LICENSE AGREEMENT TMS1002
  10. REMOVE INDICATOR LIGHT WIRE SUB-ASSEMBLY 
    1. Using a thin-bladed screwdriver, release the connector housing retainer of the transmission control switch.
      Fig 12: Releasing Connector Housing Retainer Of Transmission Control Switch
      G05289761Courtesy of © TOYOTA, LICENSE AGREEMENT TMS1002
    2. Insert a thin-bladed screwdriver until it contacts the attachment side or the tip of SST, as shown in the illustration of the connector. Then, hold the wiring and pull out the contact.
      NOTE:
      • When reusing a removed contact, check that the contact does not have any abnormalities. Replace the contact if it is abnormal.
      • Do not use SST to raise or pry the connector and housing retainer.
        Fig 13: Prying Connector And Housing Retainer
        G05289762Courtesy of © TOYOTA, LICENSE AGREEMENT TMS1002
      • Do not use SST if its tip is bent more than 10°.

      HINT:

      The lance of the contact releases when SST is inserted.

  11. REMOVE SHIFT LOCK CONTROL ECU 
    1. Using a screwdriver, lightly pry the floor shift position indicator housing and remove it.
      Fig 14: Prying Floor Shift Position Indicator Housing
      G05289763Courtesy of © TOYOTA, LICENSE AGREEMENT TMS1002

      HINT:

      The claw locations are shown in the illustration.

      Fig 15: Identifying Claw Locations
      G05289764Courtesy of © TOYOTA, LICENSE AGREEMENT TMS1002
    2. Remove the shift lever nut and lock pin from the floor shift.
    3. Remove the shift lever guide housing from the floor shift.
      NOTE: First remove the shift lever nut and lock pin, then detach the 2 claws.
      Fig 16: Locating Floor Shift Lever Nut And Lock Pin
      G05289765Courtesy of © TOYOTA, LICENSE AGREEMENT TMS1002
    4. Remove the 2 screws and shift lock control ECU.
      Fig 17: Locating Shift Lock Control ECU Screws
      G05289766Courtesy of © TOYOTA, LICENSE AGREEMENT TMS1002
  12. REMOVE TRANSMISSION CONTROL SWITCH 
    1. Remove the transmission control switch from the shift lever guide housing.
      Fig 18: Removing Transmission Control Switch From Shift Lever Guide Housing
      G05289767Courtesy of © TOYOTA, LICENSE AGREEMENT TMS1002