LEMON Manuals: Even more car manuals for everyone: 1960-2025
Home >> Lexus >> 2007 >> SC 430 >> Repair and Diagnosis >> Transmission >> Automatic Trans >> Automatic Transaxle >> Floor Shift Assembly >> Reassembly
April 5, 2026: LEMON Manuals is launched! Read the announcement.

Floor Shift Assembly: Reassembly

  1. INSTALL TRANSMISSION CONTROL SWITCH 
    1. Install the transmission control switch to the shift lever guide housing.

      HINT:

      Securely attach the claws.

      Fig 1: Installing Transmission Control Switch To Shift Lever Guide Housing
      G05289772Courtesy of © TOYOTA, LICENSE AGREEMENT TMS1002
  2. INSTALL SHIFT LOCK CONTROL ECU 
    1. Apply MP grease to the hatched area of the shift lever guide housing as indicated in the illustration.
      Fig 2: Identifying Applied MP Grease Hatched Area
      G05289773Courtesy of © TOYOTA, LICENSE AGREEMENT TMS1002
    2. Install the shift lock control ECU with the 2 screws.
      Fig 3: Locating Shift Lock Control ECU Screws
      G05289774Courtesy of © TOYOTA, LICENSE AGREEMENT TMS1002
    3. Install the shift lever guide housing to the floor shift assembly.
      NOTE: When installing the shift lever guide housing, first attach the claw. Then install the shift lever nut and lock pin.
    4. Install the floor shift assembly with the shift lever lock pin and a new shift lever nut.
      Fig 4: Locating Floor Shift Assembly Shift Lever Lock Pin And Nut
      G05289775Courtesy of © TOYOTA, LICENSE AGREEMENT TMS1002
    5. Attach the claws and install the floor shift position indicator housing.
      Fig 5: Identifying Floor Shift Position Indicator Housing
      G05289776Courtesy of © TOYOTA, LICENSE AGREEMENT TMS1002
  3. INSTALL INDICATOR LIGHT WIRE SUB-ASSEMBLY 
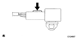
    1. Securely connect the 2 terminals of the 2 indicator light wire harnesses to the transmission control switch connector.
      Fig 6: Connecting Terminals Of Indicator Light Wire Harnesses To Transmission Control Switch Connector
      G05289777Courtesy of © TOYOTA, LICENSE AGREEMENT TMS1002
    2. Fix the stopper of the connector in place.
      Fig 7: Fixing Stopper Of Connector
      G05289778Courtesy of © TOYOTA, LICENSE AGREEMENT TMS1002
  4. INSTALL POSITION INDICATOR LIGHT BULB 
    1. Install the position indicator bulb to the indicator light wire.
    2. Align the indicator light wire with the key part of the position indicator guide housing, and install the wire. Then rotate the wire clockwise until it locks.
      NOTE: Securely install the indicator light wire to the position indicator guide housing.
      Fig 8: Aligning Indicator Light Wire With Key Part Of Position Indicator Guide Housing
      G05289779Courtesy of © TOYOTA, LICENSE AGREEMENT TMS1002
  5. INSTALL COIN BOX PANEL STRAIGHT PIN 
    Fig 9: Locating Coin Box Panel Straight Pin
    G05289780Courtesy of © TOYOTA, LICENSE AGREEMENT TMS1002
  6. INSTALL NO. 1 COIN BOX PANEL 
    1. Install the No. 1 coin box panel and coin box panel torsion spring.
    2. Install the coin box panel straight pin and No. 1 shift lever gear.
      Fig 10: Installing No. 1 Coin Box Panel And Coin Box Panel Torsion Spring
      G05289781Courtesy of © TOYOTA, LICENSE AGREEMENT TMS1002
  7. INSTALL RETURN SPRING DAMPER 
    1. Install the return spring damper with the screw.
      Fig 11: Locating Return Spring Damper Screw
      G05289782Courtesy of © TOYOTA, LICENSE AGREEMENT TMS1002
  8. INSTALL SHIFT LOCK RELEASE BUTTON 
    1. Install the shift lock release button to the shift position indicator.
      Fig 12: Locating Shift Lock Release Button
      G05289783Courtesy of © TOYOTA, LICENSE AGREEMENT TMS1002
  9. INSTALL NO. 1 PATTERN SELECT SWITCH ASSEMBLY 
    1. Install the pattern select switch to the shift position indicator.
      Fig 13: Locating Pattern Select Switch Assembly
      G05289784Courtesy of © TOYOTA, LICENSE AGREEMENT TMS1002
  10. INSTALL TRACTION CONTROL SWITCH 
    1. Install the traction control switch to the shift position indicator.
      Fig 14: Identifying Traction Control Switch
      G05289785Courtesy of © TOYOTA, LICENSE AGREEMENT TMS1002
  11. INSTALL SHIFT POSITION INDICATOR 
    1. Attach the 6 claws to install the shift position indicator to the floor shift position indicator housing.
      NOTE: Securely attach the claws.
      Fig 15: Locating Shift Position Indicator Housing Claws
      G05289786Courtesy of © TOYOTA, LICENSE AGREEMENT TMS1002
    2. Attach the 8 claws to install the position indicator housing plate.
      NOTE: Securely attach the claws.
      Fig 16: Locating Position Indicator Housing Plate Claws
      G05289787Courtesy of © TOYOTA, LICENSE AGREEMENT TMS1002
    3. Attach the claws shown in the illustration, and install the shift indicator knob, coin box lock and coin box compression spring.
      NOTE: Securely attach the claws.
      Fig 17: Locating Shift Indicator Knob
      G05289788Courtesy of © TOYOTA, LICENSE AGREEMENT TMS1002
  12. INSTALL FLOOR SHIFT, SHIFT LEVER KNOB SUB-ASSEMBLY 
    1. Install the floor shift lever knob to the shift lever.
      Fig 18: Identifying Floor Shift Lever Knob
      G05289789Courtesy of © TOYOTA, LICENSE AGREEMENT TMS1002