LEMON Manuals: Even more car manuals for everyone: 1960-2025
Home >> Lexus >> 2025 >> RX 350h Premium >> Repair and Diagnosis (Single Page) >> Accessories & Equipment >> Anti-Theft Systems >> Smart Access System (For Start) - Diagnostic Codes >> SMART ACCESS SYSTEM WITH PUSH-BUTTON START (for Start Function, except Gasoline Model) >> DTC B2282-31: Vehicle Speed Signal Circuit Open; DTC B2282-62: Vehicle Speed Signal Compare Failure [10/2022 - ] >> Procedure
April 5, 2026: LEMON Manuals is launched! Read the announcement.

DTC B2282-31: Vehicle Speed Signal Circuit Open; DTC B2282-62: Vehicle Speed Signal Compare Failure [10/2022 - ]: Procedure

  1. READ VALUE USING GTS (VEHICLE SPEED) 
    1. Read the Data List according to the display on the GTS.

      Chassis > Brake/EPB > Data List 

      Tester Display Measurement Item Range Normal Condition Diagnostic Note
      Vehicle Speed Vehicle speed Min.: 0.0 km/h (0 mph)
      Max.: 6553.5 km/h (4072 mph)
      Vehicle stopped: 0.0 km/h (0 mph) When driving at constant speed: No large fluctuations

      Chassis > Brake/EPB > Data List 

      Tester Display
      Vehicle Speed

      OK

      Vehicle speed displayed on the GTS is almost the same as the actual vehicle speed measured using a speedometer tester.

      Result

      Proceed to
      OK
      NG

    Result: 

    NG 

    GO TO ELECTRONICALLY CONTROLLED BRAKE SYSTEM. Refer to  HOW TO PROCEED WITH TROUBLESHOOTING [10/2022 - ] 

    Result: 

    OK 

    See step  2

  2. READ VALUE USING GTS (VEHICLE RUNNING CONDITION (LINE)) 
    1. Read the Data List according to the display on the GTS.

      Body Electrical > Power Source Control > Data List 

      Tester Display Measurement Item Range Normal Condition Diagnostic Note
      Vehicle Running Condition (Line) Vehicle being driven or stopped Stop or Running Stop: Vehicle stopped -

      Body Electrical > Power Source Control > Data List 

      Tester Display
      Vehicle Running Condition (Line)

      OK

      The GTS display changes correctly in response to the vehicle condition.

      Result

      Result Proceed to
      The value of Vehicle Running Condition (Line) is Stop A
      The value of Vehicle Running Condition (Line) is not Stop B

    Result: 

    See step  4

    Result: 

    See step  3

  3. READ VALUE USING GTS (VEHICLE RUNNING CONDITION (LINE)) 
    1. Read the Data List according to the display on the GTS.

      Body Electrical > Power Source Control > Data List 

      Tester Display Measurement Item Range Normal Condition Diagnostic Note
      Vehicle Running Condition (Line) Vehicle being driven or stopped Stop or Running Running: Vehicle being driven at 5 km/h (3 mph) or more -

      Body Electrical > Power Source Control > Data List 

      Tester Display
      Vehicle Running Condition (Line)

      OK

      The GTS display changes correctly in response to the vehicle condition.

      Result

      Result Proceed to
      The value of Vehicle Running Condition (Line) is Running A
      The value of Vehicle Running Condition (Line) is not Running B

    Result: 

    GO TO ELECTRONICALLY CONTROLLED BRAKE SYSTEM. Refer to  HOW TO PROCEED WITH TROUBLESHOOTING [10/2022 - ] 

    Result: 

    See step  4

  4. CHECK HARNESS AND CONNECTOR (CERTIFICATION ECU (SMART KEY ECU ASSEMBLY) - NO. 2 SKID CONTROL ECU (BRAKE ACTUATOR ASSEMBLY)) 

    Pre-procedure1

    • Disconnect the A33 No. 2 skid control ECU (brake actuator assembly) connector.
    • Disconnect the A7 certification ECU (smart key ECU assembly) connector.
    • Measure the resistance according to the value(s) in the table below.

      Standard Resistance

      Tester Connection Condition Specified Condition Result
      A7-13 (SPD) - A33-18 (SP1) Always Below 1 Ω Ω
      A7-13 (SPD) or A33-18 (SP1) - Other terminals and body ground Always 10 kΩ or higher

      Result

      Proceed to
      OK
      NG

    Post-procedure1

    • Connect the A7 certification ECU (smart key ECU assembly) connector.
    • Connect the A33 No. 2 skid control ECU (brake actuator assembly) connector.

    Result: 

    NG 

    REPAIR OR REPLACE HARNESS OR CONNECTOR 

    Result: 

    OK 

    See step  5

  5. CHECK CERTIFICATION ECU (SMART KEY ECU ASSEMBLY) 
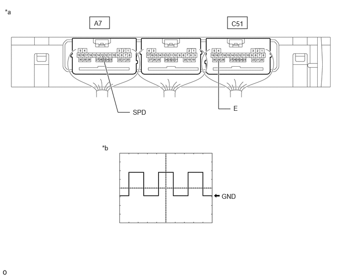
    1. Using an oscilloscope, check the waveform.
      GTY1132167Courtesy of © TOYOTA, LICENSE AGREEMENT TMS1002
      *a Component with harness connected
      (Certification ECU (Smart Key ECU Assembly))
      *b Waveform

      OK

      Tester Connection Condition Tool Setting Specified Condition
      A7-13 (SPD) - C51-29 (E) Ignition switch ON, vehicle being driven at approx. 5 km/h (3 mph) 5 V/DIV., 20 ms./DIV. Pulse generation
      (See waveform)

      HINT: 

      The wavelength becomes shorter as the vehicle speed increases.

      Result

      Proceed to
      OK
      NG

    Result: 

    OK 

    REPLACE CERTIFICATION ECU (SMART KEY ECU ASSEMBLY). Refer to  REMOVAL [10/2022 - 08/2023]  , or refer to  REMOVAL [08/2023 - ] 

    Result: 

    NG 

    GO TO ELECTRONICALLY CONTROLLED BRAKE SYSTEM (HOW TO PROCEED WITH TROUBLESHOOTING). Refer to  HOW TO PROCEED WITH TROUBLESHOOTING [10/2022 - ]