LEMON Manuals: Even more car manuals for everyone: 1960-2025
Home >> Lexus >> 2025 >> RX 350h Premium >> Repair and Diagnosis (Single Page) >> Accessories & Equipment >> Anti-Theft Systems >> Smart Access System (For Start) - Symptom Tests >> SMART ACCESS SYSTEM WITH PUSH-BUTTON START (for Start Function, except Gasoline Model) >> Immobilizer System does not Operate Properly [08/2023 - ] >> Procedure
April 5, 2026: LEMON Manuals is launched! Read the announcement.

Immobilizer System does not Operate Properly [08/2023 - ]: Procedure

  1. CHECK FOR DTC 
    1. Check for DTCs.

      Body Electrical > Smart Access > Trouble Codes 

      Powertrain > Hybrid Control > Trouble Codes 

      Result

      Result Proceed to
      DTCs are not output A
      DTCs are output B

    Result: 

    GO TO DIAGNOSTIC TROUBLE CODE CHART. Refer to  DIAGNOSTIC TROUBLE CODE CHART [10/2022 - ] 

    Result: 

    See step  2

  2. CHECK WHETHER HYBRID CONTROL SYSTEM STARTS 
    1. Check that the hybrid control system starts within 5 seconds of the ignition switch being turned ON (READY).

      OK

      Hybrid control system starts normally.

      Result

      Proceed to
      OK
      NG

    Result: 

    OK 

    USE SIMULATION METHOD TO CHECK. Refer to  HOW TO PROCEED WITH TROUBLESHOOTING [10/2022 - ] 

    Result: 

    NG 

    See step  3

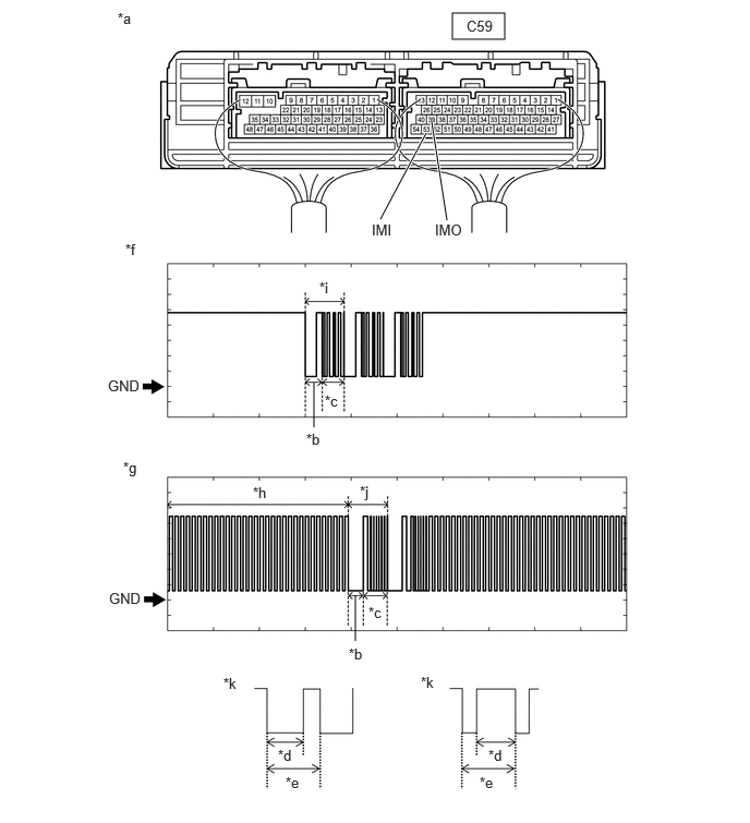
  3. CHECK HYBRID VEHICLE CONTROL ECU (TERMINAL IMI AND IMO) 
    1. Using an oscilloscope, check the waveform.
      GTY1128901Courtesy of © TOYOTA, LICENSE AGREEMENT TMS1002
      *a Component with harness connected
      (Hybrid Vehicle Control ECU)
      *b Approximately 160 ms.
      *c Approximately 270 ms. *d Approximately 40 ms.
      *e Approximately 60 ms. *f Terminal IMO
      *g Terminal IMI *h Waveform 1
      *i Waveform 2 *j Waveform 3
      *k Waveform 1 (detail) - -
      NOTE:

      The waveform shown in the illustration is an example for reference only. Noise, chattering, etc. are not shown.

      OK

      Tester Connection Condition Tool Setting Specified Condition
      C59-39 (IMO) - Body ground Within 3 seconds of hybrid control system start or within 3 seconds of ignition switch turned to ON after auxiliary battery cable disconnected and reconnected 2 V/DIV., 500 ms./DIV. Pulse generation
      (See waveform 2)
      C59-53 (IMI) - Body ground Within 3 seconds of hybrid control system start or within 3 seconds of ignition switch turned to ON after auxiliary battery cable disconnected and reconnected 2 V/DIV., 500 ms./DIV. Pulse generation
      (See waveform 1 and 3)

      Result

      Result Proceed to
      Normal waveform A
      Waveform 1 is not output, or has abnormal wavelength or shape B
      Waveform 2 is not output, or has abnormal wavelength or shape C
      Waveform 3 is not output, or has abnormal wavelength or shape D

    Result: 

    See step  6

    Result: 

    REPLACE HYBRID VEHICLE CONTROL ECU. Refer to  REMOVAL [10/2022 - ] 

    Result: 

    See step  7

    Result: 

    See step  4

  4. REGISTER ECU COMMUNICATION ID 
    1. Register the ECU communication ID codes.

      Refer to REGISTRATION [10/2022 - ]

      Result

      Proceed to
      NEXT

    Result: 

    NEXT 

    See step  5

  5. CHECK WHETHER HYBRID CONTROL SYSTEM STARTS 
    1. Check that the hybrid control system starts.

      OK

      Hybrid control system starts normally.

      Result

      Proceed to
      OK
      NG

    Result: 

    OK 

    END (COMMUNICATION ID REGISTRATION WAS DEFECTIVE) 

    Result: 

    NG 

    REPLACE ID CODE BOX (IMMOBILIZER CODE ECU). Refer to  REMOVAL [08/2023 - ] 

  6. CHECK HARNESS AND CONNECTOR (ID CODE BOX (IMMOBILIZER CODE ECU) - HYBRID VEHICLE CONTROL ECU) 
    1. Disconnect the C54 ID code box (immobilizer code ECU) connector.
    2. Disconnect the C59 hybrid vehicle control ECU connector.
    3. Measure the resistance according to the value(s) in the table below.

      Standard Resistance

      Tester Connection Condition Specified Condition
      C54-3 (EFII) - C59-39 (IMO) Always Below 1 Ω
      C54-3 (EFII) or C59-39 (IMO) - Other terminals and body ground Always 10 kΩ or higher
      C54-4 (EFIO) - C59-53 (IMI) Always Below 1 Ω
      C54-4 (EFIO) or C59-53 (IMI) - Other terminals and body ground Always 10 kΩ or higher

      Result

      Proceed to
      OK
      NG

    Result: 

    OK 

    See step  7

    Result: 

    NG 

    REPAIR OR REPLACE HARNESS OR CONNECTOR 

  7. REPLACE ID CODE BOX (IMMOBILIZER CODE ECU) 
    1. Replace the ID code box (immobilizer code ECU) with a new one.

      Refer to REMOVAL [08/2023 - ]

      Result

      Proceed to
      NEXT

    Result: 

    NEXT 

    See step  8

  8. REGISTER RECOGNITION CODE 
    1. Register the recognition codes to the ECUs.

      Refer to REGISTRATION [10/2022 - ]

      Result

      Proceed to
      NEXT

    Result: 

    NEXT 

    See step  9

  9. REGISTER ECU COMMUNICATION ID 
    1. Register the ECU communication ID codes.

      Refer to REGISTRATION [10/2022 - ]

      Result

      Proceed to
      NEXT

    Result: 

    NEXT 

    See step  10

  10. CHECK WHETHER HYBRID CONTROL SYSTEM STARTS 
    1. Check that the hybrid control system starts.

      OK

      Hybrid control system starts normally.

      Result

      Proceed to
      OK
      NG

    Result: 

    OK 

    END (ID CODE BOX (IMMOBILIZER CODE ECU) WAS DEFECTIVE) 

    Result: 

    NG 

    GO TO HYBRID CONTROL SYSTEM 

    for THS-HEV Model: Refer to HOW TO PROCEED WITH TROUBLESHOOTING [10/2022 - ]

    for 1Motor-HEV Model: Refer to HOW TO PROCEED WITH TROUBLESHOOTING [10/2022 - ]

    for PHEV Model: Refer to HOW TO PROCEED WITH TROUBLESHOOTING [08/2023 - ]