LEMON Manuals: Even more car manuals for everyone: 1960-2025
Home >> Lexus >> 2025 >> RX 350h Premium >> Repair and Diagnosis (Single Page) >> Accessories & Equipment >> Communication Devices >> Can Communication System - Diagnostic Codes (1 Of 3) >> CAN COMMUNICATION SYSTEM (except Gasoline Model) >> DTC U01BD-87: Lost Communication with DC/DC Converter Control Module "C" Missing Message; DTC U0291-00: Lost Communication with Gear Shift Control Module "B" (System 2) Missing Message; DTC U0291-87: Lost Communication with Gear Shift Control Module "B" Missing Message; DTC U029A-87: Lost Communication with Hybrid/EV Battery Sensor Module Missing Message; DTC U1176-87: Lost Communication with Gear Shift Control Module "A" (ch2) Missing Message [10/2022 - 08/2023] >> Wiring Diagram
April 5, 2026: LEMON Manuals is launched! Read the announcement.

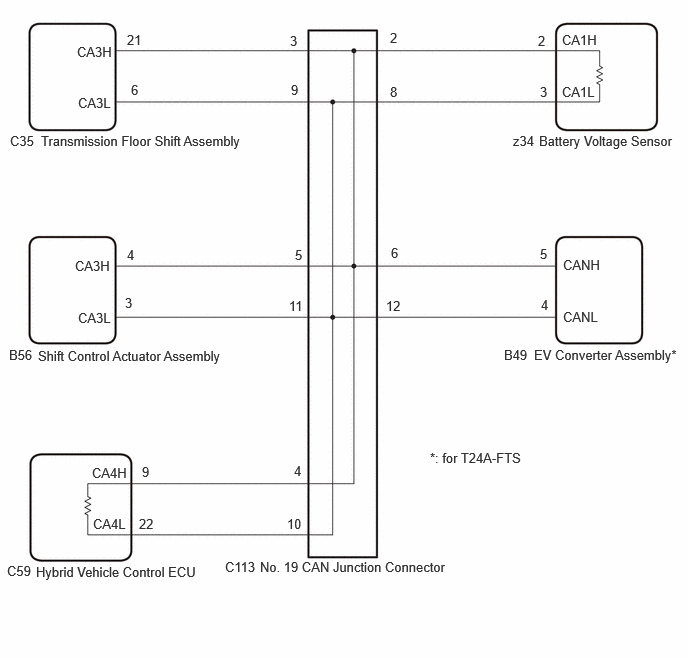
DTC U01BD-87: Lost Communication with DC/DC Converter Control Module "C" Missing Message; DTC U0291-00: Lost Communication with Gear Shift Control Module "B" (System 2) Missing Message; DTC U0291-87: Lost Communication with Gear Shift Control Module "B" Missing Message; DTC U029A-87: Lost Communication with Hybrid/EV Battery Sensor Module Missing Message; DTC U1176-87: Lost Communication with Gear Shift Control Module "A" (ch2) Missing Message [10/2022 - 08/2023]: Wiring Diagram

GTY1128287Courtesy of © TOYOTA, LICENSE AGREEMENT TMS1002