LEMON Manuals: Even more car manuals for everyone: 1960-2025
Home >> Mitsubishi >> 2005 >> Galant ES >> Repair and Diagnosis (Single Page) >> Accessories & Equipment >> Communication Devices >> Simplified Wiring System (SWS) >> Symptom Procedures >> Power Windows >> INSPECTION PROCEDURE D-2: Power Window: The Power Window Timer Function Does Not Work Normally. >> Notes
April 5, 2026: LEMON Manuals is launched! Read the announcement.

INSPECTION PROCEDURE D-2: Power Window: The Power Window Timer Function Does Not Work Normally.: Notes

NOTE: This troubleshooting procedure requires use of scan tool MB991958 and SWS monitor kit MB991813. For details on how to use the SWS monitor, refer to "HOW TO USE SWS MONITOR ".
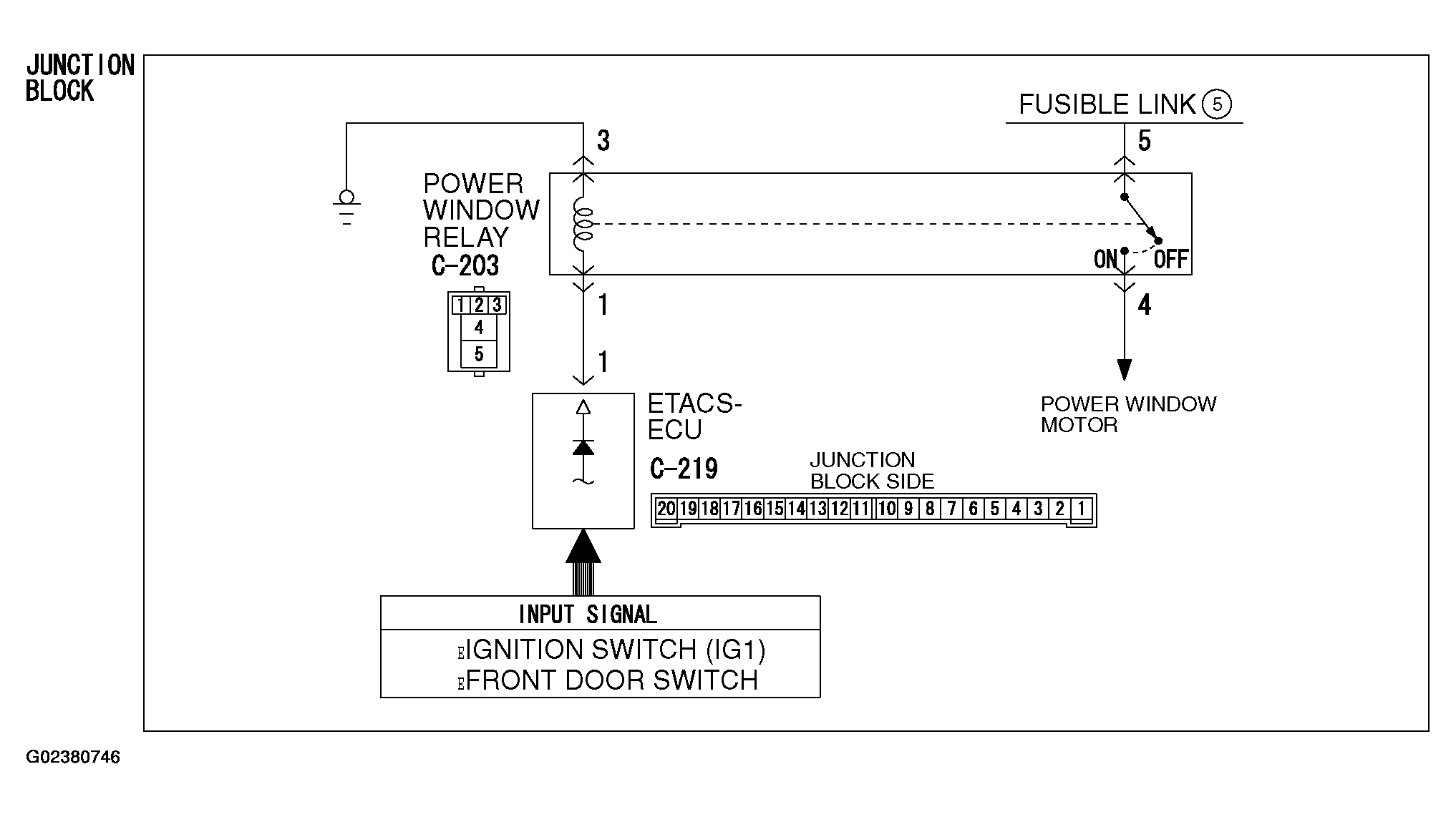
Fig 1: Identifying Power Window Timer Function Circuit Diagram
G02380746Courtesy of MITSUBISHI MOTOR SALES OF AMERICA.