LEMON Manuals: Even more car manuals for everyone: 1960-2025
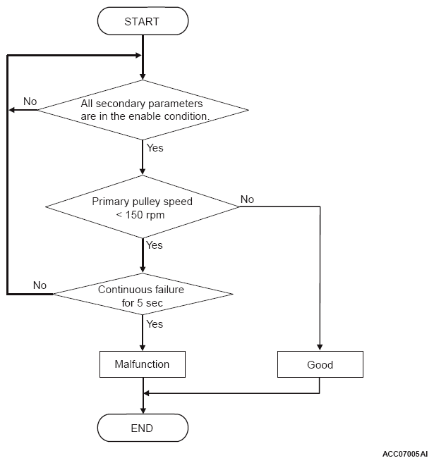
Home >> Mitsubishi >> 2019 >> Eclipse Cross ES, AWD >> Repair and Diagnosis >> Transmission >> Automatic Trans >> Continuously Variable Transaxle (CVT) (With Diagnostics) >> Diagnosis <CVT> >> Diagnostic Trouble Code Procedures >> DTC P0715: Malfunction Of Primary Pulley Speed Sensor >> Logic Flow Charts (Monitor Sequence-Input Rationality-Low (Open/Low Revolution))
April 5, 2026: LEMON Manuals is launched! Read the announcement.

Logic Flow Charts (Monitor Sequence-Input Rationality-Low (Open/Low Revolution))

G10229989Courtesy of MITSUBISHI MOTOR SALES OF AMERICA.