LEMON Manuals: Even more car manuals for everyone: 1960-2025
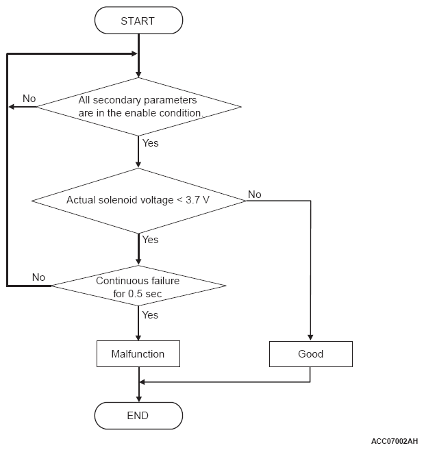
Home >> Mitsubishi >> 2020 >> Outlander SP, AWD >> Repair and Diagnosis (Single Page) >> Transmission >> Automatic Trans >> Automatic Transaxle On Vehicle Service (With Diagnostics) >> Automatic Transaxle Diagnosis <A/T> >> Diagnostic Trouble Code Procedures >> DTC P099B: Low-Reverse Brake Shift Solenoid Valve System (Short circuit) DTC P099C: Low-Reverse Brake Shift Solenoid Valve System (Open circuit) >> LOGIC FLOW CHARTS (Monitor Sequence) <P099B>
April 5, 2026: LEMON Manuals is launched! Read the announcement.

LOGIC FLOW CHARTS (Monitor Sequence) <P099B>

G10223336Courtesy of MITSUBISHI MOTOR SALES OF AMERICA.