LEMON Manuals: Even more car manuals for everyone: 1960-2025
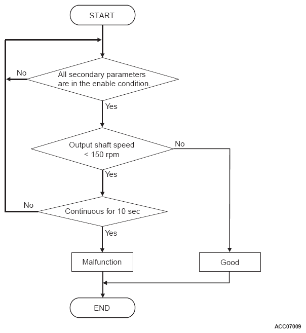
Home >> Mitsubishi >> 2021 >> Mirage ES, Standard Trans >> Repair and Diagnosis >> External Pages >> Different variant/trim >> Section 1 (Continuously Variable Transaxle (CVT)) >> Diagnosis >> Diagnostic Trouble Code Procedures >> DTC P0720: Malfunction of Output Speed Sensor >> LOGIC FLOW CHARTS [Monitor Sequence-Input Rationality Low (Open/Low revolution)]
April 5, 2026: LEMON Manuals is launched! Read the announcement.

LOGIC FLOW CHARTS [Monitor Sequence-Input Rationality Low (Open/Low revolution)]

WARNING: This page is about a different variant/trim than selected.
G11278232Courtesy of MITSUBISHI MOTOR SALES OF AMERICA.