LEMON Manuals: Even more car manuals for everyone: 1960-2025
Home >> Mitsubishi >> 2021 >> Mirage ES, Standard Trans >> Repair and Diagnosis >> External Pages >> Different variant/trim >> Section 1 (Continuously Variable Transaxle (CVT)) >> Diagnosis >> Diagnostic Trouble Code Procedures >> DTC P170E: ASC Error Information >> LOGIC FLOW CHARTS (Monitor Sequence)
April 5, 2026: LEMON Manuals is launched! Read the announcement.

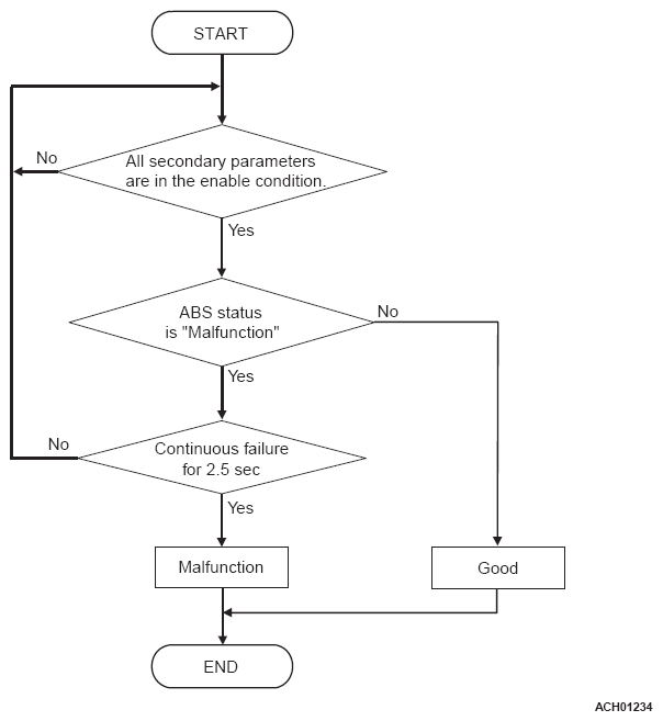
LOGIC FLOW CHARTS (Monitor Sequence)

WARNING: This page is about a different variant/trim than selected.
G12361613Courtesy of MITSUBISHI MOTOR SALES OF AMERICA.