LEMON Manuals: Even more car manuals for everyone: 1960-2025
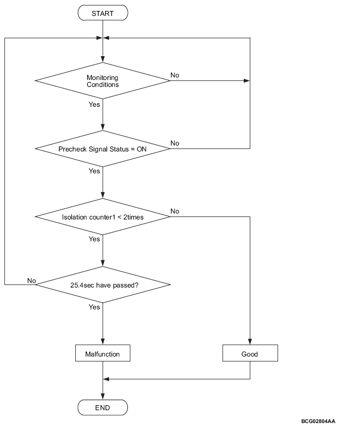
Home >> Mitsubishi >> 2021 >> Outlander PHEV LE >> Repair and Diagnosis (Single Page) >> Hybrid/Electric Powertrain >> Battery Management Systems >> Battery Management Unit (BMU) And Main Drive Lithium-Ion Battery (1 Of 2) >> Diagnostic Trouble Code Procedures <BMU (Sub)> >> DTC P0AA8: Leak Sensor Detection Circuit Open >> DTC Set Conditions >> Logic Flow Chart >> Notes
April 5, 2026: LEMON Manuals is launched! Read the announcement.

Logic Flow Chart: Notes

G13784687Courtesy of MITSUBISHI MOTOR SALES OF AMERICA.