LEMON Manuals: Even more car manuals for everyone: 1960-2025
Home >> Mitsubishi >> 2021 >> Outlander PHEV LE >> Repair and Diagnosis (Single Page) >> Hybrid/Electric Powertrain >> Battery Management Systems >> Battery Management Unit (BMU) And Main Drive Lithium-Ion Battery (1 Of 2) >> Diagnostic Trouble Code Procedures <BMU> >> DTC P1EF2: PTC Heater Relay (1) Welding; DTC P1EF5: PTC Heater Relay (2) Welding >> DTC Set Conditions >> Logic Flow Chart <DTC P1EF5: PTC Heater Relay (2) Welding> >> Notes
April 5, 2026: LEMON Manuals is launched! Read the announcement.

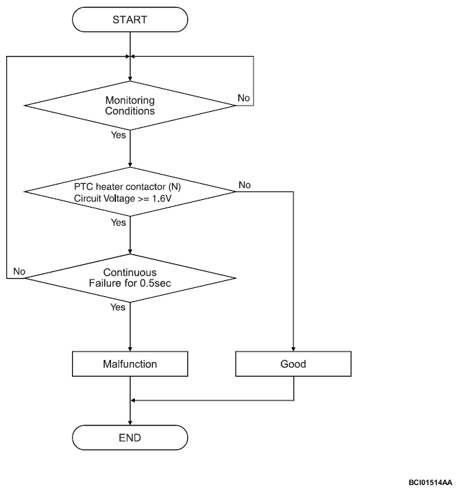
Logic Flow Chart <DTC P1EF5: PTC Heater Relay (2) Welding>: Notes

G13784654Courtesy of MITSUBISHI MOTOR SALES OF AMERICA.