LEMON Manuals: Even more car manuals for everyone: 1960-2025
Home >> Mitsubishi >> 2021 >> RVR LE >> Repair and Diagnosis (Single Page) >> Body & Frame >> Door Locks >> Keyless Operation System (Kos) >> General Information >> Keyless Entry Function >> One-Touch Start System Configuration
April 5, 2026: LEMON Manuals is launched! Read the announcement.

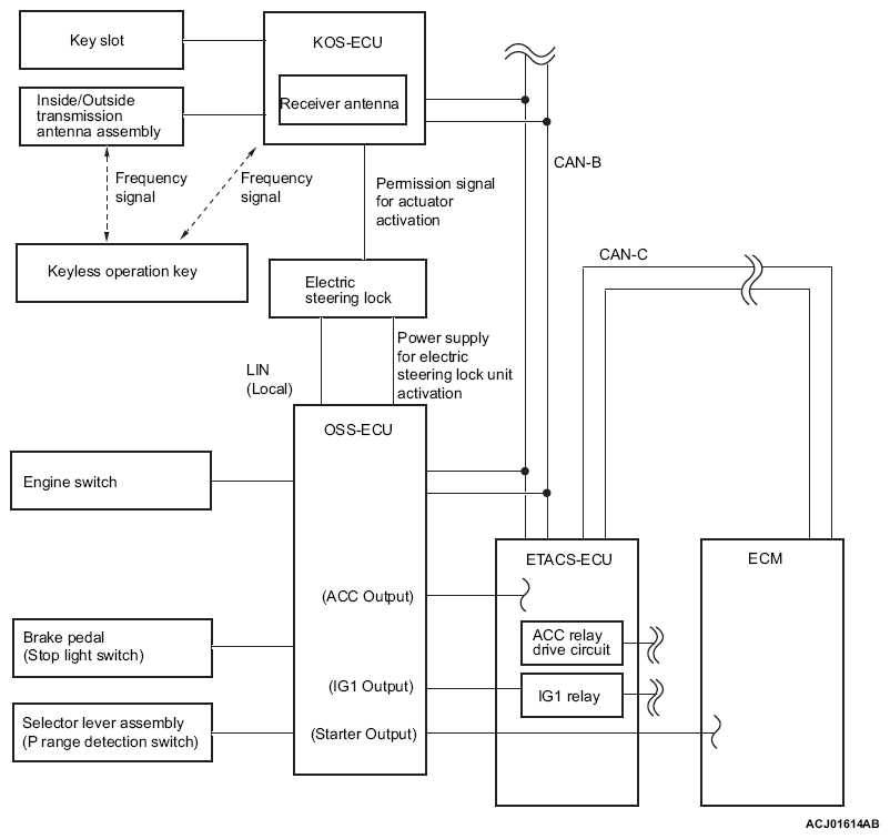
One-Touch Start System Configuration

G14213943Courtesy of MITSUBISHI MOTOR SALES OF AMERICA.