LEMON Manuals: Even more car manuals for everyone: 1960-2025
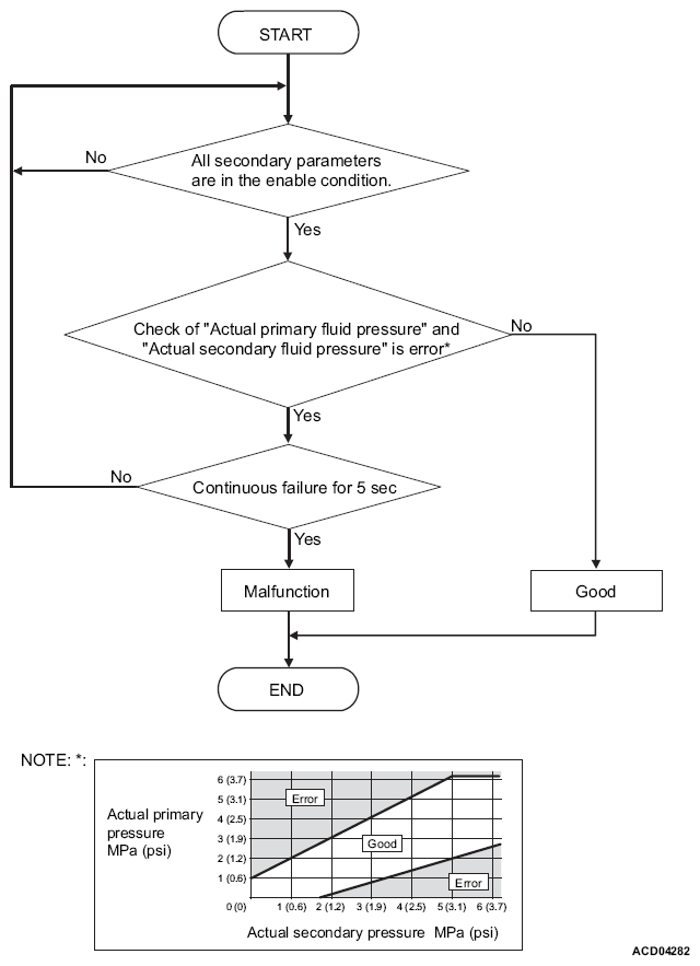
Home >> Mitsubishi >> 2021 >> RVR LE >> Repair and Diagnosis (Single Page) >> Transmission >> Automatic Trans >> Continuously Variable Transaxle (CVT) - (On-Vehicle Service - With Diagnostics) >> Diagnosis >> Diagnostic Trouble Code Procedures >> DTC P084A: Abnormality in Primary Pressure Sensor Function >> LOGIC FLOW CHARTS (Monitor Sequence)
April 5, 2026: LEMON Manuals is launched! Read the announcement.

LOGIC FLOW CHARTS (Monitor Sequence)

G14212957Courtesy of MITSUBISHI MOTOR SALES OF AMERICA.