LEMON Manuals: Even more car manuals for everyone: 1960-2025
Home >> Nissan-Datsun >> 1993 >> Sentra SE-R, Automatic >> Repair and Diagnosis >> Engine Performance >> Engine Controls - Adjustments >> Adjustment >> V6 Ignition Timing >> Quest
April 5, 2026: LEMON Manuals is launched! Read the announcement.

V6 Ignition Timing: Quest

  1. Ensure engine is at normal operating temperature. Turn ignition off. Disconnect IACV-AAC valve harness connector. Start engine. Increase engine speed to 2000 RPM, 2 or 3 times, then allow engine to return to idle.
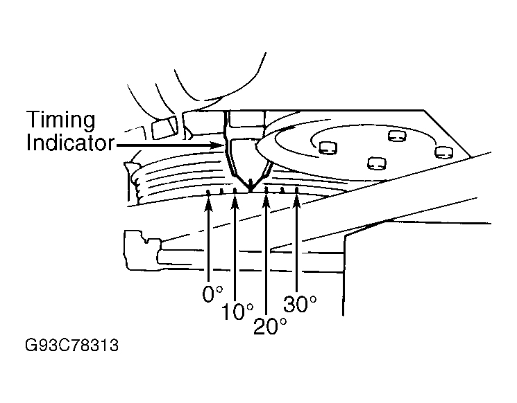
  2. Check ignition timing. See V6 IGNITION TIMING table. See Figure . If ignition timing is incorrect, loosen hold-down bolt and turn distributor to adjust ignition timing.
V6 IGNITION TIMING (Degrees BTDC @ RPM)

Application Man. Trans. (1) Auto. Trans.
Maxima, Pathfinder, Pickup & Quest 13-17 @ 700-800 13-17 @ 700-800
300ZX
Non-Turbo 13-17 @ 650-750 13-17 @ 720-820
Turbo 13-17 @ 650-750 13-17 @ 700-800
(1) Automatic transmission/transaxle in Neutral.
Fig 1: Locating Ignition Timing Marks (300ZX)
G93D78314Courtesy of NISSAN MOTOR CO., U.S.A.