LEMON Manuals: Even more car manuals for everyone: 1960-2025
Home >> Nissan-Datsun >> 1993 >> Sentra SE-R, Automatic >> Repair and Diagnosis >> Quick Lookups >> Electrical Component Locations >> Electrical Component Locator >> Circuit Protection Devices
April 5, 2026: LEMON Manuals is launched! Read the announcement.

Circuit Protection Devices

CIRCUIT PROTECTION DEVICES LOCATION

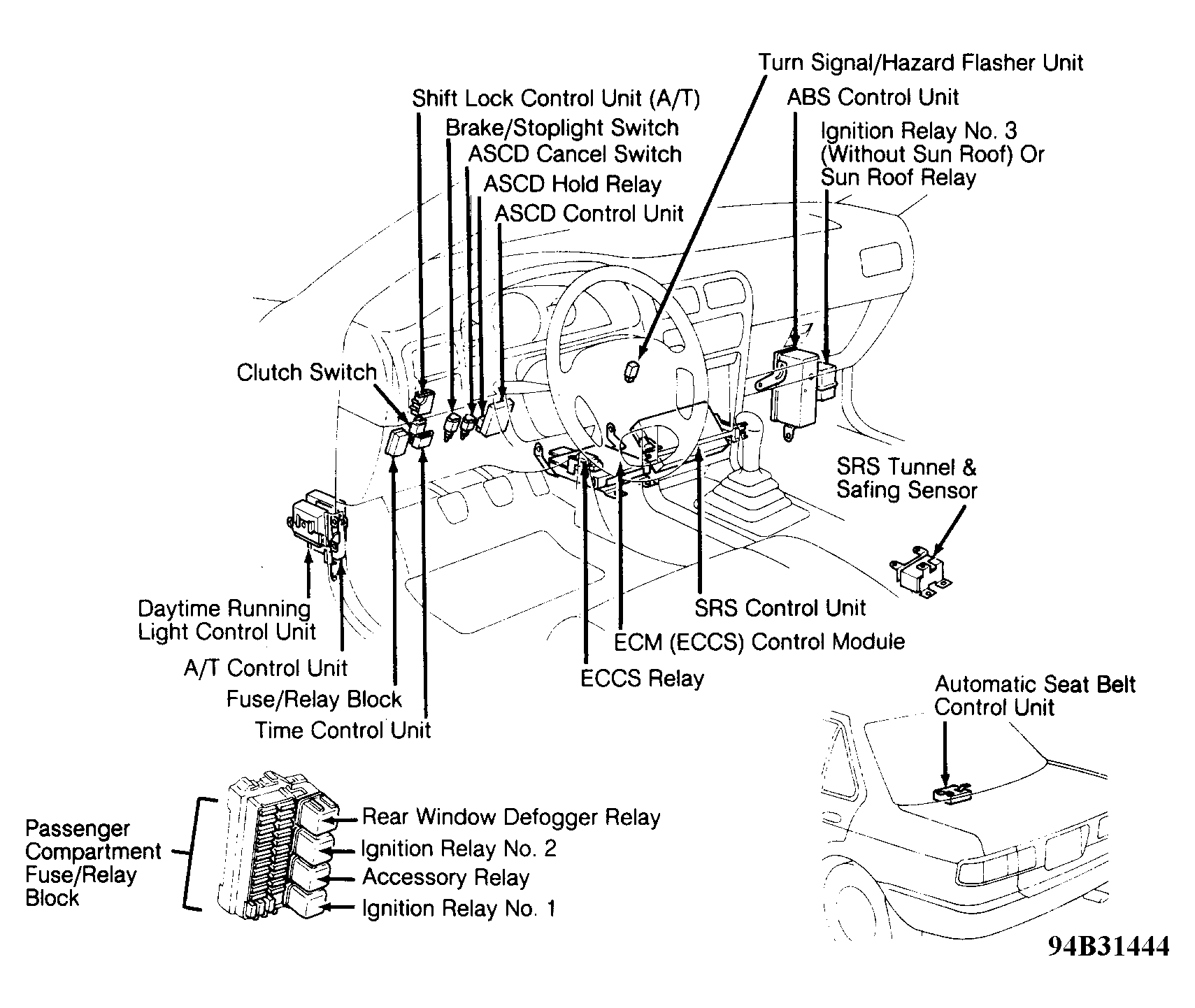
Component Location
Fuse/Relay Block
Engine Compartment On left front of inner fender panel, behind battery.
Passenger Compartment Under left side of dash. See Figure .
Fusible Links In engine compartment fuse/relay block. See Figure .
Relay Blocks On right side inner fender panel & on bracket near battery. See Figure .