LEMON Manuals: Even more car manuals for everyone: 1960-2025
Home >> Nissan-Datsun >> 2007 >> Sentra SE-R >> Repair and Diagnosis >> External Pages >> Different variant/trim >> Section 4 (Manual Transmission) >> RS6F52A >> Transaxle Assembly >> Disassembly and Assembly >> Assembly
April 5, 2026: LEMON Manuals is launched! Read the announcement.

Disassembly and Assembly: Assembly

WARNING: This page is about a different variant/trim than selected.
  1. Install differential side oil seal (1) to clutch housing using the drift (A) [SST: ST33400001 (J-26082)].

    Dimension "H" : -0.5 - 0.5 mm (-0.020 - 0.020 in) 

    CAUTION:
    • Never reuse differential side oil seal.
    • When installing, never incline differential side oil seal.
    • Never damage clutch housing.
      Fig 1: Identifying SST On Differential Side Oil Seal
      G04888892
  2. Install input shaft oil seal (1) to clutch housing using the drift (A) [SST: ST35321000 ( - )].

    Dimension "H" : 1.1 - 2.1 mm (0.043 - 0.083 in) 

    CAUTION:
    • Never reuse input shaft oil seal.
    • When installing, never incline input shaft oil seal.
    • Never damage clutch housing.
      Fig 2: Identifying Input Shaft Oil Seal
      G04888893
  3. Install differential side bearing outer race (clutch housing side) to clutch housing using the drifts.
    CAUTION: Replace differential side bearing and differential side bearing outer race as a set.
    Fig 3: Installing Differential Side Bearing Outer Race
    G04888894
  4. Install oil channel (1) on mainshaft side.
    CAUTION: When installing oil channel, fit the rib (A) of oil channel into the processed area of the spot facing (B).
    Fig 4: Identifying Oil Channel On Mainshaft Side
    G04888895
  5. Install mainshaft front bearing to clutch housing using the drift.
    CAUTION: Be careful with the orientation of mainshaft front bearing.
    Fig 5: Identifying Special Tool On Mainshaft Front Bearing
    G04888896
  6. Install mainshaft bearing retainer (1) to clutch housing and tighten mounting bolt to the specified torque. Refer to "GEAR COMPONENTS ".
    1. 2 : Mainshaft front bearing
    2. 3 : Oil channel
    CAUTION: Install with punched surface facing up.
    Fig 6: Locating Mainshaft Bearing Retainer And Mounting Bolt
    G04888897
  7. Install magnet to clutch housing.
    Fig 7: Locating Magnet From Clutch Housing
    G04888887
  8. Install final drive assembly into clutch housing.
    Fig 8: Identifying Final Drive Assembly Into Clutch Housing
    G04888899
  9. Install input shaft assembly, mainshaft assembly, and reverse idler gear assembly into clutch housing.
    CAUTION:
    • Wrap a tape, etc. to the spline of input shaft so as not to damage the input shaft oil seal.
    • Be careful with the orientation of reverse idler shaft.
      Fig 9: Identifying Input Shaft Assembly, Mainshaft Assembly And Reverse Idler Gear Assembly Into Clutch Housing
      G04888886
  10. Install striking rod assembly (1) into clutch housing.
    Fig 10: Identifying Striking Rod Assembly
    G04888885
    CAUTION:
    • Check that return spring is securely seated in the groove on return pin.
      Fig 11: Locating Return Spring Seat
      G04888902
  11. Install 1st-2nd shift fork (1) and 1st-2nd fork rod (2) and then install retaining pin to 1st-2nd shift fork.
    CAUTION:
    • Never reuse retaining pin.
    • Be careful with the orientation of 1st-2nd shift fork and 1st-2nd fork rod.
    • Assemble retaining pin from the direction shown by the arrow in the figure until it becomes flush with the end surface of 1st-2nd shift fork.
      Fig 12: Identifying 1st-2nd Shift Fork And 1st-2nd Fork Rod
      G04888884
  12. Install 3rd-4th shift fork (1) to 3rd-4th coupling sleeve.
    CAUTION: Be careful with the orientation of 3rd-4th shift fork.
    Fig 13: Identifying 3rd-4th Shift Fork
    G04888883
  13. Install 5th-6th shift fork (1) and 5th-6th fork rod (2) and then install retaining pin to 5th-6th shift fork.
    CAUTION:
    • Never reuse retaining pin.
    • Be careful with the orientation of 5th-6th shift fork and 5th-6th fork rod.
    • Assemble retaining pin from the direction shown by the arrow in the figure until it becomes flush with the end surface of 5th-6th shift fork.
      Fig 14: Locating Retaining Pin Of 5th-6th Shift Fork
      G04888880
  14. Install 3rd-4th fork rod (2) and then install retaining pin to 3rd-4th shift fork (1).
    CAUTION:
    • Never reuse retaining pin.
    • Be careful with the orientation of 3rd-4th fork rod.
    • Assemble retaining pin from the direction shown by the arrow in the figure until it becomes flush with the end surface of 3rd-4th shift fork.
      Fig 15: Identifying Retaining Pin Of 3rd-4th Shift Fork
      G04926582
  15. Install reverse shift fork (1) and reverse fork rod (2).
    CAUTION: Be careful with the orientation of reverse shift fork and reverse fork rod.
    Fig 16: Identifying Reverse Shift Fork And Reverse Fork Rod
    G04888907
  16. Rotate striking lever of striking rod assembly as shown in the figure. Then rotate reverse fork rod to a position where bracket of reverse fork rod does not interfere with striking lever of striking rod assembly.
    Fig 17: Rotating Striking Lever Of Striking Rod Assembly
    G04888879
  17. Install retaining pin to reverse shift fork (1).

    2 : Reverse fork rod

    CAUTION:
    • Never reuse retaining pin.
    • Assemble retaining pin from the direction shown by the arrow in the figure until it becomes flush with the end surface of reverse shift fork.
      Fig 18: Identifying Retaining Pin Of Reverse Shift Fork
      G04888878
  18. Install selected differential side bearing adjusting shim(s) and differential side bearing outer race (transaxle case side).
  19. Install selected reverse idler gear adjusting shim onto reverse idler gear assembly.
  20. Install selected input shaft rear bearing adjusting shim onto input shaft.
  21. Install selected striking rod adjusting shim and striking rod shim onto striking rod assembly.
  22. Install shifter lever oil seal (1) and striking rod oil seal (2) to transaxle case using the drift [Commercial service tool].

    Dimension "H" : 0 - 1.0 mm (0 - 0.039 in) 

    CAUTION:
    • Never reuse shifter lever oil seal and striking rod oil seal.
    • When installing, never incline shifter lever oil seal and striking rod oil seal.
    • Never damage transaxle case.
      Fig 19: Locating Shifter Lever Oil Seal And Striking Rod Oil Seal
      G04888910
  23. Install differential side oil seal (1) to transaxle case using the drift (A) [SST: ST30720000 (J-25405)].

    Dimension "H" : -0.5 - 0.5 mm (-0.020 - 0.020 in) 

    CAUTION:
    • Never reuse differential side oil seal.
    • When installing, never incline differential side oil seal.
    • Never damage transaxle case.
      Fig 20: Identifying Special Tool On Differential Side Oil Seal
      G04888911
  24. Install shifter lever B (1) and shifter lever A (2) to transaxle case.
    CAUTION: Be careful with the orientation of shifter lever B and shifter lever A.
    Fig 21: Identifying Shifter Lever
    G04888912
  25. Install retaining pin to shifter lever A.
    CAUTION:
    • Never reuse retaining pin.
    • Assemble retaining pin from the direction shown by the arrow in the figure until it becomes flush with the end surface of shifter lever A.
      Fig 22: Locating Retaining Pin
      G04888873
  26. Install transaxle case following the procedures below.
    1. Install selected mainshaft rear bearing adjusting shim into transaxle case.
    2. Install oil gutter A (1) and oil gutter B (2) to transaxle case.
      CAUTION: Insert the tab (A) of oil gutter A and oil gutter B into transaxle case.
      Fig 23: Identifying Oil Gutter
      G04888871
    3. Temporarily install snap ring of mainshaft rear bearing into transaxle case.
      CAUTION: Never reuse snap ring.
      Fig 24: Identifying Snap Ring
      G04888872
    4. Apply recommended sealant to mating surface of clutch housing as shown in the figure.
      CAUTION:
      • Remove old sealant adhering to the mounting surfaces. Also remove any moisture, oil, or foreign material adhering to both mounting surfaces.
      • Apply sealant so as not to break the bead.
      • The width of sealant bead is 1 - 2 mm (0.04 - 0.08 in).
      • The height of sealant bead is 0.4 - 1 mm (0.016 - 0.04 in).
      • The overlap length of both ends of sealant bead is 3 - 5 mm (0.12 - 0.20 in).
        Fig 25: Applying Sealant To Mating Surface Of Clutch Housing
        G04888916
    5. With shifter lever A (1) held in the position shown in the figure, temporarily assemble transaxle case to clutch housing.
      CAUTION: Never damage striking rod oil seal.
      NOTE: Make sure to hold shifter lever A in the position shown in the figure. Otherwise transaxle case cannot be installed to clutch housing.
      Fig 26: Identifying Shifter Lever Position
      G04888870
    6. While rotating shifter lever A (1) in the direction of the arrow in the figure, assemble transaxle case to clutch housing.

      2 : shifter lever B

      Fig 27: Identifying Shifter Lever Position
      G04888918
    7. Accessing from the bore plug hole, expand snap ring at mainshaft rear bearing so that the ring catches the periphery of mainshaft rear bearing.
    8. Temporarily tighten transaxle case mounting bolts.
      Fig 28: Identifying Snap Ring At Mainshaft Rear Bearing
      G04888869
    9. Shift the shifter lever A (1) to 2nd gear position.
      NOTE:
      • The 2nd gear position is attained when shifter lever A is in the position shown in the figure.
        Fig 29: Shifting Shifter Lever A To 2nd Gear Position
        G04888920
      • When transaxle is shifted to the 2nd gear position, mainshaft assembly is lifted.
    10. Seat snap ring in the groove on mainshaft rear bearing. If snap ring is not seated in the groove on mainshaft rear bearing, remove transaxle case and repeat the procedure from step  d.
      Fig 30: Identifying Snap Ring Seat Position Onto Mainshaft Rear Bearing
      G04888921
    11. Tighten transaxle case mounting bolts to the specified torque. Refer to "CASE AND HOUSING COMPONENTS ".
      Fig 31: Locating Transaxle Case Mounting Bolts
      G04888867
    12. Shift the shifter lever A (1) to neutral position.
      NOTE: The neutral position is attained when shifter lever A is in the position shown in the figure.
      Fig 32: Shifting Shifter Lever A To Neutral Position
      G04888923
  27. Install bore plug to transaxle case using the drift.
    CAUTION: Never reuse bore plug.
    Fig 33: Identifying Special Tool On Bore Plug
    G04888924
  28. Install selector lever to transaxle case and then install retaining pin to selector lever.
    CAUTION:
    • Never reuse retaining pin.
    • Assemble retaining pin from the direction shown by the arrow in the figure until it becomes flush with the end surface of selector lever.
      Fig 34: Locating Retaining Pin
      G04888866
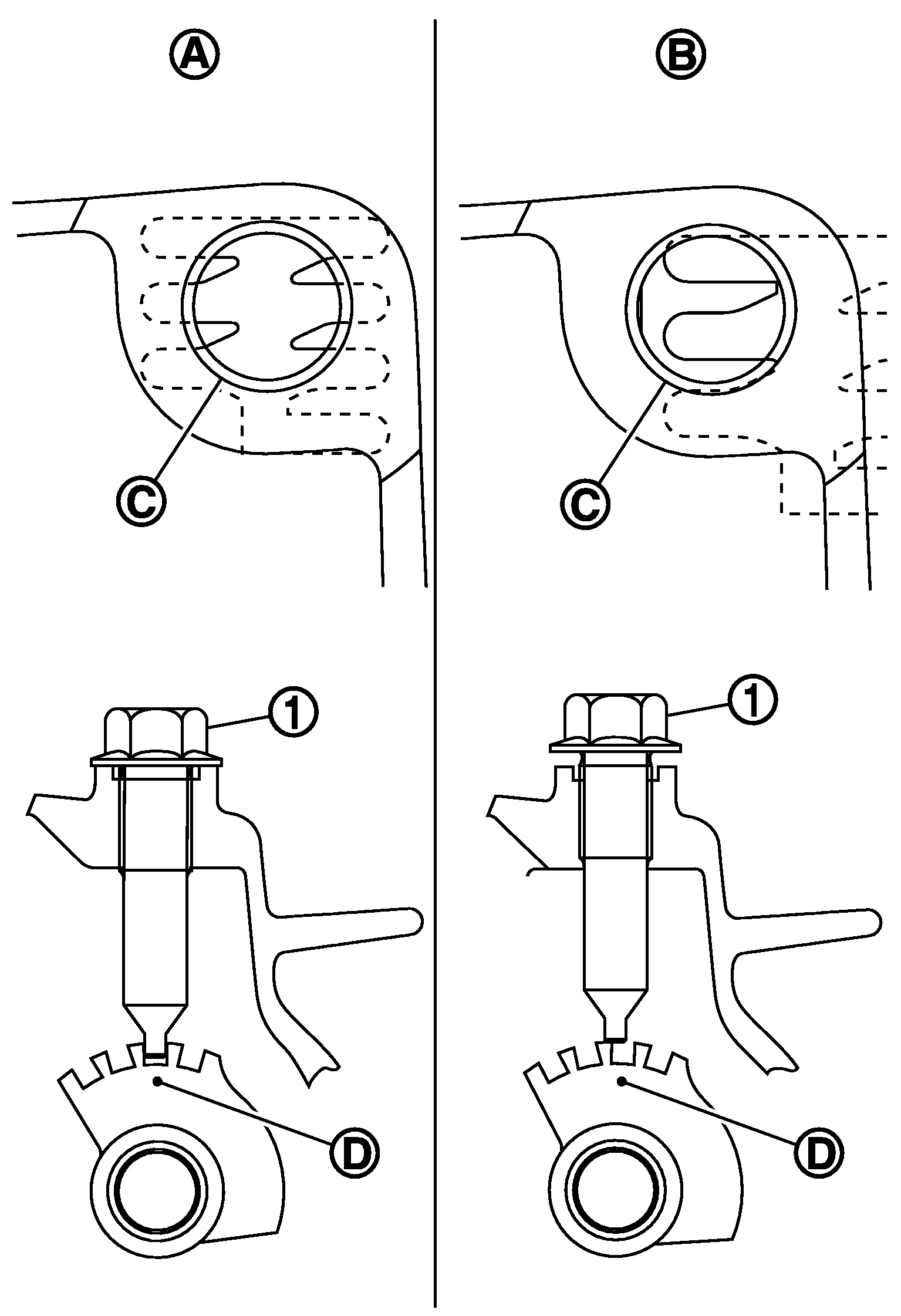
  29. Install guide bolt following the procedures below.
    1. Shift the shifter lever A and selector lever to neutral position.
    2. Visually confirm from the guide bolt mounting hole (C) that the lever is securely set to neutral position (A). If it is not in the neutral position, repeat the procedure from step  a.

      1 : Guide bolt

      CAUTION: The guide groove (D) of striking rod assembly will be damaged when assembling guide bolt with the lever is in except neutral position (B).
    3. Check continuity between terminals of park/neutral position (PNP) switch to confirm it in the neutral position. If it is not in the neutral position, remove park/neutral position (PNP) switch and repeat the procedure from step  a. Refer to "CHECKING ".
      Fig 35: Identifying Guide Bolt Position
      G04888926
    4. Install guide bolt to transaxle case and then tighten guide bolt to the specified torque. Refer to "SHIFT CONTROL COMPONENTS ".
      CAUTION: Never reuse guide bolt.
      Fig 36: Locating Guide Bolt
      G04888865
  30. Apply recommended sealant to threads of park/neutral position (PNP) switch (1). Then install it to transaxle case and tighten to the specified torque. Refer to "CASE AND HOUSING COMPONENTS ".
    CAUTION: Remove old sealant and oil adhering to threads.
  31. Install plunger to transaxle case.
  32. Apply recommended sealant to threads of back-up lamp switch (2). Then install it to transaxle case and tighten to the specified torque. Refer to "CASE AND HOUSING COMPONENTS ".
    Fig 37: Identifying Park/Neutral Position (PNP) Switch, Back-Up Lamp Switch And Air Breather Tube
    G04888864
    CAUTION: Remove old sealant and oil adhering to threads.
  33. Install air breather tube (3) to transaxle case.
    CAUTION:
    • Never reuse air breather tube.
    • Assemble air breather tube until its collar element contacts with transaxle case.
  34. Install gasket onto plug and then install them into transaxle case. Tighten plug to the specified torque. Refer to "CASE AND HOUSING COMPONENTS ".
    CAUTION: Never reuse gasket.
    Fig 38: Locating Plug
    G04888863
  35. Install gasket onto drain plug and then install them into clutch housing. Tighten drain plug to the specified torque. Refer to "CASE AND HOUSING COMPONENTS ".
    CAUTION: Never reuse gasket.
    Fig 39: Locating Drain Plug
    G04888862
  36. Install O-ring onto plug (with ABS models) or speedometer pinion gear (without ABS models) and then install it into clutch housing. Tighten mounting bolt to the specified torque. Refer to "CASE AND HOUSING COMPONENTS ".
    CAUTION:
    • Never reuse O-ring.
    • After oil is filled, tighten mounting bolt to specified torque.
      Fig 40: Locating Plug Mounting Bolt
      G04926538