LEMON Manuals: Even more car manuals for everyone: 1960-2025
Home >> Nissan-Datsun >> 2010 >> Cube Base >> Repair and Diagnosis >> Accessories & Equipment >> Entertainment Systems >> Audio, Visual, Navigation System >> Audio System >> System Description >> Hands-Free Phone System >> System Diagram
April 5, 2026: LEMON Manuals is launched! Read the announcement.

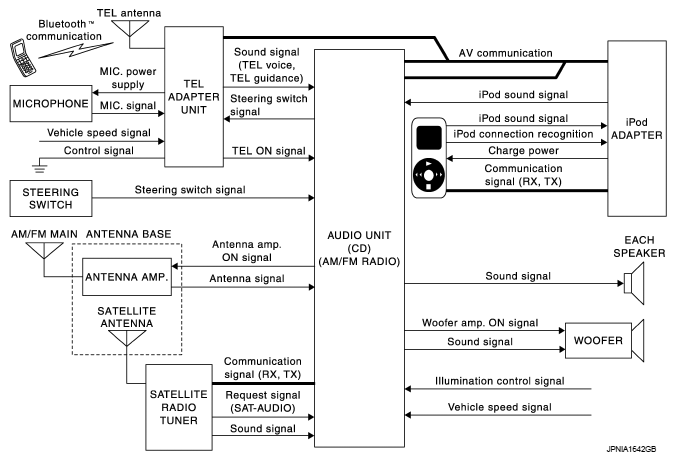
System Diagram

Fig 1: Audio System Diagram - With iPod® Connection Function And Hands-Free Phone
G05918182Courtesy of NISSAN MOTOR CO., U.S.A.
NOTE: An antenna base integrated with radio antenna amp. and satellite radio antenna is adopted.
Fig 2: Radio And Satellite Radio Antenna System Diagram
G05731530Courtesy of NISSAN MOTOR CO., U.S.A.