LEMON Manuals: Even more car manuals for everyone: 1960-2025
Home >> Nissan-Datsun >> 2020 >> 370Z Base, Automatic Trans >> Repair and Diagnosis >> Engine Performance >> System >> Engine Control System (Diagnostics) (2 Of 2) >> Component/Circuit Diagnosis >> Cooling Fan Relay >> Component Inspection
April 5, 2026: LEMON Manuals is launched! Read the announcement.

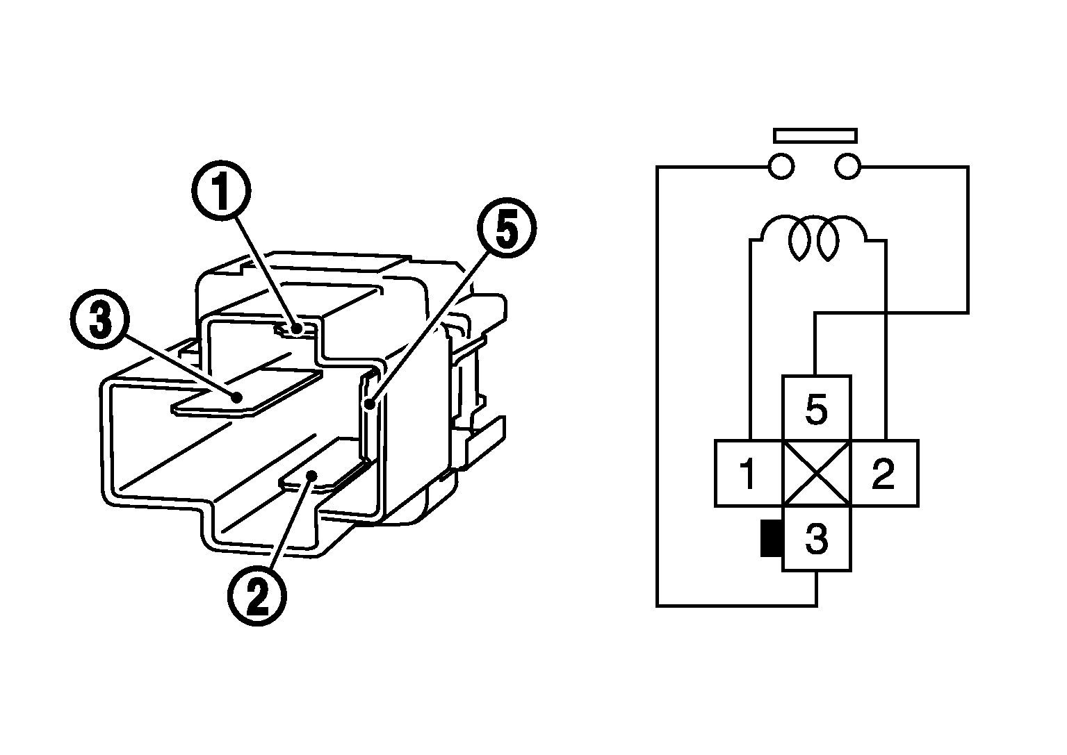
Component Inspection

  1. CHECK COOLING FAN RELAY 
    1. Turn ignition switch OFF.
    2. Remove cooling fan relay.
    3. Check the continuity between cooling fan relay terminals under the following conditions.
      GNSJPBIA3013Z-013Courtesy of NISSAN NORTH AMERICA, INC.

      Terminals

      Conditions

      Continuity

      3 and 5

      12 V direct current supply between terminals 1 and 2

      Existed

      No current supply

      Not existed

    Is the inspection result normal?

    YES

    INSPECTION END

    NO

    Replace cooling fan relay.