LEMON Manuals: Even more car manuals for everyone: 1960-2025
Home >> Nissan-Datsun >> 2020 >> 370Z Base, Automatic Trans >> Repair and Diagnosis >> External Pages >> Different car >> Section 7 (Security Control System) >> System Description >> Intelligent Key System/Engine Start Function >> System Diagram
April 5, 2026: LEMON Manuals is launched! Read the announcement.

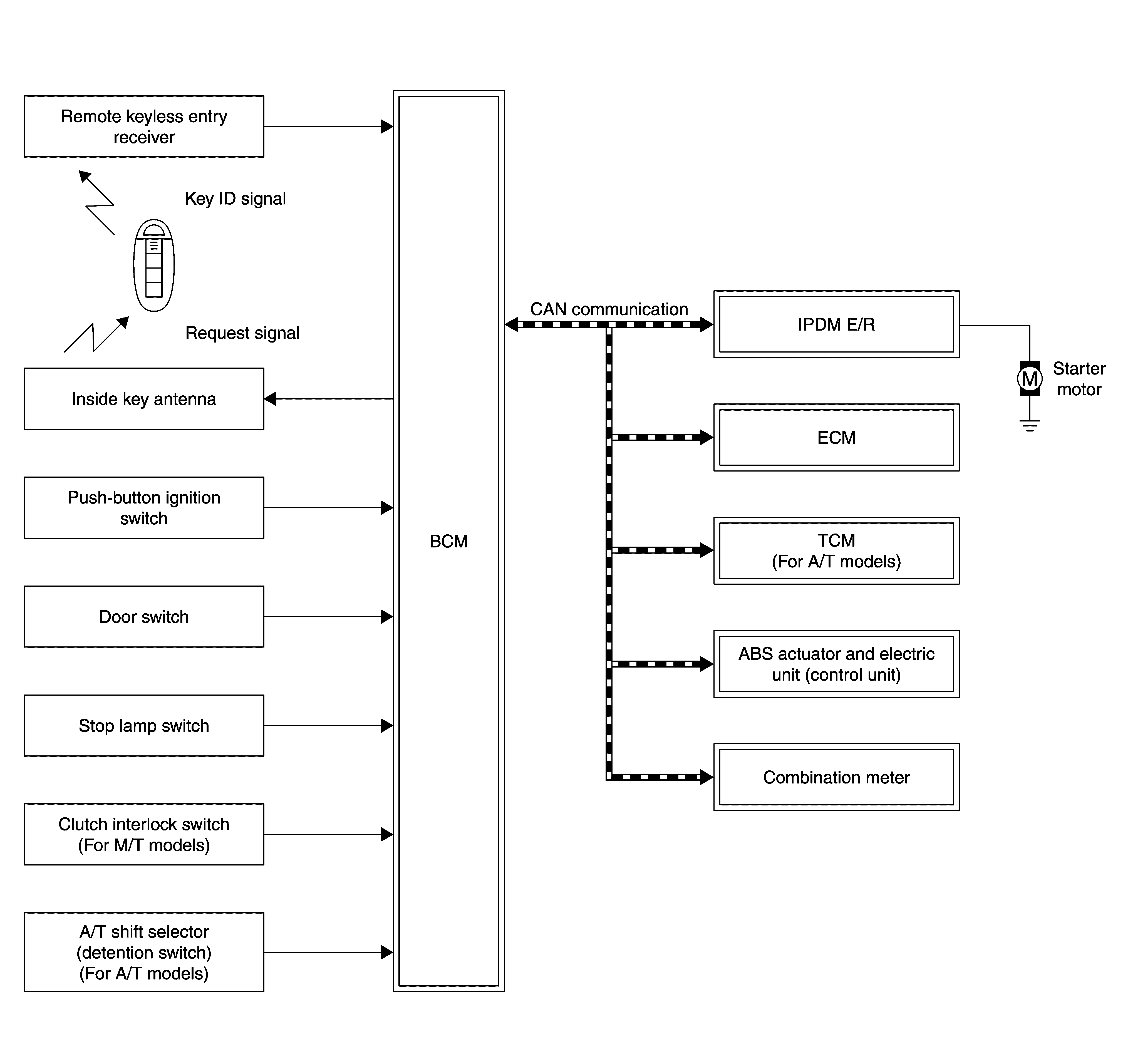
System Diagram

WARNING: This page is about a different car, the 2017 Nissan 370Z and 2016 Nissan 370Z. However, it is still accessible from the selected car via links, so may be relevant.
G08103450Courtesy of NISSAN NORTH AMERICA, INC.