LEMON Manuals: Even more car manuals for everyone: 1960-2025
Home >> Nissan-Datsun >> 2020 >> Altima SL, AWD >> Repair and Diagnosis >> Engine Performance >> Engine Control Systems >> Engine Control System (Pr25DD) (2 Of 2) >> Removal And Installation >> ECM >> ECM : Exploded View
April 5, 2026: LEMON Manuals is launched! Read the announcement.

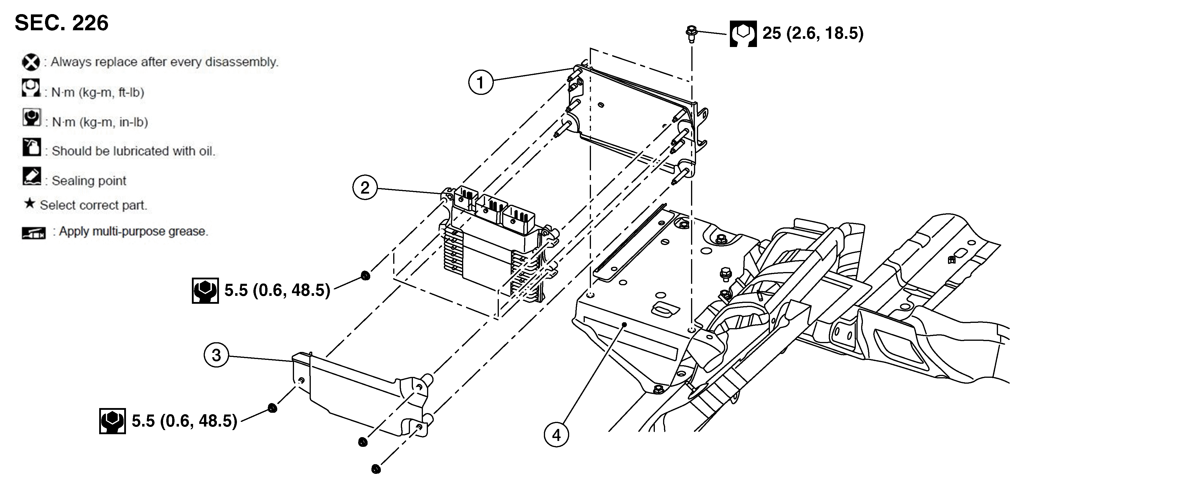
ECM : Exploded View

Fig 1: ECM Components With Torque Specifications
GNSAWBIA0329Z-329Courtesy of NISSAN NORTH AMERICA, INC.

1.

Rear bracket

2.

ECM

3.

Front bracket

4.

Battery tray