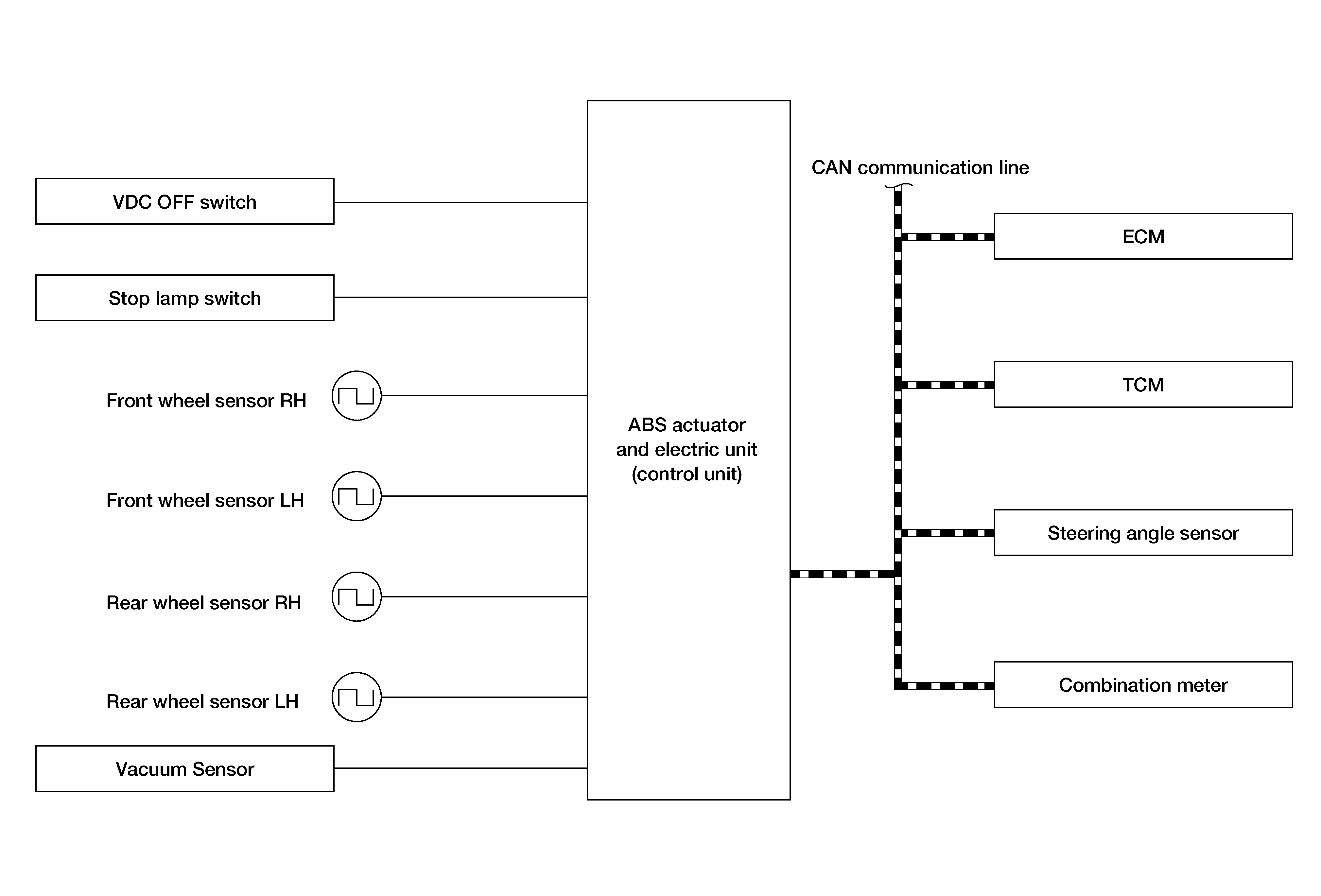
System Diagram
- When the driver brakes hard in an emergency, the stopping distance is reduced by increasing brake fluid pressure.
- Fail-safe function is adopted. When a malfunction occurs in brake assist function, the control is suspended for VDC function, TCS function and brake assist function. The vehicle status becomes the same as models without VDC function, TCS function and brake assist function. However, ABS function and EBD function are operated normally. Refer to Fail-Safe .