LEMON Manuals
: Even more car manuals for everyone: 1960-2025
Home
>>
Nissan-Datsun
>>
2020
>>
Rogue S, AWD
>>
Repair and Diagnosis
>>
Engine Performance
>>
Engine Control Systems
>>
Engine Control System
>>
Removal And Installation
>>
ECM
>>
Removal and Installation
>>
Installation
April 5, 2026:
LEMON Manuals is launched!
Read the announcement.
Removal and Installation: Installation
Installation is in the reverse order of removal.
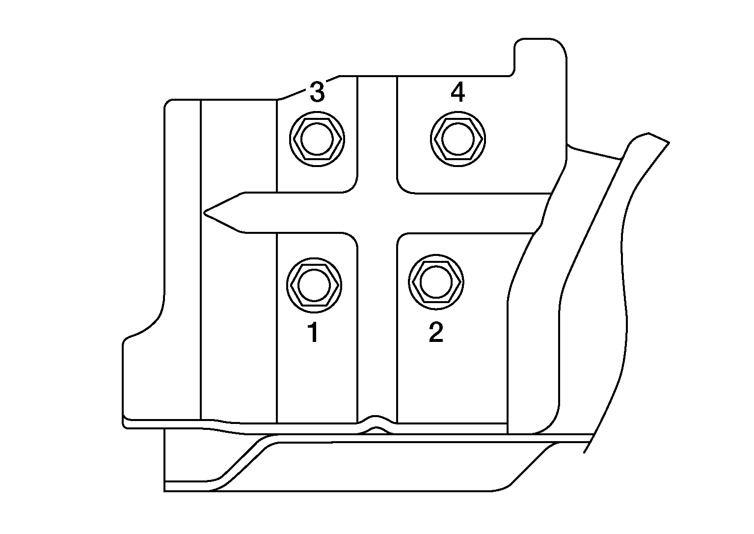
Install the ECM rear cover and tighten the bolts in the numerical order as shown (if removed).
Fig 1: ECM Rear Cover Bolts Tightening Sequence
Courtesy of NISSAN NORTH AMERICA, INC.