LEMON Manuals: Even more car manuals for everyone: 1960-2025
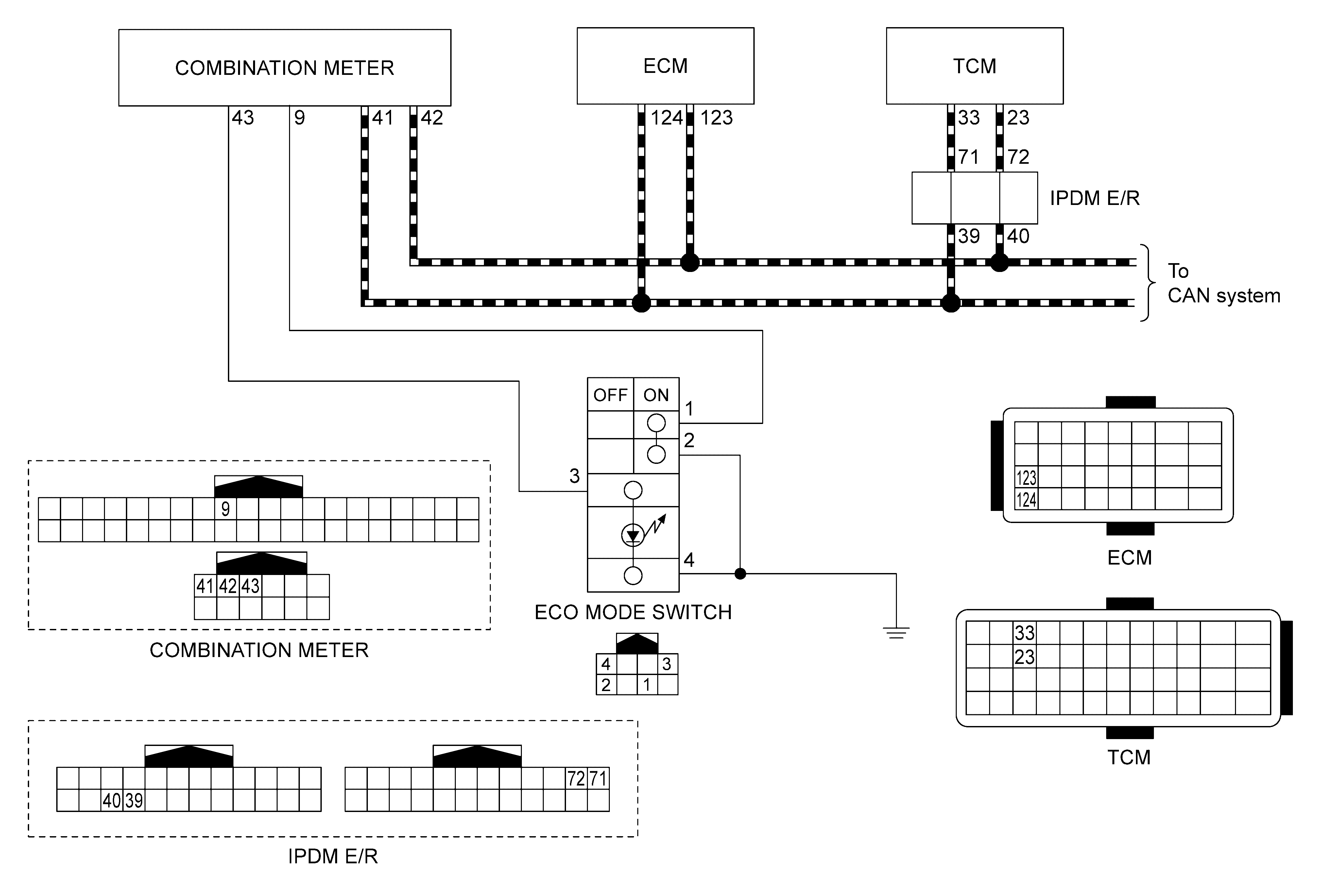
Home >> Nissan-Datsun >> 2020 >> Rogue Sport SL, AWD >> Repair and Diagnosis >> Engine Performance >> Engine Control Systems >> Drive Mode System (Diagnostics) >> Description >> System >> ECO Mode >> Circuit Diagram >> CVT models
April 5, 2026: LEMON Manuals is launched! Read the announcement.

CVT models

GNSILL0279483-483Courtesy of NISSAN NORTH AMERICA, INC.