LEMON Manuals: Even more car manuals for everyone: 1960-2025
Home >> Nissan-Datsun >> 2020 >> Sentra S >> Repair and Diagnosis >> Transmission >> Automatic Trans >> Automatic Transmission >> System Description >> Structure And Operation >> Shift Lock System >> System Description >> Shift Lock Operation At P Position
April 5, 2026: LEMON Manuals is launched! Read the announcement.

Shift Lock Operation At P Position

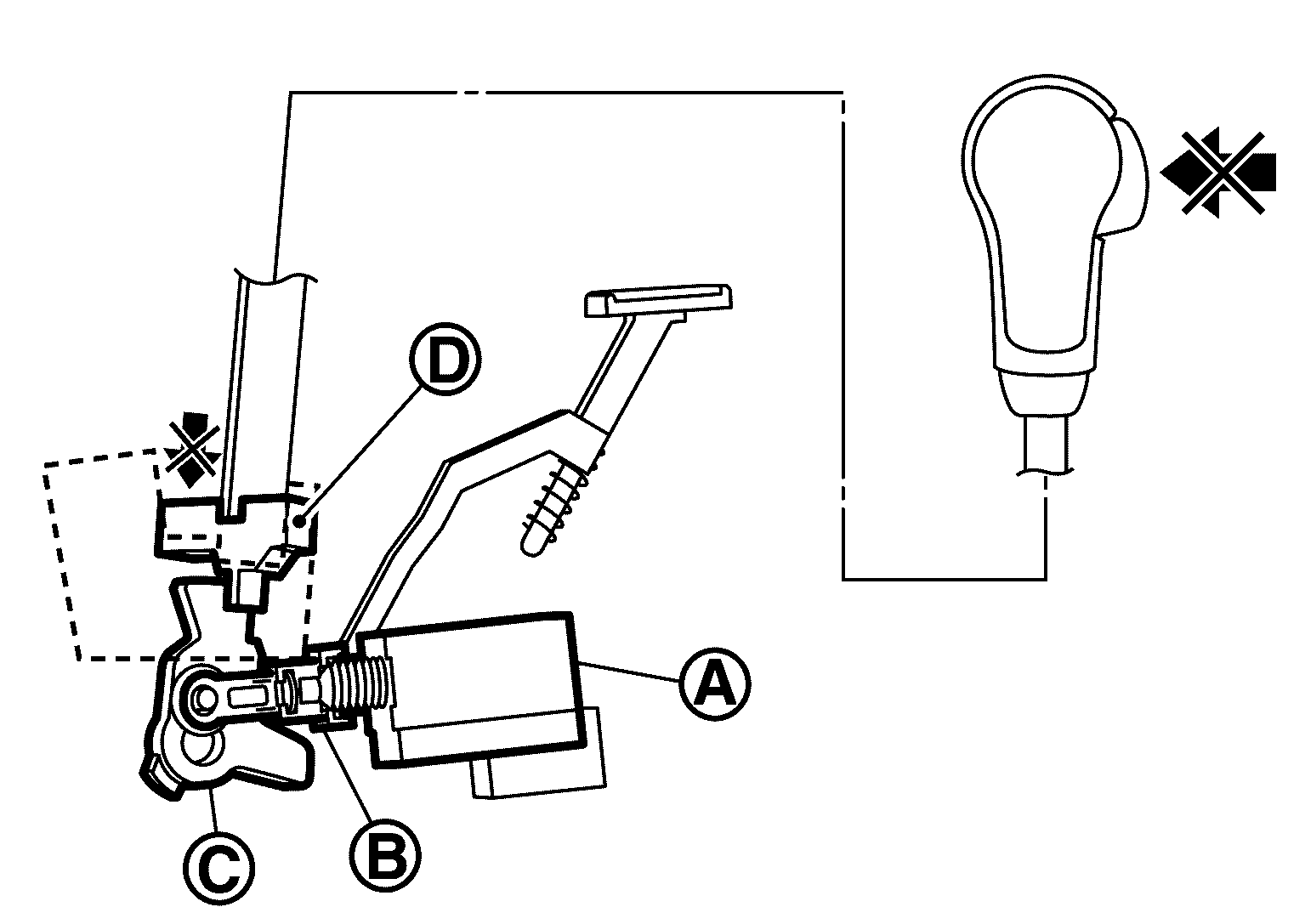
When brake pedal is not depressed (no selector operation allowed) 

When the brake pedal is not depressed with the ignition switch ON, the shift lock solenoid (A) is OFF (not energized) and the solenoid rod (B) is extended with spring.

GNSJSDIA2338Z-338Courtesy of NISSAN NORTH AMERICA, INC.

The connecting lock lever (C) is located at the position shown in the figure when the solenoid rod is extended. It prevents the movement of the detent rod (D). The selector lever cannot be shifted from the P position for this reason.

When brake pedal is depressed (selector lever operation allowed) 

The shift lock solenoid (A) is turned ON (energized) when the brake pedal is depressed with the ignition switch ON. The solenoid rod (B) is compressed with the electromagnetic force. The connecting lock lever (C) rotates when the solenoid rod is compressed. Therefore, the detent rod (D) can be moved. The selector lever can be shifted to other positions for this reason.

GNSJSDIA2339Z-339Courtesy of NISSAN NORTH AMERICA, INC.