LEMON Manuals: Even more car manuals for everyone: 1960-2025
Home >> Nissan-Datsun >> 2020 >> Sentra SV >> Repair and Diagnosis (Single Page) >> Accessories & Equipment >> Drivers Assistance Systems - ADAS >> Intelligent Around View Monitor System >> System Description >> System >> System Description >> System Diagram
April 5, 2026: LEMON Manuals is launched! Read the announcement.

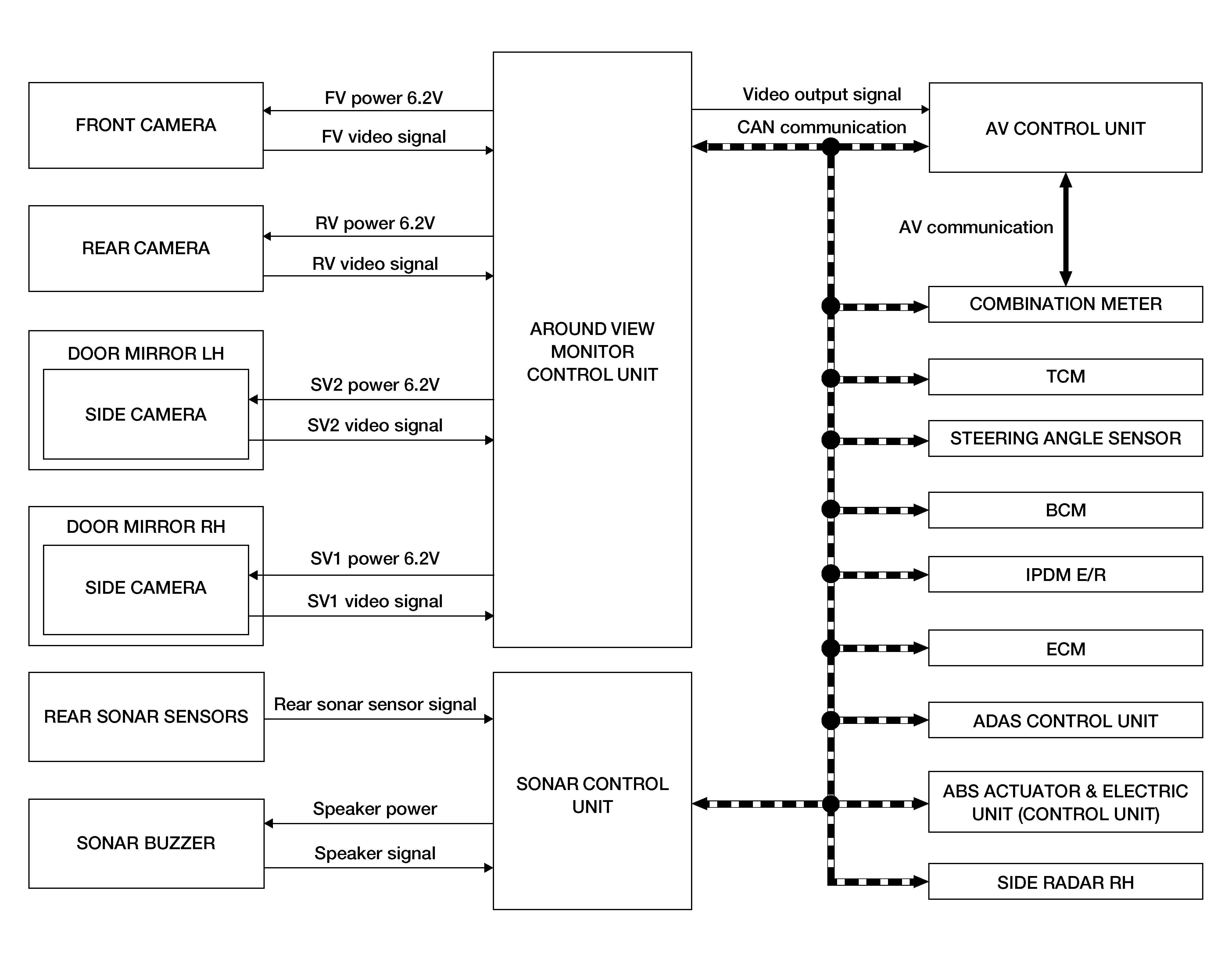
System Diagram

GNSAWNIA0477GB-477Courtesy of NISSAN NORTH AMERICA, INC.

Around View Monitor Control Unit Input Signal (CAN Communication) 

Transmit unit

Signal name

AV control unit

Camera switch signal

Combination meter

Parking brake signal

TCM

Transmission range sensor signal

Steering Angle Sensor

Steering wheel angle signal

BCM

Door switch state signal

IPDM E/R

Ignition supply signal

ECM

Pedal failure signal

ADAS control unit

Alert 1 and 2 signal

ABS actuator and electric unit (Control unit)

Vehicle speed signal

Side radar RH

right and left alert signal

Sonar control unit

Display request signal

Around View Monitor Control Unit Output Signal (CAN Communication) 

Transmit unit

Signal name

AV control unit

View change signal

Sonar control unit

MOD beep sound output request signal

Sonar Control Unit Input Signal (CAN Communication) 

Transmit unit

Signal name

ABS actuator and electric unit (control unit)

Vehicle speed signal

Combination meter

Sonar system pause request signal

TCM

Transmission range sensor signal