LEMON Manuals: Even more car manuals for everyone: 1960-2025
Home >> Nissan-Datsun >> 2021 >> Altima S >> Repair and Diagnosis (Single Page) >> Accessories & Equipment >> Drivers Assistance Systems - ADAS >> ADAS Control Unit >> System Description >> System >> WITH ProPILOT ASSIST >> System Description - With Pro Pilot >> System Diagram
April 5, 2026: LEMON Manuals is launched! Read the announcement.

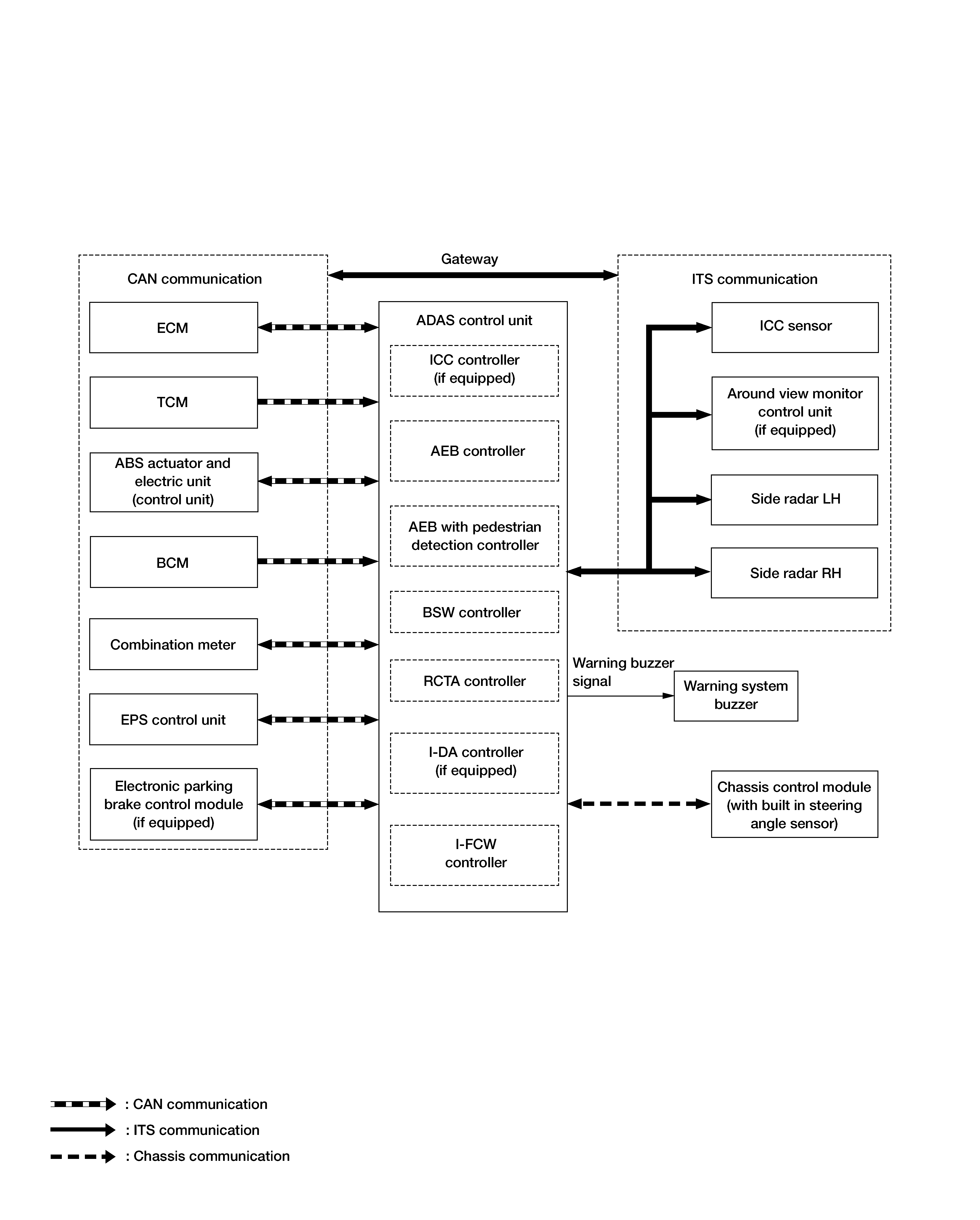
System Diagram

GNSALOIA0215Z-215Courtesy of NISSAN NORTH AMERICA, INC.