LEMON Manuals: Even more car manuals for everyone: 1960-2025
Home >> Nissan-Datsun >> 2021 >> Altima S >> Repair and Diagnosis >> Brakes >> Traction Control >> Brake Control System >> Description >> System >> Abs Function >> System Description >> System Diagram
April 5, 2026: LEMON Manuals is launched! Read the announcement.

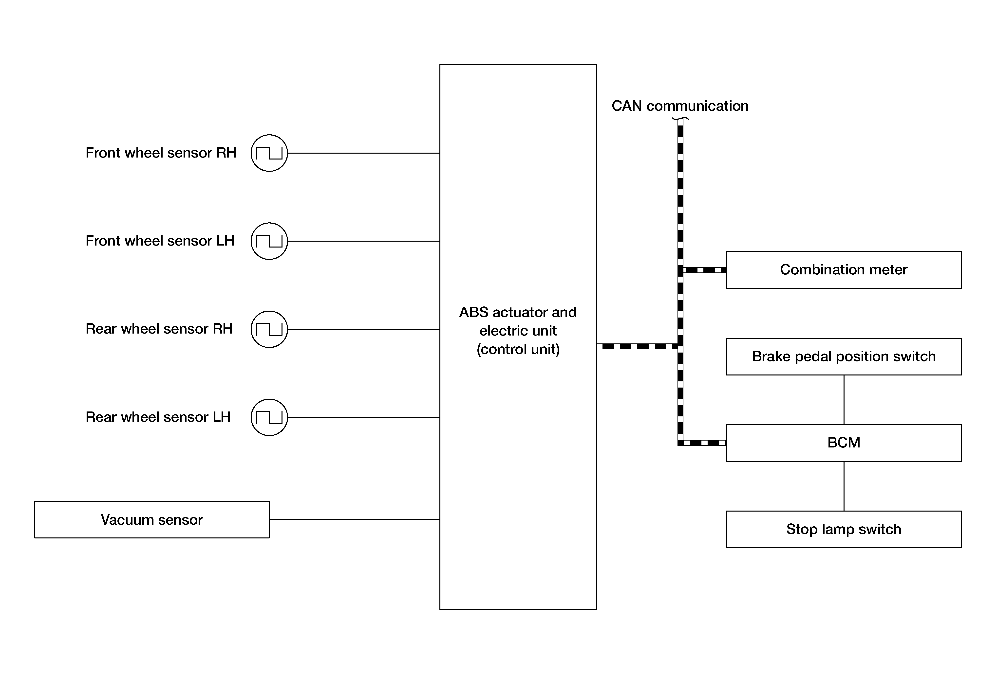
System Diagram

G05741244Courtesy of NISSAN NORTH AMERICA, INC.