LEMON Manuals: Even more car manuals for everyone: 1960-2025
Home >> Nissan-Datsun >> 2021 >> Maxima SV >> Repair and Diagnosis (Single Page) >> Accessories & Equipment >> Drivers Assistance Systems - ADAS >> Intelligent Around View Monitor System >> System Description >> System >> System Description >> System Diagram
April 5, 2026: LEMON Manuals is launched! Read the announcement.

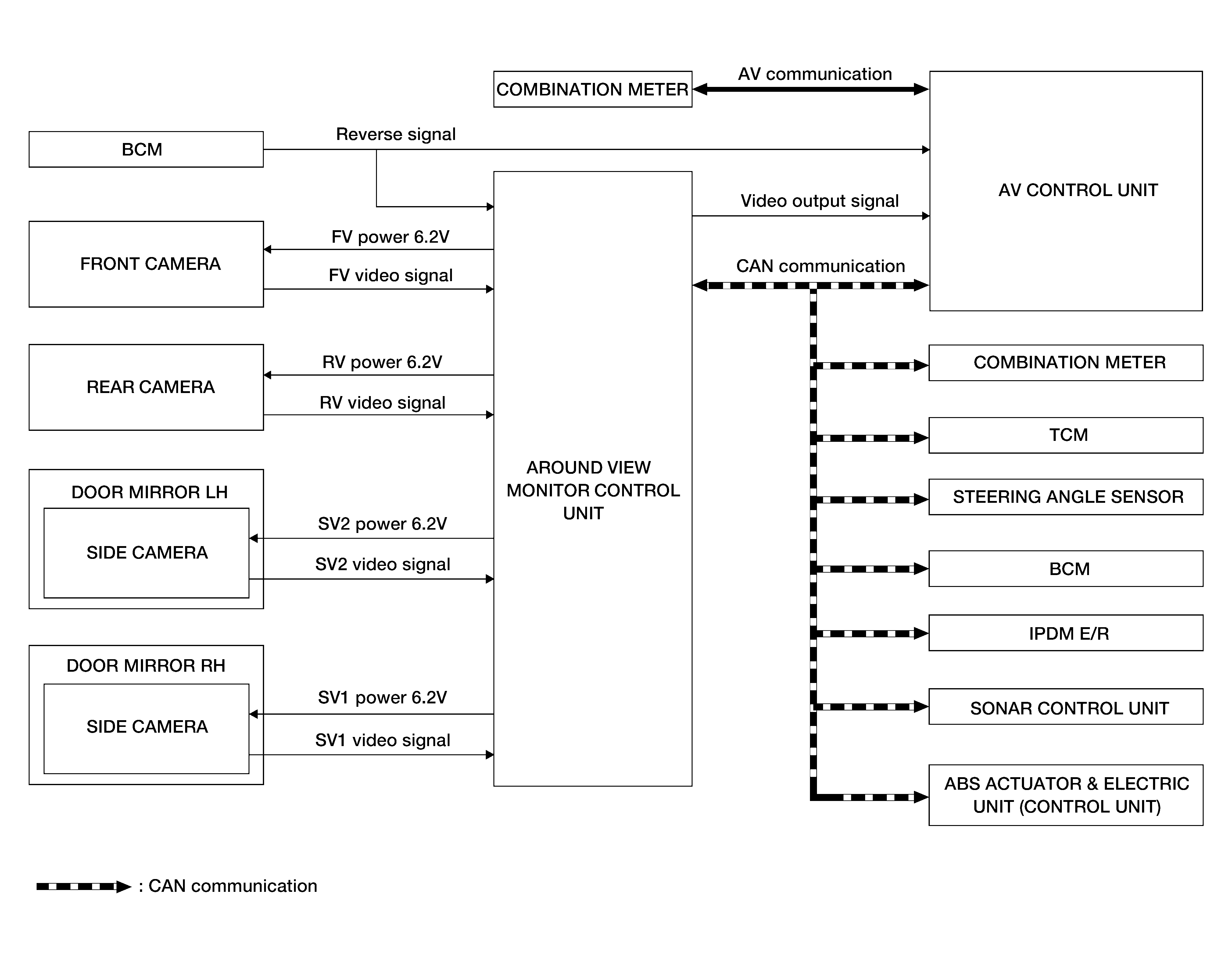
System Diagram

GNSAWNIA0526GB-526Courtesy of NISSAN NORTH AMERICA, INC.

Around View Monitor Control Unit Input Signal (CAN Communication) 

Transmit unit

Signal name

ABS actuator and electrical unit (Control unit)

Wheel speed signal

AV control unit

Camera switch signal

BCM

Door switches state signal

Combination meter

  • Setting change request signal
  • Hand brake switch signal

IPDM E/R

Battery voltage signal

Sonar control unit

Sonar detection display request signal

Steering angle sensor

Steering angle signal

TCM

Transmission range indication signal