LEMON Manuals: Even more car manuals for everyone: 1960-2025
Home >> Nissan-Datsun >> 2021 >> NV200 S >> Repair and Diagnosis >> Engine Performance >> Engine Control Systems >> Engine Control System (1 Of 2) >> System Description >> Component Parts >> Engine Control System >> Battery Current Sensor
April 5, 2026: LEMON Manuals is launched! Read the announcement.

Battery Current Sensor

The power generation voltage variable control enables fuel consumption to be decreased by reducing the engine load which is caused by the power generation of the generator.

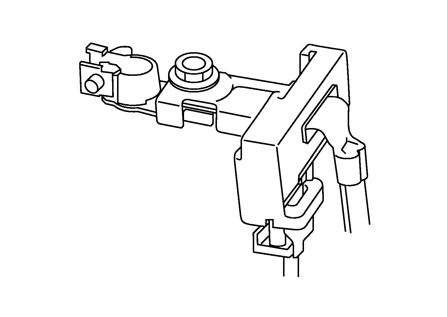
GNSJPBIA3262Z-262Courtesy of NISSAN NORTH AMERICA, INC.

Based on sensor signals, ECM judges whether or not the power generation voltage variable control is performed. When performing the power generation voltage variable control, ECM calculates the target power generation voltage based on the sensor signal. And ECM sends the calculated value as the power generation command value to IPDM E/R.

The battery current sensor is installed to the battery cable at the negative terminal. The sensor measures the charging/discharging current of the battery.

CAUTION: Never connect the electrical component or the ground wire directly to the battery terminal. The connection causes the malfunction of the power generation voltage variable control, and then the battery discharge may occur.