LEMON Manuals: Even more car manuals for everyone: 1960-2025
Home >> Nissan-Datsun >> 2021 >> NV200 S >> Repair and Diagnosis >> Engine Performance >> Fuel Delivery >> Fuel System >> Disassembly And Assembly >> EVAP Canister >> Exploded View
April 5, 2026: LEMON Manuals is launched! Read the announcement.

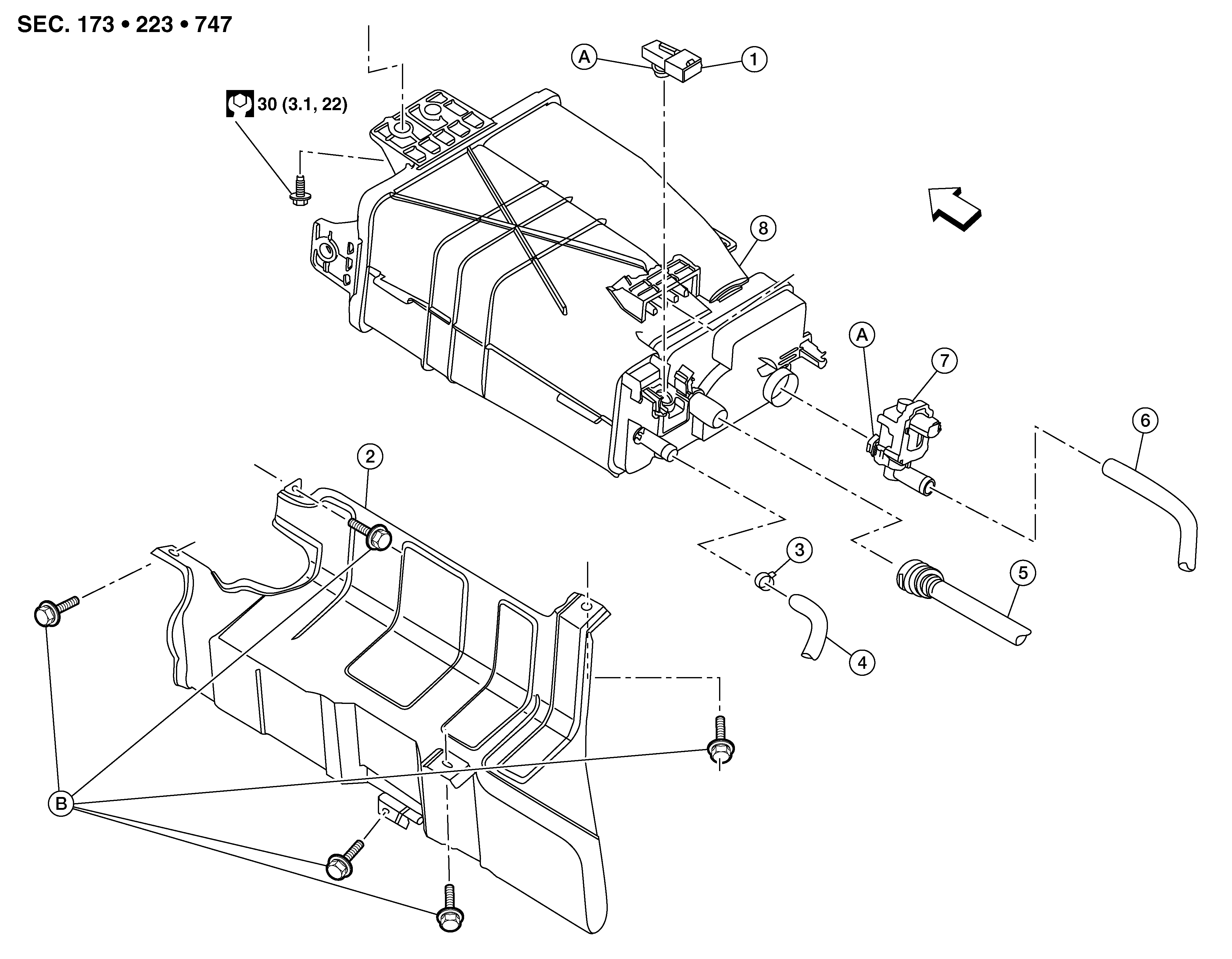
Exploded View

GNSAWBIA0061Z-061Courtesy of NISSAN NORTH AMERICA, INC.

1.

EVAP canister control pressure sensor

2.

EVAP canister protector

3.

Hose clamp

4.

EVAP canister purge hose

5.

EVAP canister vent line

6.

EVAP canister vent control valve hose

7.

EVAP canister vent control valve

8.

EVAP canister

A.

O-ring

B.

EVAP canister protector bolts

SYMBOL

Front