LEMON Manuals: Even more car manuals for everyone: 1960-2025
Home >> Nissan-Datsun >> 2021 >> NV2500 HD S >> Repair and Diagnosis >> Electrical >> Starter >> Starting System >> System Description >> System >> System Diagram
April 5, 2026: LEMON Manuals is launched! Read the announcement.

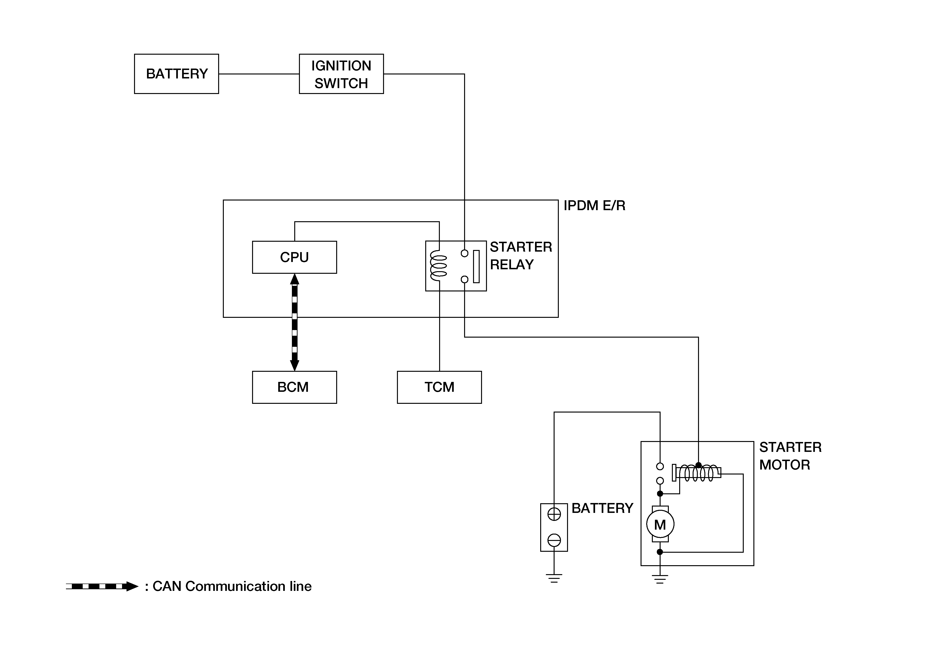
System Diagram

GNSDB117624Courtesy of NISSAN NORTH AMERICA, INC.