LEMON Manuals: Even more car manuals for everyone: 1960-2025
Home >> Nissan-Datsun >> 2021 >> NV2500 HD S >> Repair and Diagnosis >> External Pages >> Different car >> Section 472 (Body Control System) >> System Description >> System >> Combination And Lighting Switch Reading System >> System Description >> System Diagram
April 5, 2026: LEMON Manuals is launched! Read the announcement.

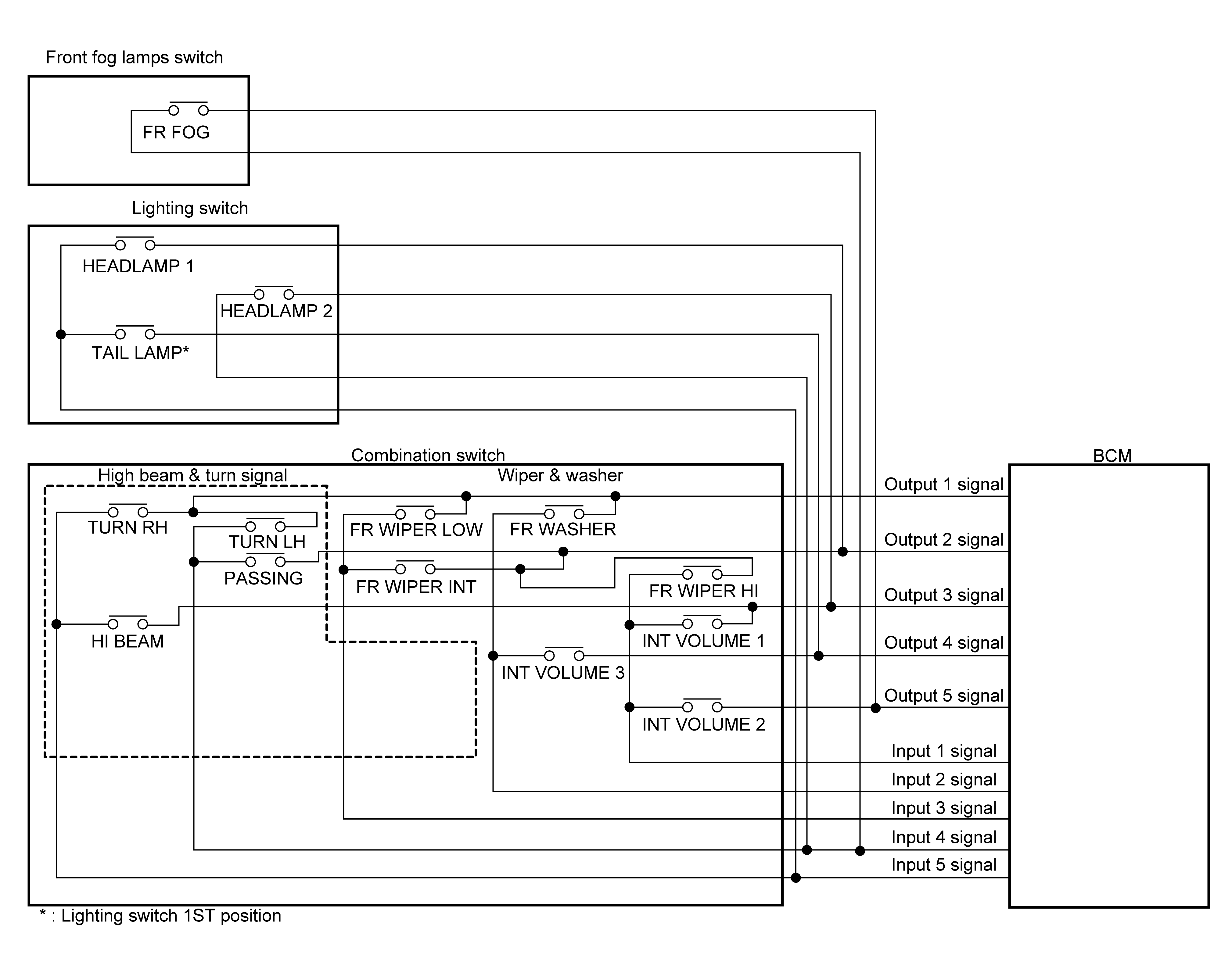
System Diagram

WARNING: This page is about a different car, the 2019 Nissan NV3500 HD, 2019 Nissan NV2500 HD, and 2019 Nissan NV1500. However, it is still accessible from the selected car via links, so may be relevant.
G08436912Courtesy of NISSAN NORTH AMERICA, INC.