LEMON Manuals: Even more car manuals for everyone: 1960-2025
Home >> Nissan-Datsun >> 2021 >> Sentra S >> Repair and Diagnosis (Single Page) >> Body & Frame >> Door Locks >> Door & Lock >> System Description >> System (Intelligent Key System) >> Remote Keyless Entry Function >> System Diagram
April 5, 2026: LEMON Manuals is launched! Read the announcement.

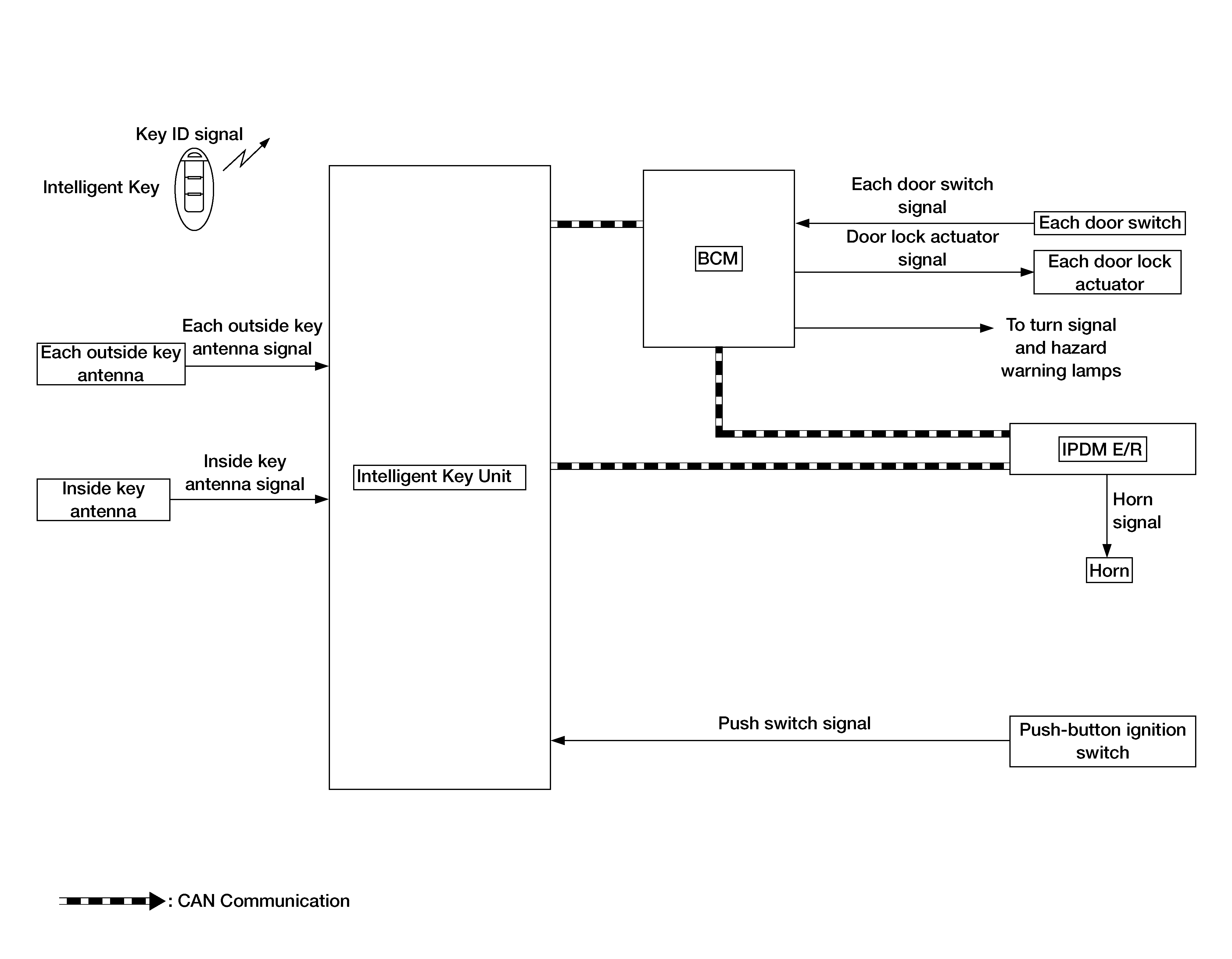
System Diagram

GNSAWKIA0267GB-267Courtesy of NISSAN NORTH AMERICA, INC.