LEMON Manuals: Even more car manuals for everyone: 1960-2025
Home >> Nissan-Datsun >> 2021 >> Sentra S >> Repair and Diagnosis (Single Page) >> Electrical >> Motors, Switches, Relays >> Body Control System >> System Description >> System >> Combination Switch Reading System >> System Description >> Combination Switch Matrix
April 5, 2026: LEMON Manuals is launched! Read the announcement.

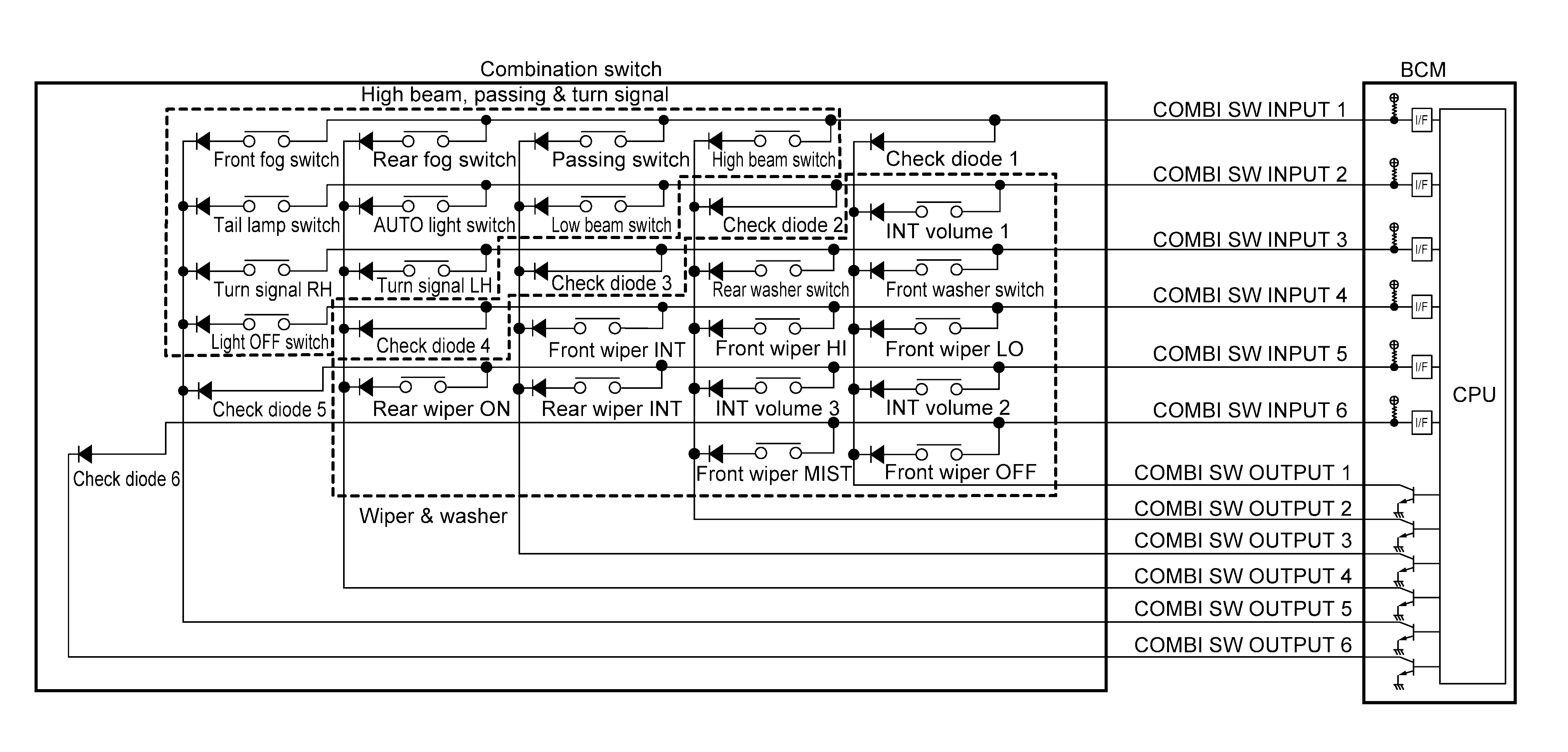
Combination Switch Matrix

GNSILL0259696-696Courtesy of NISSAN NORTH AMERICA, INC.
Combination switch INPUT-OUTPUT system list

System

INPUT 1

INPUT 2

INPUT 3

INPUT 4

INPUT 5

INPUT 6

OUTPUT 1

Check diode 1

INT volume 1

Front washer switch

Front wiper LO

INT volume 2

Front wiper OFF

OUTPUT 2

High beam switch

Check diode 2

Rear washer switch

Front wiper HI

INT volume 3

Front wiper MIST

OUTPUT 3

Passing switch

Low beam switch

Check diode 3

Front wiper INT

Rear wiper INT

--

OUTPUT 4

Rear fog switch

AUTO light switch

Turn signal LH

Check diode 4

Rear wiper ON

--

OUTPUT 5

Front fog switch

Tail lamp switch

Turn signal RH

Light OFF switch

Check diode 5

--

OUTPUT 6

--

--

--

--

--

Check diode 6