Steering Column
- Check each part of steering column for damage or other malfunctions. Replace entire steering column if any parts are damaged.
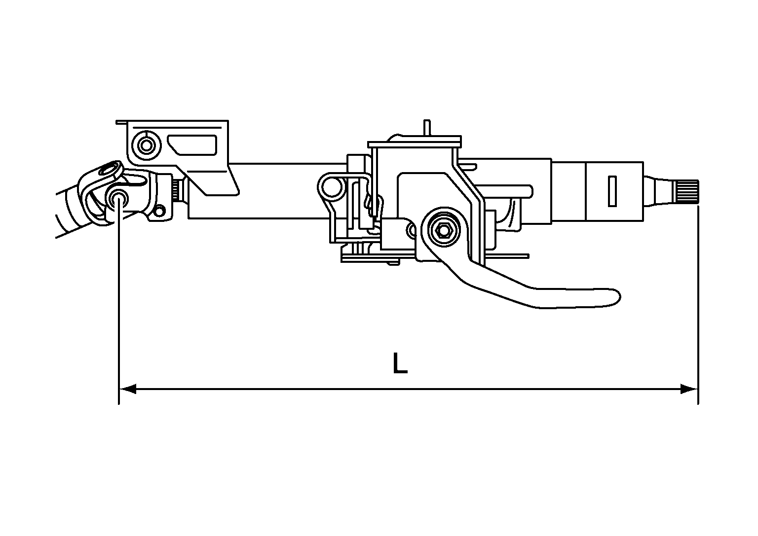
- Check length (L) as shown below, if vehicle has been involved in a collision. Replace steering column if column length is outside specification.
Steering column length (L)
: Refer to Steering Column .
- Measure steering column rotating torque using suitable tool (A). Replace steering column if rotating torque is outside specification.
Rotating torque
: Refer to Steering Column .
- Check tilt and telescopic mechanism operating range (A) and (B) as shown, below.
Tilt operating range (A)
: Refer to Steering Column .
Telescopic operating range (B)
: Refer to Steering Column .