LEMON Manuals: Even more car manuals for everyone: 1960-2025
Home >> Nissan-Datsun >> 2021 >> Sentra SV >> Repair and Diagnosis >> Electrical >> Body Electrical >> Power Control System (IPDM E/R) >> System Description >> System >> Power Control System >> System Description >> System Diagram
April 5, 2026: LEMON Manuals is launched! Read the announcement.

System Diagram

GNSAWMIA0275GB-275Courtesy of NISSAN NORTH AMERICA, INC.

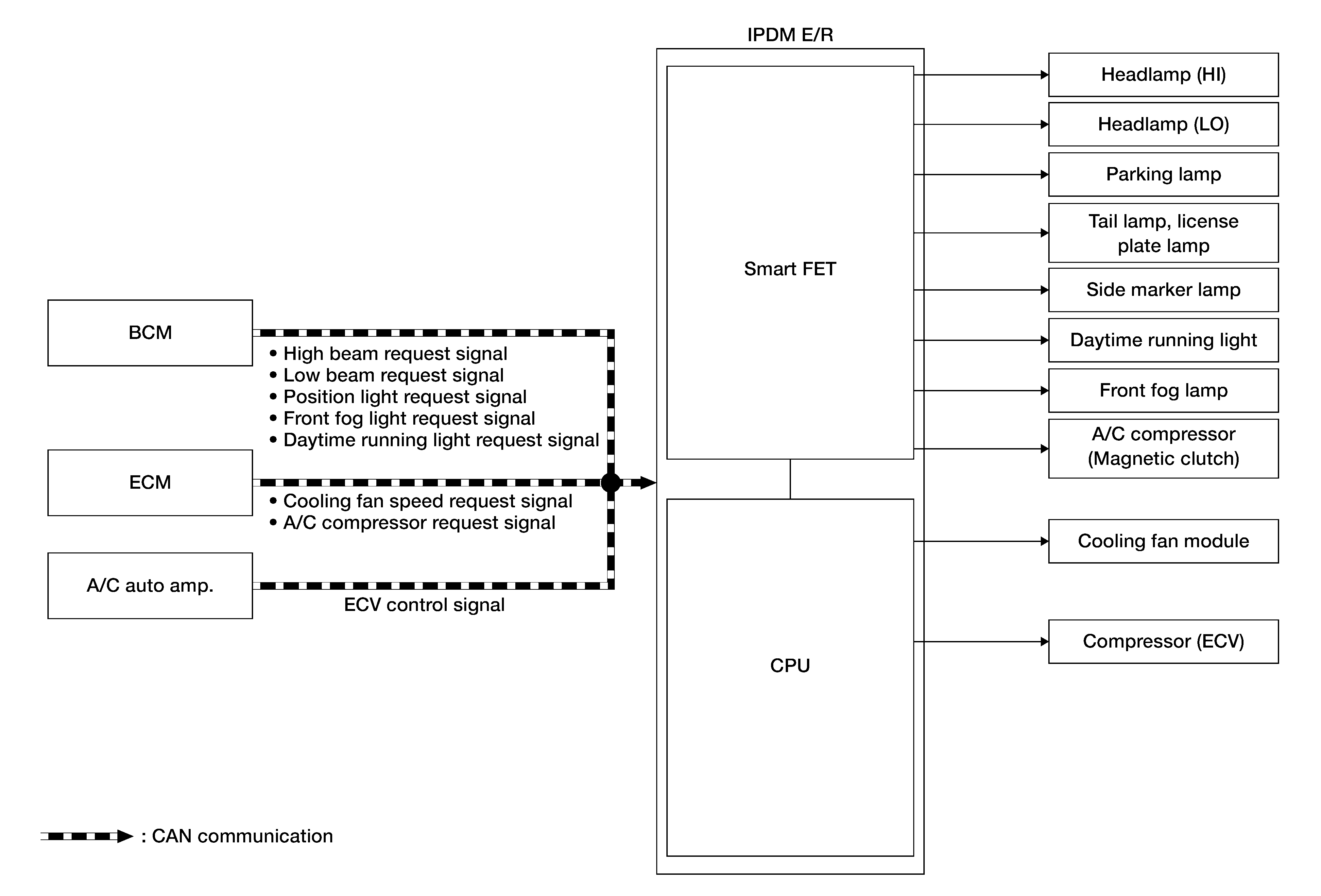
INPUT SIGNAL AND OUTPUT SIGNAL 

Major signal transmission between each unit via communication lines is shown in the following table:

Component parts

Signal description

BCM

The BCM transmits the ON/OFF request signal for each lamp to IPDM E/R via CAN communication.

ECM

  • The ECM calculates the cooling level, and transmits the cooling fan speed request signal to the IPDM E/R via CAN communication.
  • The ECM transmits the A/C compressor request signal to the IPDM E/R via CAN communication according to the status of the engine and refrigerant pressure.

A/C auto amp. 1

The A/C auto amp. 1 or A/C amp. 2 transmits the ECV control signal to the IPDM E/R via CAN communication.

A/C amp. 2

IPDM E/R

  • The IPDM E/R controls the smart FET to control each lamp according to the control signal status of each lamp received from the BCM via CAN communication. Refer to the following:
  • The IPDM E/R controls the smart FET to control the A/C compressor (magnetic clutch) according to the A/C compressor request signal received from the ECM via CAN communication. Refer to System Description (auto A/C) or System Description (manual A/C).
  • The IPDM E/R controls the cooling fan module (cooling fan relay-3) according to the cooling fan speed request signal received from the ECM via CAN communication. Refer to System Description .
  • The IPDM E/R controls the ECV (Electrical Control Valve) according to the ECV control signal received from the A/C auto amp. 1 or A/C amp. 2 via CAN communication. Refer to System Description (auto A/C) or System Description (manual A/C).

1 : Auto A/C

2 : Manual A/C

Description

Component

Function

Smart FET

Refer to Component Description .

Headlamp (HI)

The IPDM E/R supplies power supply voltage to each lamp, and turns the each lamp ON.

Headlamp (LO)

Parking lamp

Tail lamp, license plate lamp

Daytime running light (if equipped)

Front fog lamp (if equipped)

A/C compressor (magnetic clutch)

The IPDM E/R supplies power supply voltage to the A/C compressor (magnetic clutch), and turns the magnet clutch ON.

Cooling fan module (Cooling fan relay-3)

The IPDM E/R controls each actuator.

Compressor (ECV)