LEMON Manuals: Even more car manuals for everyone: 1960-2025
Home >> Toyota >> 1991 >> Land Cruiser >> Repair and Diagnosis >> Transmission >> Automatic Trans >> Shift Interlock Systems >> Description
April 5, 2026: LEMON Manuals is launched! Read the announcement.

Shift Interlock Systems: Description

On all models except Corolla, transmission is equipped with a electronically controlled shift lock and key lock system. See Fig 1. On Corolla models, a cable operated key lock system is used along with a electronically controlled shift lock system. See Fig 1. On all models, shift lock system prevents shift lever from being moved from Park unless brake pedal is depressed. In case of a malfunction, shift lever can be released by depressing shift lock override button, located near shift lever. Key lock system prevents ignition key from being moved from ACC to LOCK position on ignition switch unless shift lever is in Park.

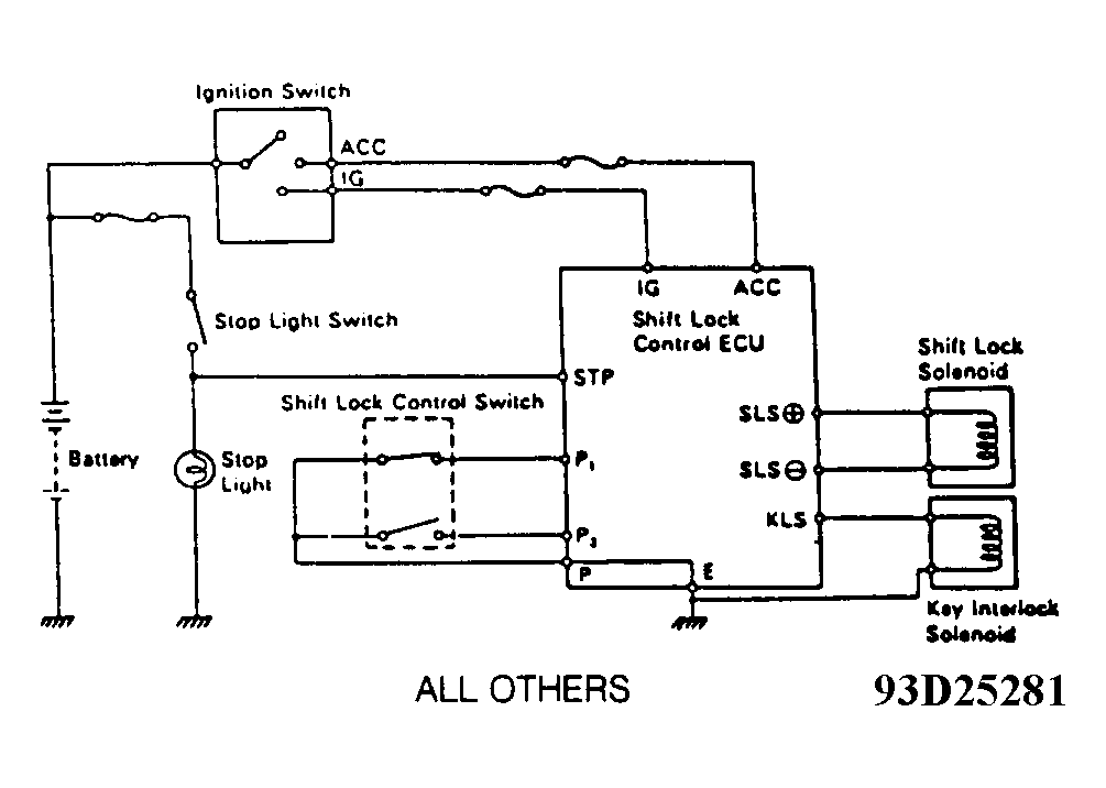
System consists of brakelight switch, key interlock solenoid (except Corolla), shift lock control switch, shift lock Electronic Control Unit (ECU), shift lock solenoid and shift lock override button. See Figure.

NOTE: Shift lock Electronic Control Unit is referred to as ECU.
Fig 1: Shift & Key Lock System Wiring Diagram (Corolla)
G93C25280Courtesy of © TOYOTA, LICENSE AGREEMENT TMS1002
Fig 2: Shift & Key Lock System Wiring Diagram (All Others)
G93D25281Courtesy of © TOYOTA, LICENSE AGREEMENT TMS1002