LEMON Manuals: Even more car manuals for everyone: 1960-2025
Home >> Toyota >> 2002 >> Camry LE, 3.0 F >> Repair and Diagnosis >> Body & Frame >> Windows >> Power Window Control System >> Back Window Glass >> Replacement
April 5, 2026: LEMON Manuals is launched! Read the announcement.

Back Window Glass: Replacement

  1. Remove rear seat cushion assembly. See the following:
    • For REAR SEAT (TMC MADE), see step 1 under OVERHAUL .
    • For REAR SEAT (TMKK MADE), see step 1 under OVERHAUL .
  2. Remove rear seat back assembly. See the following:
    • For REAR SEAT (TMC MADE), see step 4 under OVERHAUL .
    • For REAR SEAT (TMKK MADE), see step 4 under OVERHAUL .
  3. Remove weatherstrip, RR door opening trim, RH.
  4. Remove weatherstrip, RR door opening trim, LH.
  5. Remove roof side garnish inner RH (w/o curtain shield air bag).
  6. Remove roof side garnish inner LH (w/o curtain shield air bag).
  7. Remove roof side garnish inner RH (w/ curtain shield air bag).
  8. Remove roof side garnish inner LH (w/ curtain shield air bag).
  9. Remove roof headlining assembly.
  10. Remove center stop lamp assembly.
  11. Remove package tray trim panel assembly. See REAR SEAT .
  12. Remove back window molding outside.
    1. Using a knife, cut off the molding as shown in Fig 1.
      Fig 1: Cutting Off Window Molding
      G02144482Courtesy of © TOYOTA, LICENSE AGREEMENT TMS1002
      NOTE: Do not damage the body with the knife.
    2. Remove the remaining molding.
      NOTE: When removing, make a cut partly, pull and remove it by hand.
  13. Remove back window glass.
    NOTE: There is a case where a 1-piece type and a 2-piece type of stoppers are installed in a vehicle type.
    Fig 2: Displaying 1-Piece & 2-Piece Type Stoppers
    G02144483Courtesy of © TOYOTA, LICENSE AGREEMENT TMS1002
    1. Push a piano wire through between the body and glass from the interior.
      Fig 3: Cutting Adhesive With Piano Wire
      G02144484Courtesy of © TOYOTA, LICENSE AGREEMENT TMS1002
    2. Apply protective tape to the outer surface to keep the surface from being scratched.
    3. (c) Tie both wire ends to wooden blocks or similar objects.
      CAUTION:
      • When separating the glass, take care not to damage the paint and interior/exterior ornaments.
      • To prevent the piano wire to be cut, do not cross it.
    4. Cut the adhesive by pulling the piano wire around it.
    5. Using a suction rubber, remove the glass.
    NOTE: Leave as much adhesive on the body as possible when cutting off the glass.
  14. Clean back window glass.
    1. Using a scraper, remove the damaged spacers and clips, dam and adhesive sticking to the glass.
      Fig 4: Cleaning Back Window
      G02144485Courtesy of © TOYOTA, LICENSE AGREEMENT TMS1002
    2. Clean the outer circumference of the glass with white gasoline.
      CAUTION:
      • Do not touch the glass after cleaning it.
      • Be careful not to damage the body.
  15. Install back window glass stopper No. 1.
    1. Install the 2 new windshield glass stoppers No. 1 to the body.
  16. Install back window glass stopper No. 2.
    1. Coat the installation part of the stopper with Primer G.
      NOTE:
      • Dry the primer coating for 3 minutes or more.
      • Do not apply too much primer.
    2. Install the 2 new windshield glass stoppers No. 2 onto the glass as shown in Fig 5.
      Fig 5: Installing New Windshield Glass Stoppers
      G02144486Courtesy of © TOYOTA, LICENSE AGREEMENT TMS1002

      A: 11.2 mm (0.44 in.) 

      B: 40 mm (1.57 in.) 

  17. Install back window glass.
    1. Clean and shape the contact surface of the vehicle's body.
      1. Using a knife, cut away any rough areas on the body.
        Fig 6: Cutting Away Rough Areas On Body
        G02144487Courtesy of © TOYOTA, LICENSE AGREEMENT TMS1002
        NOTE: Leave as much adhesive on the body as possible.
      2. Clean the cut surface of the adhesive with a piece of shop rag saturated in cleaner.
    2. Position the glass.
      1. Using a suction rubber, place the glass in the correct position.
      2. Check that all the contacting parts of the glass rim are perfectly even.
      3. Place reference marks between the glass and body.
        NOTE:
        • Check that the stoppers are attached to the body correctly.
        • When reusing the glass, check and correct the reference mark's positions.
      4. Remove the glass.
    3. Coat the contact surface of the back door with Primer M.
    4. Using a brush, coat Primer M to the exposed part of the contact surface on the vehicle side with Primer M.
      NOTE:
      • Dry the primer coating for 3 minutes or more.
      • Do not coat the adhesive with Primer M.
      • Do not apply too much Primer.
    5. Coat the contact surface of the glass with Primer G.
      1. Using a brush or sponge, coat the edge of the glass and the contact surface with Primer G.
      NOTE:
      • Dry the primer coating for 3 minutes or more.
      • Do not apply too much primer.
    6. Apply adhesive.
      1. Cut off the tip of the cartridge nozzle as shown in the illustration.
      2. Load the sealer gun with the cartridge.
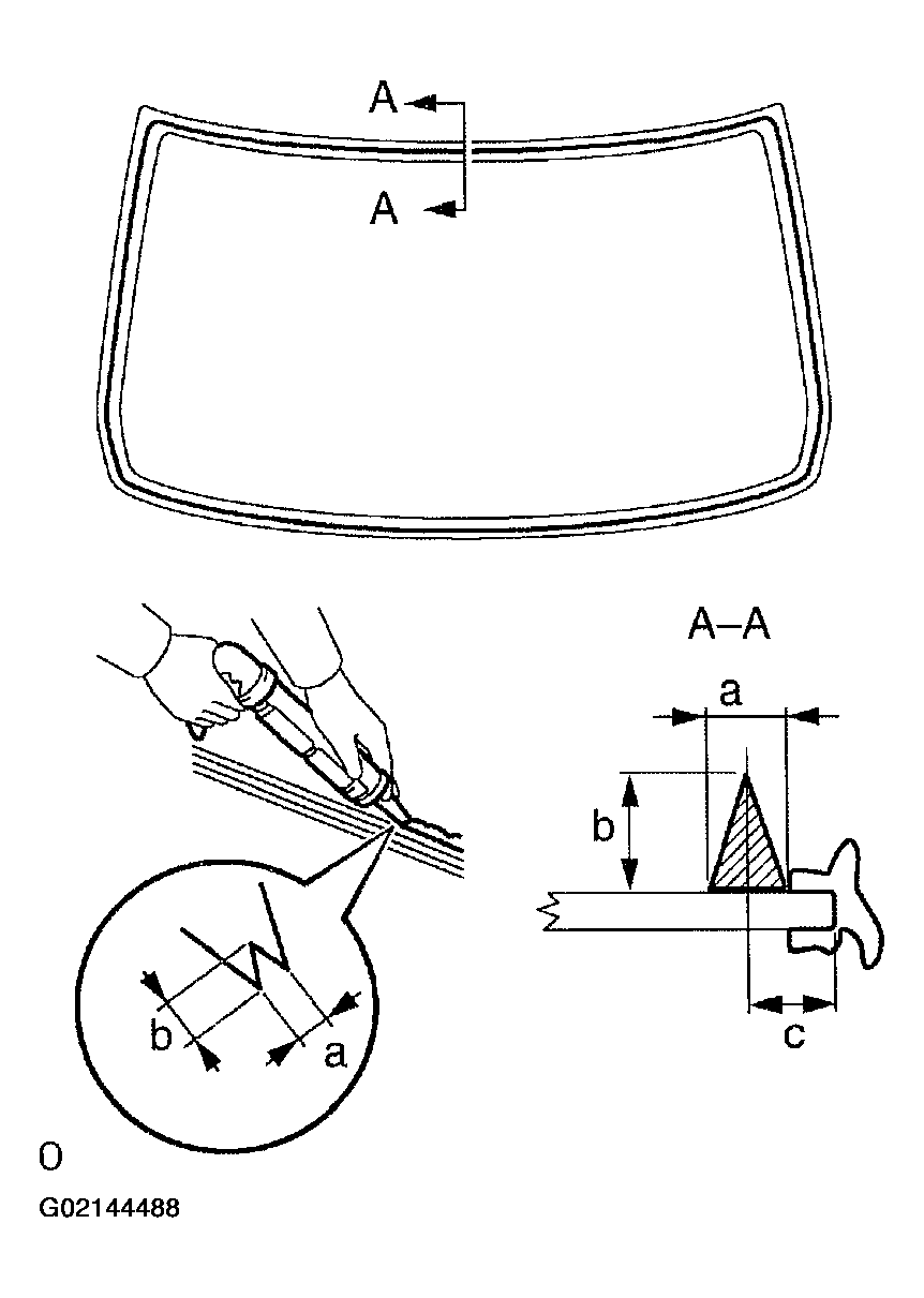
      3. Coat the glass with adhesive, as shown in Fig 7.
        Fig 7: Apply Adhesive To Glass
        G02144488Courtesy of © TOYOTA, LICENSE AGREEMENT TMS1002

        a: 8 mm (0.31 in.) 

        b: 12 mm (0.47 in.) 

        c: 6.5 mm (0.26 in.) 

    7. Install the glass.
      1. Using a suction rubber, position the glass so that the reference marks are alined, and press it in gently along the rim.
        NOTE:

        - Dry the primer coating for 3 minutes or more.

        - Check that the stoppers are attached to the body correctly.

        - Check the clearance between the body and glass.

      2. Lightly press the glass front surface for close contact.
      3. Using a scraper, remove any excess or protruding adhesive.
      NOTE: Apply adhesive on the glass rim.
  18. Install back window molding outside.
    1. Install a new windshield molding to the windshield glass before the adhesive has hardened.
    2. Hold the windshield glass in place securely with protective tape or equivalent until the adhesive has completely hardened.
    3. (c) Using a scraper, remove any excess or protruding adhesive before the adhesive has hardened.
    NOTE: Follow the manufacture's instruction about the minimum drying time, driving endurance time and etc. for the adhesive.
  19. Water-leak check and repair.
    1. Conduct a leak test after the adhesive has completely hardened.
    2. Seal any leak with sealant.