LEMON Manuals: Even more car manuals for everyone: 1960-2025
Home >> Toyota >> 2003 >> Highlander Base, 2.4 D, AWD >> Repair and Diagnosis >> General Information >> Identification >> Introduction >> Identification Information >> Vehicle Identification And Serial Numbers
April 5, 2026: LEMON Manuals is launched! Read the announcement.

Vehicle Identification And Serial Numbers

  1. VEHICLE IDENTIFICATION NUMBER 
    1. The vehicle identification number is stamped on the vehicle identification number plate and the certification label, as shown in Fig 1.
      Fig 1: Locating Vehicle Identification Number Plate & Certification Label
      G02828007Courtesy of © TOYOTA, LICENSE AGREEMENT TMS1002

      A: Vehicle Identification Number Plate 

      B: Certification Label 

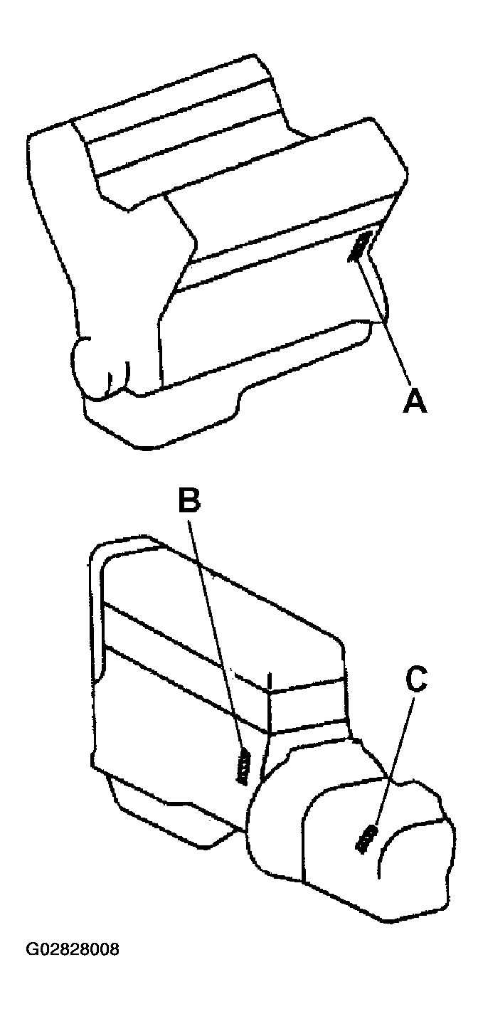
  2. ENGINE SERIAL NUMBER AND TRANSAXLE SERIAL NUMBER 
    1. The engine serial number is stamped on the cylinder block of the engine, and the transaxle serial number is stamped on the transaxle case, as shown in Fig 2.
      Fig 2: Locating Engine & Transaxle Serial Number
      G02828008Courtesy of © TOYOTA, LICENSE AGREEMENT TMS1002

      A: 1MZ-FE 

      B: 2AZ-FE 

      C: U140E, U140F, U241E