LEMON Manuals: Even more car manuals for everyone: 1960-2025
Home >> Toyota >> 2003 >> Tacoma S-Runner >> Repair and Diagnosis >> Engine Performance >> System >> Engine Control System Self Diagnostics - V6 >> Diagnostic Tests >> DTC P0441: EVAP Emission Control System Incorrect Purge Flow Or DTC P0446: EVAP Emission Control System Vent Control Circuit >> Diagnosis & Repair
April 5, 2026: LEMON Manuals is launched! Read the announcement.

Diagnosis & Repair

NOTE: Using Toyota hand-held tester or scan tool, read FREEZE FRAME data. Freeze frame data records engine conditions when malfunction is detected.

When the ENGINE RUN TIME in the freeze frame data is less than 200 seconds, carefully check the vapor pressure sensor.

For diagnosis and repair procedure with Toyota Hand-held tester, see Fig 1-Fig 21 .

For diagnosis and repair procedure with OBD II scan tool, see Fig 23-Fig 30 .

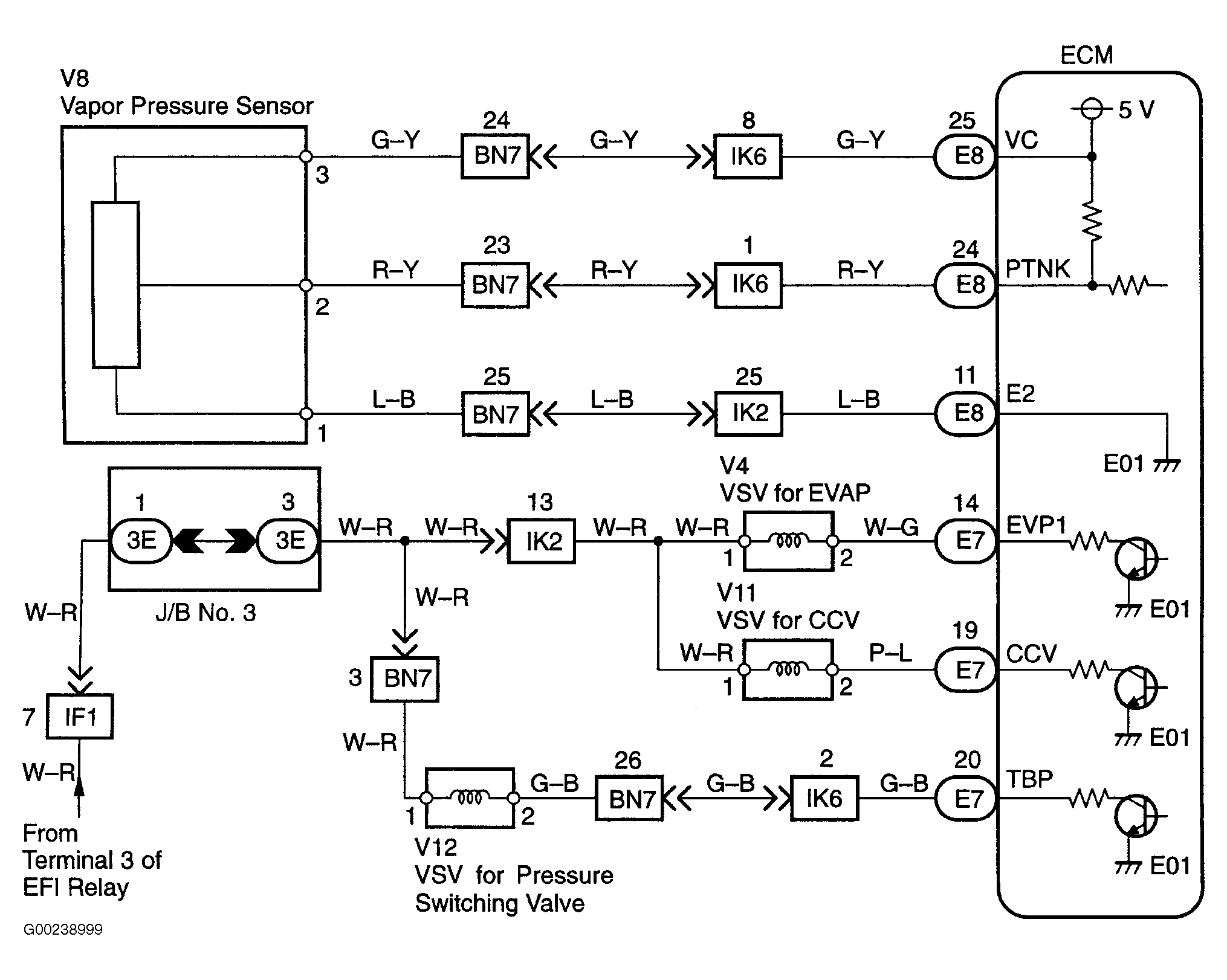
For EVAP emission system component view, see Figure. For EVAP emission control system wiring diagram, see Fig 22. For access to, or replacement of ECM, Engine Control Module (ECM) is located behind glove box. See Figure. For ECM connector view, see Figure. For vacuum or EVAP hose routing, see VACUUM DIAGRAMS article. For testing of systems or components, see BASIC DIAGNOSTIC PROCEDURES - V6 & V8 article or SYSTEM & COMPONENT TESTING - V6 & V8 article. For removal and installation of components, see REMOVAL & INSTALLATION - V6 & V8 article.

Fig 1: DTCs P0441 & P0446 Diagnostic Procedure Using Toyota Hand-Held Tester (Steps 1-3)
G00233767Courtesy of © TOYOTA, LICENSE AGREEMENT TMS1002
Fig 2: DTCs P0441 & P0446 Diagnostic Procedure Using Toyota Hand-Held Tester (Steps 4-6)
G00233768Courtesy of © TOYOTA, LICENSE AGREEMENT TMS1002
Fig 3: DTCs P0441 & P0446 Diagnostic Procedure Using Toyota Hand-Held Tester (Steps 7-9)
G00233769Courtesy of © TOYOTA, LICENSE AGREEMENT TMS1002
Fig 4: DTCs P0441 & P0446 Diagnostic Procedure Using Toyota Hand-Held Tester (Steps 10-12)
G00233770Courtesy of © TOYOTA, LICENSE AGREEMENT TMS1002
Fig 5: DTCs P0441 & P0446 Diagnostic Procedure Using Toyota Hand-Held Tester (Steps 13-15)
G00236918Courtesy of © TOYOTA, LICENSE AGREEMENT TMS1002
Fig 6: DTCs P0441 & P0446 Diagnostic Procedure Using Toyota Hand-Held Tester (Steps 16-18)
G00236919Courtesy of © TOYOTA, LICENSE AGREEMENT TMS1002
Fig 7: DTCs P0441 & P0446 Diagnostic Procedure Using Toyota Hand-Held Tester (Steps 19-20)
G00238989Courtesy of © TOYOTA, LICENSE AGREEMENT TMS1002
Fig 8: DTCs P0441 & P0446 Diagnostic Procedure Using Toyota Hand-Held Tester (Steps 21-22)
G00238990Courtesy of © TOYOTA, LICENSE AGREEMENT TMS1002
Fig 9: DTCs P0441 & P0446 Diagnostic Procedure Using Toyota Hand-Held Tester (Steps 23-24)
G00236922Courtesy of © TOYOTA, LICENSE AGREEMENT TMS1002
Fig 10: DTCs P0441 & P0446 Diagnostic Procedure Using Toyota Hand-Held Tester (Steps 25-27)
G00236923Courtesy of © TOYOTA, LICENSE AGREEMENT TMS1002
Fig 11: DTCs P0441 & P0446 Diagnostic Procedure Using Toyota Hand-Held Tester (Steps 28-30)
G00236924Courtesy of © TOYOTA, LICENSE AGREEMENT TMS1002
Fig 12: DTCs P0441 & P0446 Diagnostic Procedure Using Toyota Hand-Held Tester (Steps 31-33)
G00236925Courtesy of © TOYOTA, LICENSE AGREEMENT TMS1002
Fig 13: DTCs P0441 & P0446 Diagnostic Procedure Using Toyota Hand-Held Tester (Steps 34-36)
G00236926Courtesy of © TOYOTA, LICENSE AGREEMENT TMS1002
Fig 14: DTCs P0441 & P0446 Diagnostic Procedure Using Toyota Hand-Held Tester (Steps 37-39)
G00238991Courtesy of © TOYOTA, LICENSE AGREEMENT TMS1002
Fig 15: DTCs P0441 & P0446 Diagnostic Procedure Using Toyota Hand-Held Tester (Steps 40-41)
G00238992Courtesy of © TOYOTA, LICENSE AGREEMENT TMS1002
Fig 16: DTCs P0441 & P0446 Diagnostic Procedure Using Toyota Hand-Held Tester (Steps 42-44)
G00236929Courtesy of © TOYOTA, LICENSE AGREEMENT TMS1002
Fig 17: DTCs P0441 & P0446 Diagnostic Procedure Using Toyota Hand-Held Tester (Steps 45-46)
G00236930Courtesy of © TOYOTA, LICENSE AGREEMENT TMS1002
Fig 18: DTCs P0441 & P0446 Diagnostic Procedure Using Toyota Hand-Held Tester (Steps 47-49)
G00236931Courtesy of © TOYOTA, LICENSE AGREEMENT TMS1002
Fig 19: DTCs P0441 & P0446 Diagnostic Procedure Using Toyota Hand-Held Tester (Steps 50-52)
G00236932Courtesy of © TOYOTA, LICENSE AGREEMENT TMS1002
Fig 20: DTCs P0441 & P0446 Diagnostic Procedure Using Toyota Hand-Held Tester (Steps 53-55)
G00236933Courtesy of © TOYOTA, LICENSE AGREEMENT TMS1002
Fig 21: DTCs P0441 & P0446 Diagnostic Procedure Using Toyota Hand-Held Tester (Steps 56-58)
G00238993Courtesy of © TOYOTA, LICENSE AGREEMENT TMS1002
Fig 22: EVAP Emission Control System Wiring Diagram
G00238999Courtesy of © TOYOTA, LICENSE AGREEMENT TMS1002
Fig 23: DTCs P0441 & P0446 Diagnostic Procedure Using OBD II Scan Tool (Steps 1-3)
G00236935Courtesy of © TOYOTA, LICENSE AGREEMENT TMS1002
Fig 24: DTCs P0441 & P0446 Diagnostic Procedure Using OBD II Scan Tool (Steps 4-6)
G00236936Courtesy of © TOYOTA, LICENSE AGREEMENT TMS1002
Fig 25: DTCs P0441 & P0446 Diagnostic Procedure Using OBD II Scan Tool (Steps 7-10)
G00236937Courtesy of © TOYOTA, LICENSE AGREEMENT TMS1002
Fig 26: DTCs P0441 & P0446 Diagnostic Procedure Using OBD II Scan Tool (Steps 11-12)
G00238994Courtesy of © TOYOTA, LICENSE AGREEMENT TMS1002
Fig 27: DTCs P0441 & P0446 Diagnostic Procedure Using OBD II Scan Tool (Steps 13-15)
G00238995Courtesy of © TOYOTA, LICENSE AGREEMENT TMS1002
Fig 28: DTCs P0441 & P0446 Diagnostic Procedure Using OBD II Scan Tool (Steps 16-18)
G00238996Courtesy of © TOYOTA, LICENSE AGREEMENT TMS1002
Fig 29: DTCs P0441 & P0446 Diagnostic Procedure Using OBD II Scan Tool (Steps 19-21)
G00238997Courtesy of © TOYOTA, LICENSE AGREEMENT TMS1002
Fig 30: DTCs P0441 & P0446 Diagnostic Procedure Using OBD II Scan Tool (Steps 22-24)
G00236942Courtesy of © TOYOTA, LICENSE AGREEMENT TMS1002