LEMON Manuals: Even more car manuals for everyone: 1960-2025
Home >> Toyota >> 2004 >> Matrix Base, 4WD >> Repair and Diagnosis >> External Pages >> Different car >> Section 921 (Back Window Glass) >> Replacement
April 5, 2026: LEMON Manuals is launched! Read the announcement.

Section 921 (Back Window Glass): Replacement

WARNING: This page is about a different car, the 2004 Toyota Camry Solara. However, it is still accessible from the selected car via links, so may be relevant.

HINT:

  1. REMOVE REAR SEAT CUSHION ASSY (SEE  OVERHAUL  ) 
  2. REMOVE REAR SEATBACK ASSY LH (SEE  OVERHAUL  ) 
  3. REMOVE REAR SEATBACK ASSY RH (SEE  OVERHAUL  ) 
  4. REMOVE ROOF HEADLINING ASSY (SEE  REPLACEMENT  ) 
    1. Remove the seatback hinge LH and RH.
    2. Remove the front door scuff plate LH and RH.
    3. Remove the quarter trim panel front LH and RH.
    4. Remove the center pillar garnish LH and RH.
    5. Remove the roof side garnish inner LH and RH.
    6. Remove the quarter trim panel upper LH and RH.
    7. Partially remove the roof headlining.

      HINT:

      It is not necessary to completely remove the roof headlining. Slightly lower the rear section of the roof headlining so that the back window glass can be removed later in step  7.

  5. REMOVE PACKAGE TRAY TRIM PANEL ASSY (See  REPLACEMENT  ) 
  6. REMOVE BACK WINDOW MOULDING OUTSIDE 
    1. Using a knife, cut off the moulding, as shown in Fig 1 .
      NOTE: Be careful not to damage the vehicle body with the knife. 
    2. Remove the remaining moulding.

      HINT:

      Make a partial cut in the moulding. Then, pull and remove it by hand.

      Fig 1: Cutting Off Moulding Using Knife
      G03553299Courtesy of © TOYOTA, LICENSE AGREEMENT TMS1002
  7. REMOVE BACK WINDOW GLASS 
    1. From the interior, insert piano wires between the vehicle body and glass, as shown in Fig 2 .
    2. Tie objects that can serve as handles (for example, wooden blocks) to all wire ends.
      Fig 2: Inserting Piano Wires Between Vehicle Body & Glass
      G03553300Courtesy of © TOYOTA, LICENSE AGREEMENT TMS1002

      HINT:

      Apply protective tape to the outer surface of the vehicle body to prevent its surface from being scratched.

      NOTE: When separating the glass from the vehicle, be careful not to damage the vehicle's paint or interior/exterior ornaments. 
      Fig 3: Applying Protective Tape To Outer Surface Of Vehicle Body
      G03553301Courtesy of © TOYOTA, LICENSE AGREEMENT TMS1002
    3. Cut through the adhesive by pulling the piano wire around the glass.
    4. Disengage the stoppers.
    5. Using a suction cup, remove the glass.
      NOTE: Leave as much adhesive on the vehicle body as possible when removing the glass. 
  8. CLEAN BACK WINDOW GLASS 
    1. Using a scraper, remove the damaged stoppers and adhesive sticking to the glass.
      Fig 4: Removing Damaged Stoppers & Adhesive Sticking To Glass
      G03553302Courtesy of © TOYOTA, LICENSE AGREEMENT TMS1002
    2. Clean the outer circumference of the glass with white gasoline.
      NOTE:
      • Do not touch the glass surface after cleaning it. 
      • Even if using new glass, clean the glass with white gasoline. 
  9. CLEAN VEHICLE BODY 
    1. Clean and shape the contact surface of the vehicle body.
      1. Using a knife, cut away any rough adhesive on the contact surface of the vehicle body to ensure the appropriate surface shape.
        NOTE: Be careful not to damage the vehicle body. 

        HINT:

        Leave as much adhesive on the vehicle body as possible.

        Fig 5: Cutting Rough Adhesive On Contact Surface Of Vehicle Body
        G03553303Courtesy of © TOYOTA, LICENSE AGREEMENT TMS1002
      2. Clean the contact surface of the vehicle body with a piece of shop rag saturated with cleaner.

        HINT:

        Even if all the adhesive has been removed, clean the vehicle body.

  10. INSTALL BACK WINDOW GLASS STOPPER NO.2 
    1. Coat the installation part of the stopper with Primer G.
      NOTE:
      • Allow the primer coating to dry for 3 minutes or more 
      • Throw away any leftover Primer G. 
      • Do not apply too much Primer G. 
    2. Install 2 new stoppers onto the glass, as shown in Fig 6 .
      Fig 6: Identifying Ceramic Notch
      G03553304Courtesy of © TOYOTA, LICENSE AGREEMENT TMS1002

      Specification: 

      SPECIFICATION TABLE

      Area Measurement
      A 40.0 mm (1.575 in.)
      B 11.0 mm (0.433 in.)
      C 12.5 mm (0.492 in.)
  11. INSTALL BACK WINDOW GLASS STOPPER NO.1 
    1. Install 2 new stoppers to the vehicle body, as shown in Fig 7 .
      Fig 7: Installing Back Window Glass Stopper
      G03553305Courtesy of © TOYOTA, LICENSE AGREEMENT TMS1002
  12. INSTALL BACK WINDOW MOULDING OUTSIDE 
    1. Using a brush or sponge, coat the edge of the glass and the contact surface with Primer G.
      NOTE:
      • Allow the primer coating to dry for 3 minutes or more. 
      • Throw away any leftover Primer G. 
      • Do not apply too much Primer G. 
    2. Install the moulding.
  13. INSTALL BACK WINDOW GLASS 
    1. Position the glass.
      1. Using a suction cup, place the glass in the correct position.
      2. Check that the whole contact surface of the glass rim is perfectly even.
      3. Place reference marks between the glass and vehicle body.
        NOTE: Check that the stoppers are attached to the vehicle body correctly. 
        Fig 8: Placing Reference Marks Between Glass & Vehicle Body
        G03553306Courtesy of © TOYOTA, LICENSE AGREEMENT TMS1002

        HINT:

        When reusing the glass, check and correct the reference mark positions.

      4. Using a suction cup, remove the glass.
    2. Using a brush, coat the exposed part of the vehicle body with Primer M.
      NOTE:
      • Allow the primer coating to dry for 3 minutes or more. 
      • Do not coat the adhesive with Primer M. 
      • Throw away any leftover Primer M. 
      • Do not apply too much Primer M. 
        Fig 9: Using Brush To Coat Exposed Part Of Vehicle Body With Primer M
        G03553307Courtesy of © TOYOTA, LICENSE AGREEMENT TMS1002
    3. Using a brush or sponge, coat the edge of the glass and the contact surface with Primer G.

      HINT:

      If an area other than that specified is coated by accident, wipe off the primer with a clean shop rag before it dries.

      NOTE:
      • Allow the primer coating to dry for 3 minutes or more. 
      • Throw away any leftover Primer G. 
      • Do not apply too much Primer G. 
        Fig 10: Using Brush Or Sponge To Coat Edge Of Glass & Contact Surface With Primer G
        G03553308Courtesy of © TOYOTA, LICENSE AGREEMENT TMS1002
    4. Apply adhesive.

      Adhesive:  Part No. 08850-00801 or equivalent

      1. Cut off the tip of the cartridge nozzle, as shown in Fig 11 .

        HINT:

        After cutting off the tip, use all adhesive within the time described in TEMPERATURE TABLE  .

        Usage time frame: 

        TEMPERATURE TABLE

        Temperature Usage Timeframe
        35°C (95°F) 15 minutes
        20°C (68°F) 1 hour 40 minutes
        5°C (41°F) 8 hours
      2. Load the sealer gun with the cartridge.
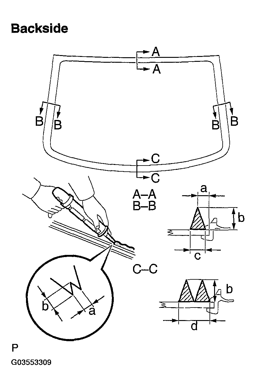
      3. Coat the glass with adhesive, as shown in Fig 11 .

        Specification: 

        SPECIFICATION TABLE

        Area Measurement
        a 6.5 mm (0.256 in.)
        b 12.0 mm (0.472 in.)
        c 8.0 mm (0.315 in.)
        d 16.0 mm (0.635 in.)
        Fig 11: Applying Adhesive
        G03553309Courtesy of © TOYOTA, LICENSE AGREEMENT TMS1002
    5. Install the glass.
      1. Using a suction cup, position the glass so that the reference marks are aligned. Press it in gently along the rim.
        NOTE:
        • Allow the primer coating to dry for 3 minutes or more. 
        • Check that the stoppers are attached to the vehicle body correctly. 
        • Check that the vehicle body and glass have a small gap between them. 
        Fig 12: Positioning Glass Aligning Reference Marks
        G03553310Courtesy of © TOYOTA, LICENSE AGREEMENT TMS1002
      2. Lightly press the front surface of the glass to ensure that the glass is securely fit to the vehicle body.
      3. Using a scraper, remove any excess or protruding adhesive.

        HINT:

        Apply adhesive onto the glass rim.

        Fig 13: Removing Excess Or Protruding Adhesive
        G03553311Courtesy of © TOYOTA, LICENSE AGREEMENT TMS1002
        NOTE: Do not drive the vehicle for the time amount of described in  TEMPERATURE TABLE   . 

        Minimum time: 

        TEMPERATURE TABLE

        Temperature Minimum time prior to driving vehicle
        35°C (95°F) 1 hour 30 minutes
        20°C (68°F) 5 hours
        5°C (41°F) 24 hours
  14. CHECK FOR LEAKS AND REPAIR 
    1. Conduct a leak test after the adhesive has completely hardened.
    2. Seal any leaks with auto glass sealer.