LEMON Manuals: Even more car manuals for everyone: 1960-2025
Home >> Toyota >> 2004 >> Matrix Base, FWD, Automatic >> Repair and Diagnosis >> External Pages >> Different variant/trim >> Section 4 (Engine Control System (SFI) - Diagnostics (2ZZ-GE)) >> DTC P0617: Starter Relay Circuit High >> Inspection Procedure >> Notes
April 5, 2026: LEMON Manuals is launched! Read the announcement.

Inspection Procedure: Notes

WARNING: This page is about a different variant/trim than selected.

HINT:

hand held tester: 

  1. READ VALUE OF hand held TESTER (STARTER SIGNAL) 
    1. Connect the hand held tester or OBD II scan tool to the DLC3.
    2. Turn the ignition switch ON and push the hand held tester main switch ON.
    3. Select the item "DIAGNOSIS/ENHANCED OBD II/DATA LIST/ALL/STARTER SIG" and read the value displayed the hand held tester.

      Result: 

      IGNITION SWITCH POSITION

      Ignition Switch Position ON START
      STA Signal OFF ON
    1. OK: REPLACE ECM (See  REPLACEMENT  ) 
    2. NG: Go to next step. 
  2. INSPECT PARK/NEUTRAL POSITION SWITCH OR CLUTCH START SWITCH 
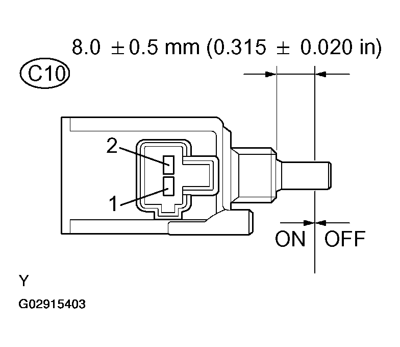
    1. Inspect the clutch start switch.
      1. Disconnect the C8 clutch start switch connector.
      2. Check for continuity between the terminals when the switch is ON and OFF.

        Standard: 

        Fig 1: Tester Connection Specified Condition Table
        G02915403Courtesy of © TOYOTA, LICENSE AGREEMENT TMS1002
        Fig 2: Inspecting Park/neutral Position Switch Or Clutch Start Switch
        G02915404Courtesy of © TOYOTA, LICENSE AGREEMENT TMS1002
      3. Reconnect the clutch start switch connector.
    1. NG: REPLACE PARK/NEUTRAL POSITION SWITCH CLUTCH START SWITCH (GO TO NEXT STEP 3 AFTER THE REPLACEMENT) 
    2. OK: Go to next step. 
  3. READ VALUE OF hand held TESTER (STARTER SIGNAL) 
    1. Connect the hand held tester to or OBD II scan tool the DLC3.
    2. Turn the ignition switch ON and push the hand held tester main switch ON.
    3. Select the item "DIAGNOSIS/ENHANCED OBD II/DATA LIST/ALL/STARTER SIG" and read its value displayed the hand held tester.

      Result: 

      IGNITION SWITCH POSITION

      Ignition Switch Position ON START
      STA Signal OFF ON
    1. OK: SYSTEM OK 
    2. NG: Go to next step. 
  4. INSPECT IGNITION OR STARTER SWITCH ASSY 
    1. Check for continuity between the connector terminals shown in the chart below.
      CONNECTOR TERMINALS CONTINUITY

      Switch Position Tester Connection Specified Condition
      LOCK All Terminals No continuity
      ACC 1-3 Continuity
      ON 1-2, 1-3, 2-3, 5-6 Continuity
      START 1-2, 4-5, 4-6, 5-6 Continuity
      Fig 3: Identifying Ignition Switch Connector Terminals
      G02915405Courtesy of © TOYOTA, LICENSE AGREEMENT TMS1002
    1. NG: REPLACE IGNITION OR STARTER SWITCH ASSY (GO TO NEXT STEP 5 AFTER THE REPLACEMENT 
    2. OK: Go to next step. 
  5. READ VALUE OF hand held TESTER (STARTER SIGNAL) 
    1. Connect the hand held tester or OBD II scan tool to the DLC3.
    2. Turn the ignition switch ON and push the hand held tester main switch ON.
    3. Select the item "DIAGNOSIS/ENHANCED OBD II/DATA LIST/ALL/STARTER SIG" and read its value displayed the hand held tester.

      Result: 

      IGNITION SWITCH POSITION

      Ignition Switch Position ON START
      STA Signal OFF ON
    1. OK: SYSTEM OK 
    2. NG: REPAIR OR REPLACE HARNESS AND CONNECTOR