LEMON Manuals: Even more car manuals for everyone: 1960-2025
Home >> Toyota >> 2005 >> Prius >> Repair and Diagnosis >> Body & Frame >> Windows >> Windshield System, WINDOWGLASS System & Mirror System >> Windshield Glass >> Replacement
April 5, 2026: LEMON Manuals is launched! Read the announcement.

Windshield Glass: Replacement

HINT:

  1. REMOVE ROOF HEADLINING ASSY (See  REPLACEMENT  ) 
    1. Remove the front door scuff plate LH and RH.
    2. Remove the cowl side trim board LH and RH.
    3. Remove the front door opening trim weatherstrip LH and RH.
    4. Remove the front pillar garnish corner piece LH and RH.
    5. Remove the front pillar garnish LH and RH.
    6. Remove the visor LH and RH.
    7. Remove the 2 visor holders.
    8. Remove the assist grip.
    9. Remove the map lamp.
    10. Partially remove the roof headlining.

    HINT:

    It is not necessary to remove the roof headlining completely. Slightly lower the front section of the roof headlining so that the windshield glass can be removed later in step 5.

  2. REMOVE INNER REAR VIEW MIRROR ASSY (See  INNER REAR VIEW MIRROR ASSY   ) 
  3. REMOVE COWL TOP VENTILATOR LOUVER (See  WINDSHIELD WIPER MOTOR ASSY  ) 
    1. Remove the hood cowl top seal.
    2. Remove the front wiper arm LH and RH.
    3. Remove the cowl top ventilator louver LH and RH.
    Fig 1: Removing Windshield Moulding Outside
    G02591844Courtesy of © TOYOTA, LICENSE AGREEMENT TMS1002
  4. REMOVE WINDSHIELD MOULDING OUTSIDE 
    1. Using a knife, cut off the moulding as shown in Fig 2 .
      Fig 2: Inserting Piano Wires Between Vehicle Body And Glass
      G02591845Courtesy of © TOYOTA, LICENSE AGREEMENT TMS1002
      NOTE: Be careful not to damage the vehicle body with the knife. 
    2. Remove the remaining moulding.

    HINT:

    Make a partial cut in the moulding. Then pull and remove it by hand.

  5. REMOVE WINDSHIELD GLASS 
    1. From the interior, insert piano wires between the vehicle body and glass, as shown in Fig 3 .
    2. Tie objects that can serve as handles (for example, wooden blocks) to all wire ends.

      HINT:

      Apply protective tape to the outer surface of the vehicle body to prevent its surface from being scratched.

      NOTE:
      • When separating the glass from the vehicle, be careful not to damage the vehicle's paint or interior/exterior ornaments. 
      • To prevent the instrument panel from being scratched when removing the glass, place a plastic sheet between the piano wire and instrument panel. 
    3. Cut through the adhesive by pulling the piano wire around the glass.
    4. Disengage the stoppers.
    5. Using a suction cup, remove the glass.
    NOTE: Leave as much adhesive on the vehicle body as possible when removing the glass. 
    Fig 3: Identifying Plastic Sheet
    G02591846Courtesy of © TOYOTA, LICENSE AGREEMENT TMS1002
  6. CLEAN WINDSHIELD GLASS 
    1. Using a scraper, remove the damaged stoppers, dam and adhesive sticking to the glass.
    2. Clean the outer edges of the glass with white gasoline.
    NOTE:
    • Do not touch the glass surface after cleaning it. 
    • Even if using new glass, clean the glass with white gasoline. 
  7. CLEAN VEHICLE BODY 
    Fig 4: Cleaning Windshield Glass
    G02591847Courtesy of © TOYOTA, LICENSE AGREEMENT TMS1002
    1. Clean and shape the contact surface of the vehicle body.
      1. On the contact surface of the vehicle body, use a knife to cut away excess adhesive as shown in Fig 4 .

        HINT:

        Leave as much adhesive on the vehicle body as possible.

        NOTE: Be careful not to damage the vehicle body. 
      2. Clean the contact surface of the vehicle body with cleaner.

      HINT:

      Even if all the adhesive has been removed, clean the vehicle body.

    Fig 5: Cleaning Vehicle Body
    G02591848Courtesy of © TOYOTA, LICENSE AGREEMENT TMS1002
  8. INSTALL WINDSHIELD GLASS STOPPER NO. 2 
    1. Apply primer G to the glass where the stoppers will be installed.
      NOTE:
      • Allow the primer to dry for 3 minutes or more. 
      • Throw away any leftover Primer G. 
      • Do not apply too much Primer G. 
    2. Install 2 new stoppers onto the glass as shown in Fig 6 .
    Fig 6: Installing 2 New Stoppers Onto Glass
    G02591849Courtesy of © TOYOTA, LICENSE AGREEMENT TMS1002

    Specification: 

    AREA MEASUREMENT SPECIFICATIONS

    Area Measurement
    A 40.0 mm (1.575 in.)
    B 7.7 mm (0.303 in.)
    C 12.5 mm (0.492 in.)
  9. INSTALL WINDSHIELD GLASS STOPPER NO. 1 
    Fig 7: Installing Windshield Glass Stopper No. 1
    G02591850Courtesy of © TOYOTA, LICENSE AGREEMENT TMS1002
    1. Install 2 new stoppers to the vehicle body as shown in Fig 7 .
  10. INSTALL WINDSHIELD GLASS ADHESIVE DAM 
    1. Apply Primer G to the glass where the adhesive dam will be installed.
      NOTE:
      • Allow the primer to dry for 3 minutes or more. 
      • Throw away any leftover Primer G. 
      • Do not apply too much Primer G. 
    2. Remove the peeling paper from the adhesive part of the dam (adhesive side) to the glass (Primer G area) except where the stoppers are installed, as shown in Fig 8 .
    Fig 8: Removing Peeling Paper From Adhesive Part Of Dam
    G02591851Courtesy of © TOYOTA, LICENSE AGREEMENT TMS1002

    Specification: 

    AREA MEASUREMENT SPECIFICATIONS

    Area Measurement
    a 7.0 mm (0.276 in.)
    b 27.5 mm (1.083 in.)
  11. INSTALL WINDSHIELD GLASS 
    1. Position the glass.
      1. Using a suction cup, place the glass in the correct position.
      2. Check that the entire contact surface of the glass rim is perfectly even.
      3. Place matchmarks over the glass and vehicle body on the locations indicated in Fig 9 .
        Fig 9: Installing Windshield Glass
        G02591852Courtesy of © TOYOTA, LICENSE AGREEMENT TMS1002

        HINT:

        • Placing matchmarks is only necessary if the glass being installed is new. If a previously used glass is being installed, matchmarks should already be present.
        • When reusing the glass, check and correct the matchmark positions.
        NOTE: Check that the stoppers are attached to the vehicle body correctly. 
      4. Using a suction cup, remove the glass.
      Fig 10: Coating Exposed Part Of Vehicle Body With Primer M
      G02591853Courtesy of © TOYOTA, LICENSE AGREEMENT TMS1002
    2. Using a brush, coat the exposed part of the vehicle body with Primer M.
      NOTE:
      • Allow the primer to dry for 3 minutes or more. 
      • Do not coat the adhesive with Primer M. 
      • Throw away any leftover Primer M. 
      • Do not apply too much Primer M. 
    3. Using a brush or sponge, coat the edge of the glass and the contact surface with Primer G.

      HINT:

      If Primer G is applied to an area other than that which is specified, wipe off the primer with cloth before it dries.

      NOTE:
      • Allow the primer to dry for 3 minutes or more. 
      • Throw away any leftover Primer G. 
      • Do not apply too much Primer G. 
      Fig 11: Coating Edge Of Glass And Contact Surface With Primer G
      G02591854Courtesy of © TOYOTA, LICENSE AGREEMENT TMS1002
    4. Apply adhesive.

      Adhesive: Part No. 08850-00801 or equivalent 

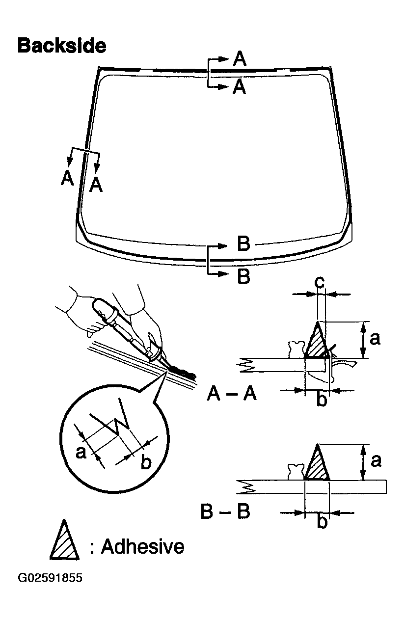
      1. Cut off the tip of the cartridge nozzle as shown in Fig 12 .
        Fig 12: Cutting Off Tip Of Cartridge Nozzle
        G02591855Courtesy of © TOYOTA, LICENSE AGREEMENT TMS1002

        HINT:

        After cutting off the tip, use all adhesive within the time written in the table below.

        Usage time frame: 

        TEMPERATURE SPECIFICATIONS

        Temperature Usage Time frame
        35°C(95°F) 15 minutes
        20°C (68°F) 1 hour 40 minutes
        5°C(41°F) 8 hours
      2. Load the sealer gun with the cartridge.
      3. Coat the glass with adhesive as shown in Fig 13 .

      Specification: 

      AREA MEASUREMENT SPECIFICATIONS

      Area Measurement
      a 12.5 mm (0.492 in.)
      b 8.0 mm (0.315 in.)
      c 3.0 mm (0.118 in.)
    5. Install the glass to the vehicle body.
      1. Using a suction cup, position the glass so that the matchmarks are aligned. Press it in gently along the rim.
        NOTE:
        • Check that the stoppers are attached to the vehicle body correctly. 
        • Check that the vehicle body and glass have a small gap between them. 
      2. Lightly press the front surface of the glass to ensure that the glass is securely fit to the vehicle body.
        Fig 13: Installing Glass To Vehicle Body
        G02591856Courtesy of © TOYOTA, LICENSE AGREEMENT TMS1002
      3. Using a scraper, remove any excess or protruding adhesive.

      HINT:

      Apply adhesive onto the glass rim.

    Fig 14: Removing Excess Or Protruding Adhesive
    G02591857Courtesy of © TOYOTA, LICENSE AGREEMENT TMS1002
  12. INSTALL WINDSHIELD MOULDING OUTSIDE 
    1. Using a brush or sponge, coat the edge of the glass and the contact surface with Primer G.
      NOTE:
      • Allow the primer to dry for 3 minutes or more. 
      • Throw away any leftover Primer G. 
      • Do not apply too much Primer G. 
    2. Install the moulding before the adhesive dries.
    NOTE: Do not drive the vehicle for the amount of time written in the table below. 

    Minimum time: 

    TEMPERATURE SPECIFICATIONS

    Temperature Minimum time prior to driving vehicle
    35°C(95°F) 1 hour 30 minutes
    20°C(68°F) 5 hours
    5Prime°C(41°F) 24 hours
  13. CHECK FOR LEAKS AND REPAIR 
    1. Conduct a leak test after the adhesive has completely hardened.
    2. Seal any leaks with auto glass sealer.