LEMON Manuals: Even more car manuals for everyone: 1960-2025
Home >> Toyota >> 2006 >> Sienna LE, AWD >> Repair and Diagnosis >> Steering >> Steering Column >> Steering Column >> Steering System >> Repair
April 5, 2026: LEMON Manuals is launched! Read the announcement.

Steering System: Repair

  1. STEERING OFF CENTER REPAIR PROCEDURE 
    1. Inspect steering wheel off center.
      1. Apply masking tape to the top center of the steering wheel and steering column upper cover.
        Fig 1: Applying Masking Tape To Top Center Of Steering Wheel And Steering Column Upper Cover
        G04498485Courtesy of © TOYOTA, LICENSE AGREEMENT TMS1002
      2. Drive the vehicle in a straight line for 100 meters at a constant speed of 35 mph (56 km/h), and hold the steering wheel to maintain the course.
      3. Draw a line on the masking tape as shown in Fig 2 .
        Fig 2: Drawing Line On Masking Tape
        G04498486Courtesy of © TOYOTA, LICENSE AGREEMENT TMS1002
      4. Turn the steering wheel to its straight position.

        HINT:

        Refer to the upper surface of the steering wheel, steering spoke and SRS airbag line for the straight position.

      5. Draw a new line on the masking tape or the steering wheel as shown in Fig 3 .
        Fig 3: Drawing Line On Masking Tape Or Steering Wheel
        G04498487Courtesy of © TOYOTA, LICENSE AGREEMENT TMS1002
      6. Measure the distance between the 2 lines on the masking tape of the steering wheel.
      7. Convert the measured distance to steering angle.

        HINT:

        • Measured distance 1 mm (0.04 in.) = Steering angle approximately 1°.
        • Make a note of the steering angle.
    2. Adjust the steering angle.
      1. Draw a line on the RH and LH tie rod and on the RH and LH rack end, which can easily be seen.
        Fig 4: Drawing Line On RH & LH Tie Rod And On RH & LH Rack End
        G04498488Courtesy of © TOYOTA, LICENSE AGREEMENT TMS1002
      2. Using a paper gauge, measure the distance from the RH and LH tie rod ends to the rack end screws.

        HINT:

        • Measure the RH side and LH side.
        • Make a note of the measured values.
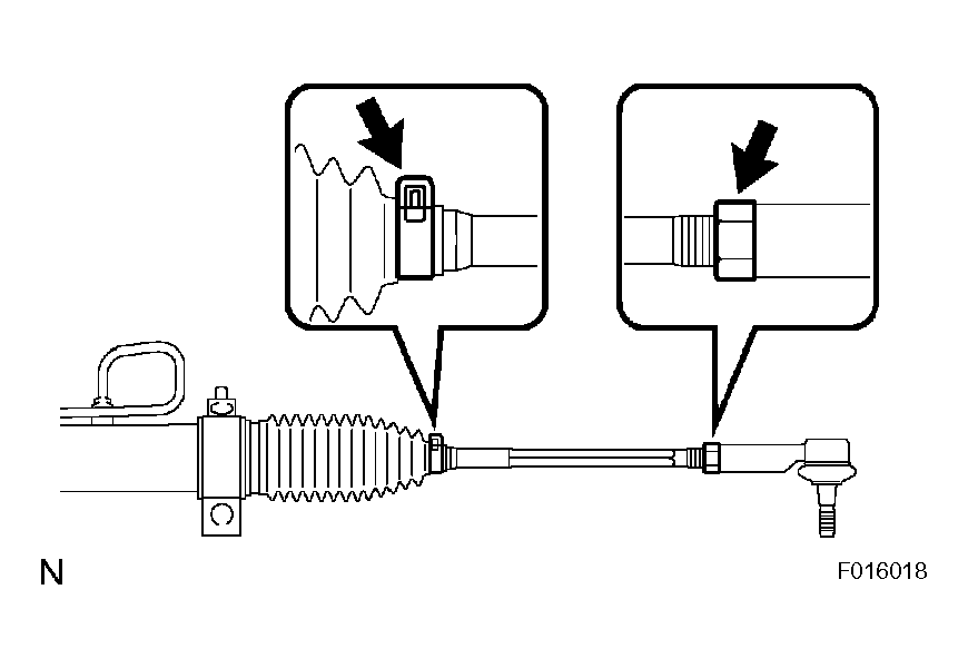
      3. Remove the RH and LH boot clips from the rack boots.
        Fig 5: Removing RH And LH Boot Clips From Rack Boots
        G04498489Courtesy of © TOYOTA, LICENSE AGREEMENT TMS1002
      4. Loosen the RH and LH lock nuts.
      5. Turn the RH and LH rack end by the same amount (but in different directions) according to the steering angle.

        HINT:

        1 turn 360° of rack end (1.5 mm (0.059 in.) horizontal movement) - 12° of steering angle.

      6. Tighten the RH and LH lock nuts.

        Torque: 74 N*m (755 kgf*cm, 55 ft.*lbf) 

        NOTE: Make sure that the difference in length between RH and LH tie rod ends and rack end screws are within 1.5 mm (0.059 in.).
      7. Install the RH and LH boot clips.